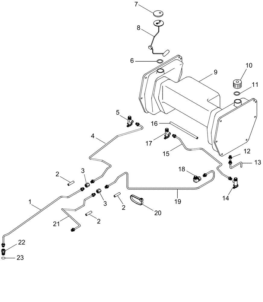
Запчасти Case IH 474 (12-03) - FUEL TANK, SUPPORTS AND PIPING Power

Схема запчастей Case IH 474 - (12-03) - FUEL TANK, SUPPORTS AND PIPING Power
1
14
7
9
15
6
2
21
16
5
2
8
13
11
2
22
18
4
20
3
23
3
12
10
19
17
FIT
1:1
100%

Артикул

Название

Примечание

Количество

1

3113614R1

PIPE ASSY.,39.1, 5.2" Length

PIPE ASSY, UNION TO FILTER

1шт.

222-1003

TUBE NUT,5/16" Tube, 45 Degree Inv Fl

NUT, 1/2-20 INVERTED FLARED TUBE - OPTIONAL W/137398

2шт.

222-1003

TUBE NUT,5/16" Tube, 45 Degree Inv Fl

NUT, 1/2-20 INVERTED FLARED TUBE - OPTIONAL W/142427

2шт.

2

536009R1

FUEL HOSE,0.31" ID x 2.50"

0.31" ID x 2.50"

3шт.

3

222-1054

HYD CONNECTOR,5/16" Inv Fl

UNION, 5/16 INVERTED FLARED TUBE - OPTIONAL W/189951

2шт.

3

189951

NUT

UNION, 5/16 INVERTED FLARED TUBE - OPTIONAL W/137414

2шт.

4

537537R1

TUBE

ASSY, UNION TO SHUTOFF VALVE

1шт.

222-1003

TUBE NUT,5/16" Tube, 45 Degree Inv Fl

NUT, 1/2-20 INVERTED FLARED TUBE - OPTIONAL W/137398

2шт.

222-1003

TUBE NUT,5/16" Tube, 45 Degree Inv Fl

NUT, 1/2-20 INVERTED FLARED TUBE - OPTIONAL W/142427

2шт.

5

528926R1

VALVE,1/2" - 20 x 3/8" - 18 NPTF

ASSY, SHUTOFF

1шт.

6

528359R1

GASKET

SENDING UNIT

1шт.

7

528360R1

CAP

COVER, SENDING UNIT

1шт.

8

529790R1

SENDER UNIT

TRANSMITTER, FUEL GAUGE SENDING

1шт.

463-1108

SCREW,Hex Hd, #10-24 x 1/2"

10-24 x 1/2 HEX HD CAP,Course threads

5шт.

440-1106

SCREW,Cross Pan Hd, #10-24 x 3/8"

10-24 x 3/8 CR REC PAN

1шт.

533199R1

SEALING WASHER

SENDING UNIT COVER SEALING

4шт.

796002R1

COPPER WASHER

WASHER SENDING UNIT COVER SEALING

1шт.

9

536C35R92

TANK ASSY, FUEL W/FILLER CAP

1шт.

9635082

NUT,5/16" - 18, Gr 5

5/16-18 HEX

8шт.

102635

NUT,3/8"-16, G5

4шт.

179814

SPACER

8шт.

179835

BOLT,Hex, 3/8" - 16 x 5/8", Gr 5, Full Thd

4шт.

103320

LOCK WASHER,5/16"

WASHER, LOCK, 5/16"

10шт.

103321

LOCK WASHER,3/8"

WASHER, LOCK, 3/8"

4шт.

179818

BOLT,Hex, 5/16" - 18 x 1", Gr 5

2шт.

10

536845R1

PLUG

CAP ASSY, FUEL TANK FILLER

1шт.

11

23977DB

GASKET

FUEL TANK FILLER CAP

1шт.

12

222-1014

HYD CONNECTOR,1/2"-20 Inv Fl x 1/8" NPT

CONNECTOR, 1/8 PT x 5/16 INVERTED FLAR

1шт.

TUBE - USED WITH UNDERSLUNG EXHAUS

1шт.

13

528923R1

TUBE

ASSY, TANK BREATHER - USED WITH UNDERSLUNG EXHAUST

1шт.

222-1003

TUBE NUT,5/16" Tube, 45 Degree Inv Fl

NUT, 1/2-20 INVERTED FLARED TUBE - OPTIONAL W/137398

1шт.

222-1003

TUBE NUT,5/16" Tube, 45 Degree Inv Fl

NUT, 1/2-20 INVERTED FLARED TUBE - OPTIONAL W/142427

1шт.

14

536002R1

VALVE

ASSY, SHUTOFF

1шт.

15

528931R1

TUBE

ASSY, CROSSOVER

1шт.

222-1003

TUBE NUT,5/16" Tube, 45 Degree Inv Fl

NUT, 1/2-20 IN VERTED FLARED TUBE - OPTIONAL W/137398

1шт.

222-1003

TUBE NUT,5/16" Tube, 45 Degree Inv Fl

NUT, 1/2-20 INVERTED FLARED TUBE - OPTIONAL W/142427

1шт.

16

530107R1

FUEL HOSE,0.31" ID x 10.00"

Balance Tube Spacer 0.31" ID x 10.00"

1шт.

17

536002R1

VALVE

ASSY, SHUTOFF

1шт.

18

137422

ELBOW

INVERTED FLARE 90 DEG

1шт.

19

537538R1

TUBE ASSY.

TUBE ASSY, FUEL RETURN REAR

1шт.

19

222-1003

TUBE NUT,5/16" Tube, 45 Degree Inv Fl

NUT, 1/2-20 INVERTED FLARED TUBE - OPTIONAL W/137398

1шт.

19

222-1003

TUBE NUT,5/16" Tube, 45 Degree Inv Fl

NUT, 1/2-20 INVERTED FLARED TUBE- OPTIONAL W/142427

1шт.

20

289862C1

CABLE TIE,3/16" x 7"

STRAP

3шт.

21

537540R1

TUBE

PIPE ASSY, FUEL RETURN FRONT

1шт.

222-1003

TUBE NUT,5/16" Tube, 45 Degree Inv Fl

NUT, 1/2-20 IN VERTED FLARED TUBE - OPTIONAL W/137398

2шт.

222-1003

TUBE NUT,5/16" Tube, 45 Degree Inv Fl

NUT, 1/2-20 IN VERTED FLARED TUBE - OPTIONAL W/142427

2шт.

22

3056600R1

ADAPTER

1шт.

23

936610R1

RING, PACKING

1шт.

ref

Part No.

English

1шт.

538393R1

FILLER CAP

PLUG, FUEL TANK VENT PIPE FLANGE - USED W/VERTICAL EXHAUST - THE FOLLOWING PARTS ARE NOT ILLUSTRATED

1шт.

Выбрано товаров: 50