Запчасти Case IH 474 (12-07) - GOVERNOR CONTROLS, BOSCH INJECTION Power

Схема запчастей Case IH 474 - (12-07) - GOVERNOR CONTROLS, BOSCH INJECTION Power
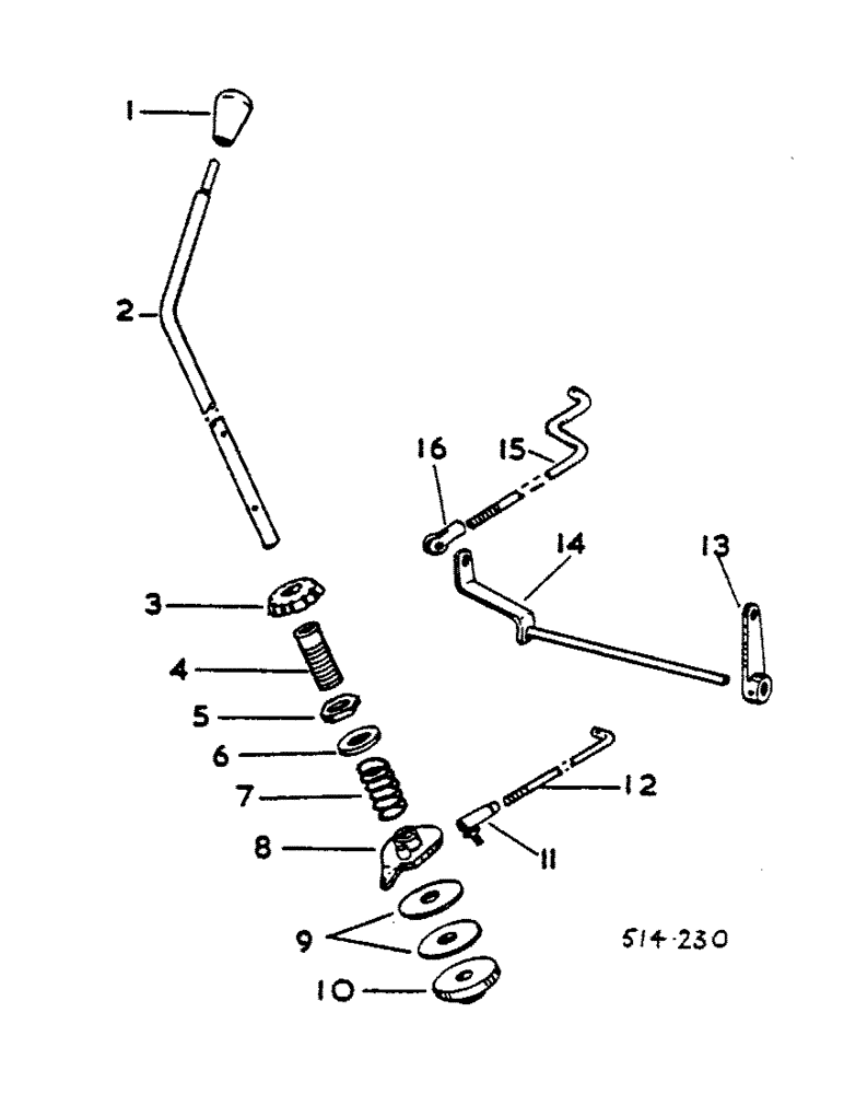
7
6
5
16
11
14
8
1
4
10
2
3
7
12
13
15
FIT
1:1
100%

Артикул

Название

Примечание

Количество

1

402584R1

BUTTON

KNOB, GOVERNOR CONTROL HANDLE

1шт.

2

528288R1

ROD

GOVERNOR CONTROL HANDLE

1шт.

3

528290R1

GUIDE RING

COLLAR, GOVERNOR CONTROL HANDLE

1шт.

222335

SET SCREW,Hex Soc, #8-32 x 3/8"

SCREW, 8-32 x 3/8 HEX SOC HD F PT

1шт.

SET

1шт.

4

65345C1

SPACER

ADJUSTABLE

1шт.

5

219758

JAM NUT,Jam, 3/4"-10, G5

3/4-16 ZND HEX JAM

1шт.

6

467750R1

WASHER

25/32 x 1-1/2 x .120 ZND

1шт.

7

65344C1

SPRING

GOVERNOR CON TROL PRESSURE

1шт.

19313R1

PIN,5/32" x 7/8", Coiled

2шт.

8

528291R2

ARM

ASSY, GOVERNOR CONTROL ROD

1шт.

9

394716R1

DISC

GOVERNOR CONTROL FRICTION

2шт.

10

528294R1

PLATE ASSY.

PLATE ASSY, GOVERNOR CONTROL FRICTION

1шт.

19313R1

PIN,5/32" x 7/8", Coiled

1шт.

11

109400

STEERING KNUCKLE

JOINT, 1/4-28 BALL - OPTIONAL W/19318R1 AND 531713

1шт.

11

19318R1

BALL JOINT

JOINT, 1/4-28 BALL - OPTIONAL W/109400 & 531713R1

1шт.

11

531713R1

BALL JOINT

JOINT, 1/4-28 BALL - OPTIONAL W/109400 & 19318R1

1шт.

114492

JAM NUT,Jam, 1/4"-28, G5

1/4-28 HEX JAM

1шт.

25-114

NUT,1/4"-28, G5

1/4-28 HEX

1шт.

103319

LOCK WASHER,1/4"

WASHER, LOCK, 1/4"

1шт.

12

528336R2

ROD

REAR GOVERNOR CONTROL

1шт.

103361

PIN, SPLIT (COTTER)

PIN, 1/16 x 1/2 COTTER

1шт.

13

539572R1

LEVER

ASSY, IDLER ARM

1шт.

19313R1

PIN,5/32" x 7/8", Coiled

1шт.

21309R1

WASHER

13/32 x 7/8 x 7 GA

1шт.

14

528325R2

ARM

ASSY, GOVERNOR CONTRCL IDLER

1шт.

15

528334R2

ROD

FRONT GOVERNOR CONTROL

1шт.

NLS

NO LONGER SERVICED

PIN, 1/16 x 1/2 COTTER

1шт.

16

213-124

ADJUSTABLE CLEVIS,1/4"-28

CLEVIS, 1/4-28 x 1-11/16 SHORT ADJ ROD

1шт.

END

1шт.

427-4077

CLEVIS PIN,1/4" x .770"

PIN, 1/4 x 51/64 ROD END

1шт.

103361

PIN, SPLIT (COTTER)

PIN, 1/16 x 1/2 COTTER

2шт.

Выбрано товаров: 32