Запчасти Case IH 474 (12-28[1]) - FUEL FILTER, TWO STAGE Power

Схема запчастей Case IH 474 - (12-28[1]) - FUEL FILTER, TWO STAGE Power
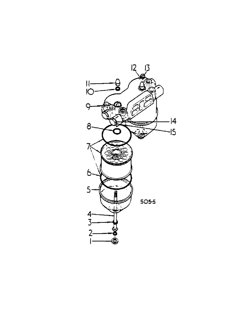
14
8
7
2
4
1
13
12
9
10
3
15
6
11
5
FIT
1:1
100%

Артикул

Название

Примечание

Количество

3144227R91

FILTER

FUEL - TWO STAGE

1шт.

179841

BOLT,Hex, 3/8" - 16 x 1 1/4", Gr 5

2шт.

933620R1

BELLEVILLE WASHER,M10 Bolt Size x 20mm OD x 1.1mm Thk

Disc M10.2 ID x 20 OD x 1.1 Thk

2шт.

1

3144475R1

SCREW

DRAIN

2шт.

2

3144476R1

RING

PACKING

2шт.

3

3144480R1

RING,8.1mm ID x 16mm OD x 2mm Thk

PACKING

2шт.

4

3144479R1

BOLT,Hex, M8 x 148mm, Cl 8.8

HOLLOW

2шт.

5

3144478R1

FILTER BOWL

GLASS

2шт.

6

3144472R1

RING

PACKING

4шт.

7

3144477R91

FILTER

PACKAGE, FILTER ELEMENT W/RINGS

2шт.

8

3078483R1

O-RING,2.5mm Thk x 15mm ID

RING, PACKING

2шт.

9

3144484R1

HEAD

1шт.

10

3144474R1

RING,8mm ID x 13mm OD x 1.5mm Thk

PACKING

2шт.

11

3144473R1

CROWN NUT

CROWN

2шт.

12

757760R1

RING

PACKING

2шт.

13

3055881R1

SCREW

AIR VENT

1шт.

14

712616R1

PLUG,Hex, M14 x 1.5

Filler, Screw, Packing Hex, M14 x 1.5

1шт.

15

933610R1

SEALING RING,M14 x 18 x 1.8

Packing M14 x 18 x 1.8

1шт.

Выбрано товаров: 18