Запчасти Case IH 474 (07-21) - REAR FRAME, COVER AND CONNECTIONS (04) - Drive Train

Схема запчастей Case IH 474 - (07-21) - REAR FRAME, COVER AND CONNECTIONS (04) - Drive Train
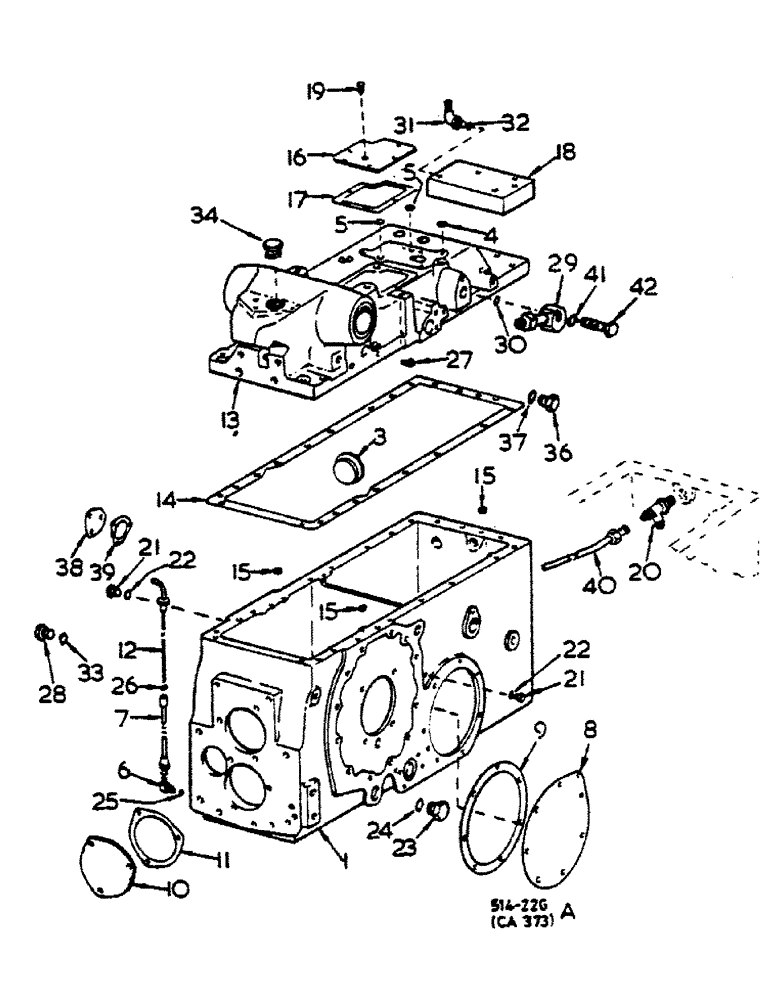
15
14
21
18
17
26
23
10
22
24
21
36
40
15
4
32
15
20
7
39
37
41
34
19
29
30
25
31
38
6
27
1
28
8
42
3
11
16
9
5
33
12
22
13
FIT
1:1
100%

Артикул

Название

Примечание

Количество

1

399848R21

FRAME

ASSY, REAR - SYNCHROMESH DRIVE TRACTORS

1шт.

1

399849R92

FRAME

ASSY, REAR - HYDROSTATIC DRIVE TRACTORS - ALSO INCLUDES BEARING 399820R91 OR 527746R91 AND 362251R91 IN RANGE TRANSMISSION

1шт.

3113103R1

PLUG

3/4-14 AUTOMOTIVE HEX HD PIPE

2шт.

349373R1

PLUG

1-1/4 CUP

1шт.

19904R1

DOWEL,1/2" x 1"

PIN, 1/2 x 1 DOWEL

2шт.

19875R1

DOWEL,5/8" x 1 1/2"

PIN, 5/8 x 1-1/2 DOWEL

4шт.

386194R1

PLUG,Cup, 3/4"

3/4 CUP

3шт.

512870R1

PLUG,Cup, 2 1/4"

2-1/4 CUP

1шт.

19846R1

DOWEL,1/2" x 1 1/4"

PIN, 1/2 x 1-1/4 DOWEL

1шт.

70129R1

PLUG,Cup, 2"

CORED HOLE

1шт.

23828R1

PLUG,Cup, 2 1/2"

2-1/2 CUP

1шт.

330222R1

PLUG,Cup, 1 7/8"

1-7/8 CUP

1шт.

151162R1

PLUG,Cup, 1 3/8"

1-3/8 CUP

1шт.

327412R1

PLUG,Cup, 13/16"

13/16 CUP - SYNCHROMESH DRIVE TRACTORS

1шт.

243120R1

SCREW

w/NYLOCK PELLET INSERT - HYDROSTATIC DRIVE TRACTORS

1шт.

23364R1

WASHER

11/32 x 1-3/4 x 7 GA C-Z - HYDROSTATIC DRIVE TRACTORS

1шт.

327413R1

PLUG

1-1/2 CUP

1шт.

538057R1

PLUG

OIL RESERVOIR - HYDROSTATIC DRIVE TRACTORS

1шт.

2

- NOT USED -

1шт.

3

527748R1

PLUG

OIL RESERVOIR - HYDROSTATIC DRIVE TRACTORS

1шт.

4

21433R1

O-RING,0.103" Thk x 0.674" ID, -115, Cl 6, 90 Duro

11/16 x 7/8 x 3/32 - AUXILIARY VALVE MANIFOLD

1шт.

5

352221R1

O-RING,0.103" Thk x 0.549" ID, -113, Cl 5, 75 Duro

9/16 x 3/4 x 3/32 - AUXILIARY VALVE MANIFOLD

2шт.

6

9410976

ELBOW,90 Degree, 9/16"-18, 37 Degree x 9/16"-18, O-Ring

9/16-18 37 DEG HYD FLARED TUBE ADJ STR THD 9U DEG OIL LEVEL CAGE TUBE

1шт.

7

528059R1

TUBE

REAR FRAME OIL LEVEL GAUGE

1шт.

8

405738R1

COVER

SIDE PTO

1шт.

179837

BOLT,Hex, 3/8" - 16 x 3/4", Gr 5

7шт.

9

405739R2

GASKET

SIDE IPTO COVER

1шт.

10

399842R1

COVER

REAR FRAME IPTO

2шт.

11

399843R2

GASKET

., IPTO COVER

2шт.

179837

BOLT,Hex, 3/8" - 16 x 3/4", Gr 5

1шт.

12

528054R1

DIPSTICK

GAUGE ASSY, REAR FRAME OIL LEVEL - SYNCHROMESH DRIVE TRACTORS

1шт.

12

528057R1

NO LONGER SERVICED

GAUGE ASSY, REAR FRAME OIL LEVEL - HYDROSTATIC DRIVE TRACTORS

1шт.

13

529381R93

COVER

ASSY, REAR FRAME

1шт.

120377

NUT,3/8" - 16, Gr 5

4шт.

120382

LOCK WASHER,Helical Spring, 3/8"

WASHER, LOCK, 3/8"

4шт.

179847

BOLT,Hex, 3/8" - 16 x 2", Gr 5

11шт.

413-630

BOLT,Hex, 3/8" - 16 x 1-7/8", Gr 5

11шт.

179850

BOLT,Hex, 3/8" - 16 x 2 3/4", Gr 5

SCREW, 3/8-16 x 2-5/8 HEX HD CAP

2шт.

179886

BOLT,Hex, 1/2" - 13 x 1 5/8", Gr 5

SCREW, 1/2-13 x 1-5/8 HEX HD CAP

2шт.

413-830

BOLT,Hex, 1/2" - 13 x 1-7/8", Gr 5

SCREW, 1/2-13 x 1-7/8 HEX HD CAP

4шт.

444695

PLUG

3/8-18 AUTOM HEX SOC HD PIPE

1шт.

444697

PLUG,Hex Soc, 3/8"-18

3/8-18 AUTOM HEX SOC HD PIPE

1шт.

444698

PLUG

3/8-18 C-Z AUTOM HEX SOC HD PIPE

1шт.

386194R1

PLUG,Cup, 3/4"

3/4 CUP

1шт.

373553R1

PLUG,Cup, 7/8"

7/8 CUP

1шт.

41600D

PLUG,Cup, 1 1/8"

1-1/8 CUP

1шт.

24469R1

PLUG,Cup, 3 1/4"

3-1/4 CUP

2шт.

103321

LOCK WASHER,3/8"

WASHER, LOCK, 3/8"

14шт.

413-818

BOLT,Hex, 1/2" - 13 x 1-1/8", Gr 5

SCREW, 1/2-13 x 1-1/8 HEX HD CAP

3шт.

102637

NUT,1/2"-13, G5

3шт.

536855R1

PLUG

3/4-16 C-Z STR HD O-RING BOSS

1шт.

570828R1

O-RING,0.087" Thk x 0.644" ID, -908, Cl 6, 90 Duro

1/2 OD TUBE - 2 USED FOR HYDROSTATIC TRACTORS

1шт.

14

538649R91

PACKAGE

REAR FRAME COVER GASKET W/

1шт.

SEALS

1шт.

15

406734R1

SEAL

TEFLON

3шт.

16

65969C1

COVER

LINKAGE ACCESS

1шт.

179791

BOLT,Hex, 1/4" - 20 x 1/2", Gr 5

5шт.

17

399996R1

GASKET

LINKAGE ACCESS COVER

1шт.

18

529382R1

MANIFOLD

AUX VALVE

1шт.

179847

BOLT,Hex, 3/8" - 16 x 2", Gr 5

4шт.

19

65970C1

BREATHER

ASSY, HYD UNIT HOUSING

1шт.

20

9411131

TEE,3/4"-16, 37 Degree x 3/4"-18, O-Ring Run

3/4-16 C-Z 37 DEG HYD FLARED TUBE

1шт.

ADJ STR THD 90 DEG TRANSFER - SYNCHROMESH DRIVE TRACTORS - PUMP OUTLET TUBE

1шт.

21

9410200

HYD CONNECTOR,7/16" - 20 JIC x 7/16" - 20 ORB

UNION, 7/16-20 C-Z 37 DEG HYD FLARED

1шт.

TUBE SHORT SWIVEL - LH BRAKE INLET TUBE

1шт.

21

9411128

TEE,7/16"-20, 37 Degree x 7/16"-20, O-Ring Run

7/16-20 C-Z 37 DEG HYD FLARED TUBE

1шт.

90 DEG

1шт.

9403369

CAP,37 Degree, 7/16"-20

7/16-20 C-Z 37 DEG HYD FLARED

1шт.

TUBE - R.H. BRAKE TUBE -

1шт.

23

9410363

PLUG

1-5/16-12 STR THD O RING BOSS

1шт.

24

296247R1

O-RING,16-1, 90 Duro, 1.171" ID x .116" Thk

1 OD TUBE

1шт.

25

364839R1

O-RING,0.078" Thk x 0.468" ID, -906, Cl 6, 90 Duro

6-1, 90 Duro, .468" ID x .078" Thk, 3/8 OD tube

1шт.

26

352219R1

O-RING,0.07" Thk x 0.239" ID, -10, Cl 5, 75 Duro

1/4 x 3/8 x 1/16

1шт.

27

82301R1

BLEEDER,3/8" - 24 x 117mm

BRAKE BLEED

2шт.

28

9410356

PLUG

7/16-20 STR THD O-RING BOSS

1шт.

29

66762C1

PIPE,0.625" OD, 3.5" Length

TUBVE ASSY, INLET UNION

1шт.

30

364885R1

O-RING,0.097" Thk x 0.755" ID, -910, Cl 6, 90 Duro

5/8 OD TUBE

1шт.

31

9410978

ELBOW,90 Degree, 7/8"-14, 37 Degree x 7/8"-14, O-Ring

7/8-14 C-Z 37 DEG HYD FLARED TUBE ADJ STR THD 90 DEG - AUXILIARY VALVE MANIFOLD

1шт.

32

364885R1

O-RING,0.097" Thk x 0.755" ID, -910, Cl 6, 90 Duro

5/8 OD TUBE

1шт.

34

20953R1

DRAIN PLUG,Sq Hd, 1 1/4"-11 1/2 NPTF

PLUG, 1-1/4 x 11 x 1/2 NPTE

1шт.

35

NOT USED

1шт.

36

9410359

PLUG

3/4-16 C-Z STR THD O-RING BOSS - SYNCHROMESH DRIVE TRACTORS

1шт.

37

570828R1

O-RING,0.087" Thk x 0.644" ID, -908, Cl 6, 90 Duro

1/2 OD TUBE - SYNCHROMESH DRIVE TRACTORS

1шт.

38

528448R1

PLATE

PARKING BRAKE PIVOT HOLE BLANKING - TRACTORS W/HAND OPERATED DRUM BRAKE

1шт.

179837

BOLT,Hex, 3/8" - 16 x 3/4", Gr 5

3шт.

103321

LOCK WASHER,3/8"

WASHER, LOCK, 3/8"

3шт.

39

528449R1

GASKET

PIVOT HOLE BLANKING PLATE

1шт.

40

66202C1

TUBE

ASSY, RETURN

1шт.

41

384376R1

O-RING,0.07" Thk x 0.926" ID, -21, Cl 6, 90 Duro

15/16 x 1-1/16 x 1/16

1шт.

42

66766C1

PLUG

INLET UNION

1шт.

22

369751R1

O-RING,0.072" Thk x 0.351" ID, -904, Cl 6, 90 Duro

4-1, 90 Duro, .351" ID x .072" Thk, 1/4 OD tube

2шт.

33

369751R1

O-RING,0.072" Thk x 0.351" ID, -904, Cl 6, 90 Duro

4-1, 90 Duro, .351" ID x .072" Thk, 1/4 OD tube

1шт.

Выбрано товаров: 92