Качественные детали и логистика
Оригинальные и аналоговые запчасти с доставкой по России, Казахстану и Беларуси
©2022 PartSell ООО "Система" ИНН 2463123282 ОГРН 1212400004838
Центральный офис: г. Красноярск, Академика Киренского, д.87, пом.4
Телефон: 8 (800) 777-65-74 Email: zakaz@partsell.ru
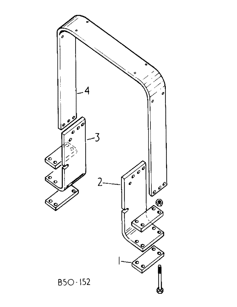
(13-16) - SUPERSTRUCTURE, PROTECTIVE FRAME
№
Артикул
Название
Примечание
Количество
1
118309C1
PLATE
clamp
1шт.
1500799C1
BOLT,Spcl, Hex, 3/4" - 10 x 10", Type 8
3/4 x 10 type 8 special
8шт.
22049R1
NUT,3/4"-10, G8
3/4 type 8
2
118306C1
SUPPORT
lower mounting LH
3
118307C1
lower mounting RH
4
118377C1
STRAP
BAR, R.O.P.S.
118425C2
BOLT
7/8-9 x 2-3/4
6шт.
23831R1
NUT,7/8"-9, G8
7/8 type 8
366460R1
CABLE CLIP
CLIP, cable
2шт.
70571C1
DECAL
PRODUCT GRAPHIC, R.O.P.S. caution instructions
70773C1
PRODUCT GRAPHIC, seat belt and R.O.P.S. caution instruction
Выбрано товаров: 0