Запчасти Case IH 484 (08-09) - ELECTRICAL, BATTERY TRAY (06) - ELECTRICAL

Схема запчастей Case IH 484 - (08-09) - ELECTRICAL, BATTERY TRAY (06) - ELECTRICAL
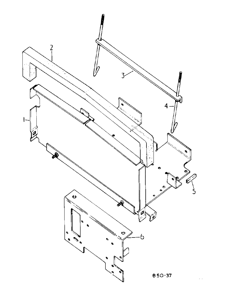
4
6
3
1
2
5
FIT
1:1
100%

Артикул

Название

Примечание

Количество

1

3121626R1

TRAY ASSY.

TRAY ASSY, battery

1шт.

181356

BOLT,Hex, 3/8" - 24 x 5/8", Gr 5

1шт.

103321

LOCK WASHER,3/8"

WASHER, LOCK, 3/8"

1шт.

20893R1

WASHER

.344 x 1.000 x .105

2шт.

80681

LOCK WASHER,5/16"

WASHER, LOCK, 5/16"

2шт.

120376

NUT,5/16"-18, G5

2шт.

3121629R1

NUT

retainer, hood

2шт.

2

73217C1

FILLING STRIP

GASKET, battery heat shield, bulk length 4 ft

1шт.

3

3121178R1

BRACKET

battery hold down

1шт.

4

527605R3

ROD

battery hold down, replaces 529968R2

2шт.

120393

BEARING WASHER,5/16", SAE

WASHER, .34 x .688 x .051

2шт.

120376

NUT,5/16"-18, G5

2шт.

5

3113841R1

MOLDING

edge

1шт.

6

538054R2

SUPPORT

ASSY, battery tray

1шт.

180122

BOLT,Hex, 3/8" - 16 x 1", Gr 5

3/8 x 1 type 5

2шт.

120382

LOCK WASHER,Helical Spring, 3/8"

WASHER, LOCK, 3/8"

2шт.

120377

NUT,3/8" - 16, Gr 5

Battery ground cable 3/8"-16, G5

2шт.

103319

LOCK WASHER,1/4"

WASHER, LOCK, 1/4"

1шт.

109084

NUT,1/4"-20, G5

Power steering pipe clamp 1/4"-20, G5

1шт.

Выбрано товаров: 19