Запчасти Case IH 485 (6-204) - CLUTCH HOUSING AND CONNECTIONS (06) - POWER TRAIN

Схема запчастей Case IH 485 - (6-204) - CLUTCH HOUSING AND CONNECTIONS (06) - POWER TRAIN
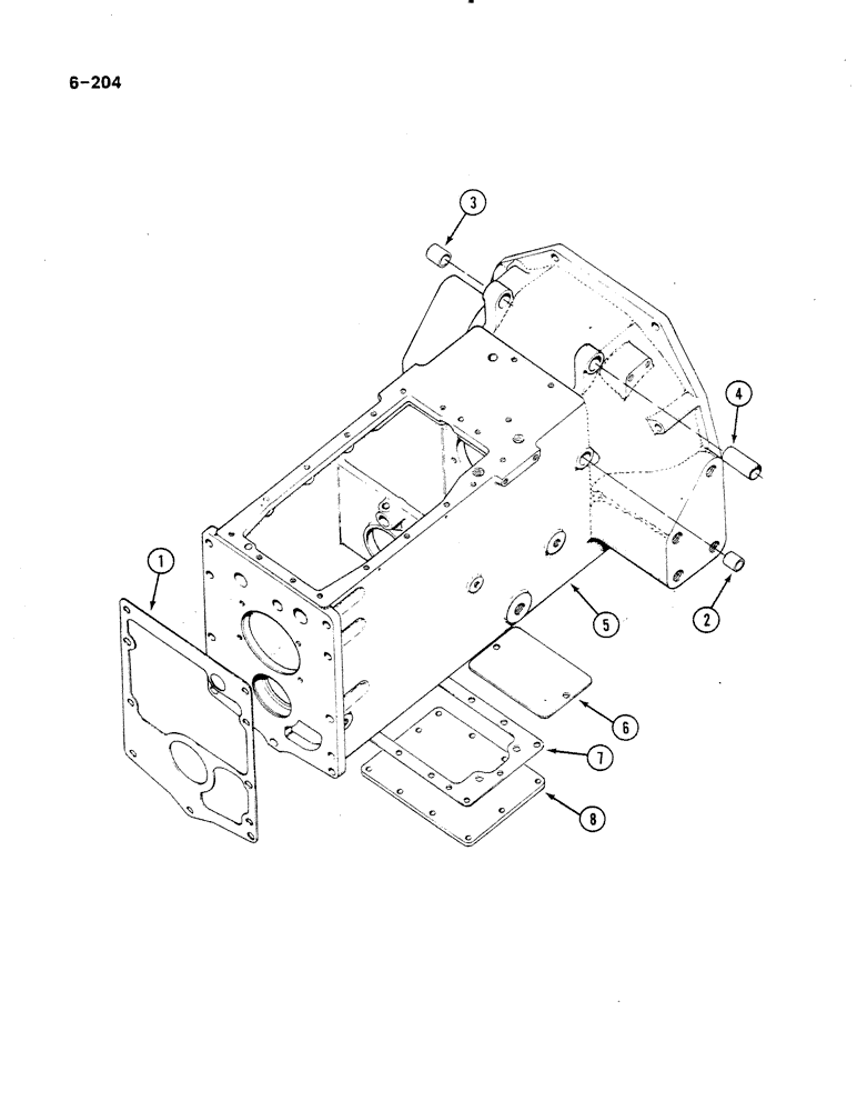
5
2
4
7
3
6
8
1
FIT
1:1
100%

Артикул

Название

Примечание

Количество

1

399814R4

GASKET

clutch housing to rear frame

1шт.

2

530815R1

BUSHING,22.27mm ID x 25.46mm OD x 22.23mm L

clutch and brake shaft

2шт.

3

530815R1

BUSHING,22.27mm ID x 25.46mm OD x 22.23mm L

clutch and brake shaft

1шт.

4

537099R1

NO LONGER SERVICED

BUSHING, left brake pedal pivot

1шт.

4

539834R1

BUSHING,22.35mm ID x 25.47mm OD x 68.07mm L

left brake pedal pivot, Serial Range: optional-537099R1

1шт.

5

94294C91

HOUSING

clutch, with bushing, dowels and plugs, Includes: P/N 444836, 3113103R1, 327411R1 and 9410359

1шт.

444836

PLUG,Hex Hd, 3/4"-14

hex, 3/4 inch NPTF

1шт.

3113103R1

PLUG

hex, 3/4 inch NPTF, Serial Range: optional-444836

1шт.

327411R1

PLUG,Cup, 5/8"

cup, 5/8 inch

1шт.

9410359

PLUG

0-ring boss, 1/2 inch OD tube, TA pressure port

1шт.

340340R1

BOLT,Hex, 1/2" - 13 x 1 1/2", Gr 8

hex, 1/2 NC x 1-1/2 inch, grade 8, to rear frame

9шт.

179894

BOLT,Hex, 1/2" - 13 x 3 1/4", Gr 5

- hex, 1/2" NC x 3-1/4", grade 5, Through clutch housing and spacer to crankcase

2шт.

179895

BOLT,Hex, 1/2" - 13 x 3 1/2", Gr 5

hex, 1/2 NC x 3-1/2 inch, grade 5, through spacer to clutch housing

2шт.

413-828

BOLT,Hex, 1/2" - 13 x 1-3/4", Gr 5

through spacer to clutch housing Hex, 1/2"-13 x 1 3/4", G5

4шт.

186295

BOLT,Hex, 1/2" - 13 x 5 1/2", Gr 5

hex, 1/2 NC x 5-1/2 inch, grade 5, through spacer to clutch housing

1шт.

103323

LOCK WASHER,1/2"

WASHER, LOCK, 1/2"

2шт.

102637

NUT,1/2"-13, G5

2шт.

114505

JAM NUT,Jam, 1/2"-13, G5

1шт.

187238

BOLT,Hex, 1/2" - 13 x 6", Gr 5

hex, 1/2 NC x 6 inch, grade 5

1шт.

19962R1

DOWEL,3/8" x 3/4"

PIN dowel, 3/8 x 3/4 inch, clutch housing top cover

1шт.

570828R1

O-RING,0.087" Thk x 0.644" ID, -908, Cl 6, 90 Duro

1/2 inch OD tube, class 6, TA pressure port plug

1шт.

20556R1

DOWEL,1/2" x 3/4"

PIN dowel, 1/2 x 3/4 inch

1шт.

19904R1

DOWEL,1/2" x 1"

PIN dowel, 1/2 x 1 inch, rear engine support

2шт.

6

399817R1

COVER

compartment, clutch

1шт.

179835

BOLT,Hex, 3/8" - 16 x 5/8", Gr 5, Full Thd

2шт.

7

402556R2

GASKET

clutch housing, bottom, rear cover

1шт.

8

402182R1

COVER

clutch housing, bottom, rear

1шт.

179837

BOLT,Hex, 3/8" - 16 x 3/4", Gr 5

11шт.

Выбрано товаров: 28