Запчасти Case IH 485 (6-218) - GEAR SHIFT MECHANISM, SPEED TRANSMISSION (06) - POWER TRAIN

Схема запчастей Case IH 485 - (6-218) - GEAR SHIFT MECHANISM, SPEED TRANSMISSION (06) - POWER TRAIN
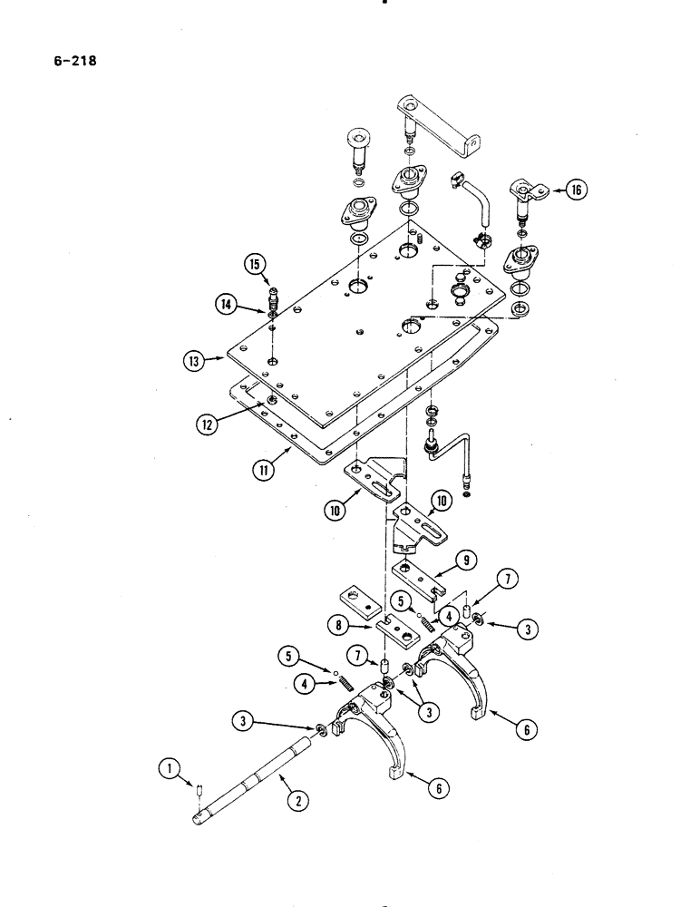
4
1
7
12
2
5
3
3
9
15
13
14
3
16
7
8
5
6
4
10
10
11
6
FIT
1:1
100%

Артикул

Название

Примечание

Количество

1

25155R1

PIN,1/4" x 1 1/4", Coiled

1шт.

2

3129154R1

RAIL

speed shift fork

1шт.

3

661652R1

SNAP RING,#75, Ext

4шт.

4

103062C1

SPRING

poppet ball

2шт.

5

17013R1

BALL,13/32" Dia

2шт.

6

1500245C91

FORK

gear shift, Includes: Ref. 7

2шт.

7

1500656C1

DOWEL

PIN chamfered dowel, 1/2 x 2-1/4 inch

2шт.

8

3129171R2

ARM

speed shift, 3rd and 4th

1шт.

9

3129167R2

ARM

speed shift, 1st and 2nd

1шт.

10

1500249C2

LARGE PLATE

PLATE interlock

2шт.

30019R1

BOLT,Hex, M10 x 1.5 x 20mm, Cl 10.9, Full Thd

2шт.

30327R1

WASHER,M10 x 21.5 x 2.5, HT

flat, 10.8 x 21 x 2.5 mm

2шт.

11

401019R3

GASKET

clutch housing top cover, without forward and reverse

1шт.

11

401621R3

GASKET

clutch housing top cover, with forward and reverse

1шт.

12

21332R1

SNAP RING,#68, Ext

1шт.

13

3129161R91

COVER ASSY

COVER clutch housing top, without forward and reverse, Includes: P/N 3129159R1, 24901R1, 349373R1 and 179816, Serial Range: -18001

1шт.

13

99498C91

COVER

clutch housing top, with forward and reverse, Includes: P/N 3129159R1, 24901R1, 349373R1 and 179816, Start Serial: 18001

1шт.

13

3129157R91

COVER ASSY

COVER clutch housing top, with forward and reverse, Includes: P/N 3129159R1, 24901R1, 349373R1 and 179816, Serial Range: -18001

1шт.

13

99495C91

COVER

clutch housing top, without forward and reverse, Includes: P/N 3129159R1, 24901R1, 349373R1 and 179816, Start Serial: 18001

1шт.

13

1288496C91

COVER

clutch housing top, with 2 speed power shift, Includes: P/N 3129159R1, 24901R1, 349373R1 and 179816, Start Serial: 18001

1шт.

3129159R1

STUD

top cover

1шт.

24901R1

PLUG,Cup, 3/8"

cup, 3/8 inch

1шт.

349373R1

PLUG

cup, 1-1/4 inch

1шт.

179816

BOLT,Hex, 5/16" - 18 x 3/4", Gr 5

2шт.

179838

BOLT,Hex, 3/8" - 16 x 7/8", Gr 5, Full Thd

hex, 3/8 NC x 7/8 inch, grade 5, without Forward and Reverse

16шт.

179837

BOLT,Hex, 3/8" - 16 x 3/4", Gr 5

w/ forward and reverse Hex, 3/8"-16 x 3/4", G5, Full Thd

2шт.

NLS

NO LONGER SERVICED

hex, 3/8 NC x 1 inch, grade 5, with Forward and Reverse

14шт.

14

371544R1

O-RING,0.07" Thk x 0.551" ID, -15, Cl 5, 75 Duro

9/16 x 11/16 inch, class 5

1шт.

15

3129200R1

ADAPTER

ADAPTOR

1шт.

16

3129172R1

ARM ASSY.

ARM actuating, speed shift, 3rd and4th

1шт.

19605R1

LOCK NUT,1/2"-13, GB

NUT lock, 1/2 inch NC, grade 5

1шт.

Выбрано товаров: 0