Запчасти Case IH 485 (9-402) - FRONT BOLSTER, CAST (09) - CHASSIS/ATTACHMENTS

Схема запчастей Case IH 485 - (9-402) - FRONT BOLSTER, CAST (09) - CHASSIS/ATTACHMENTS
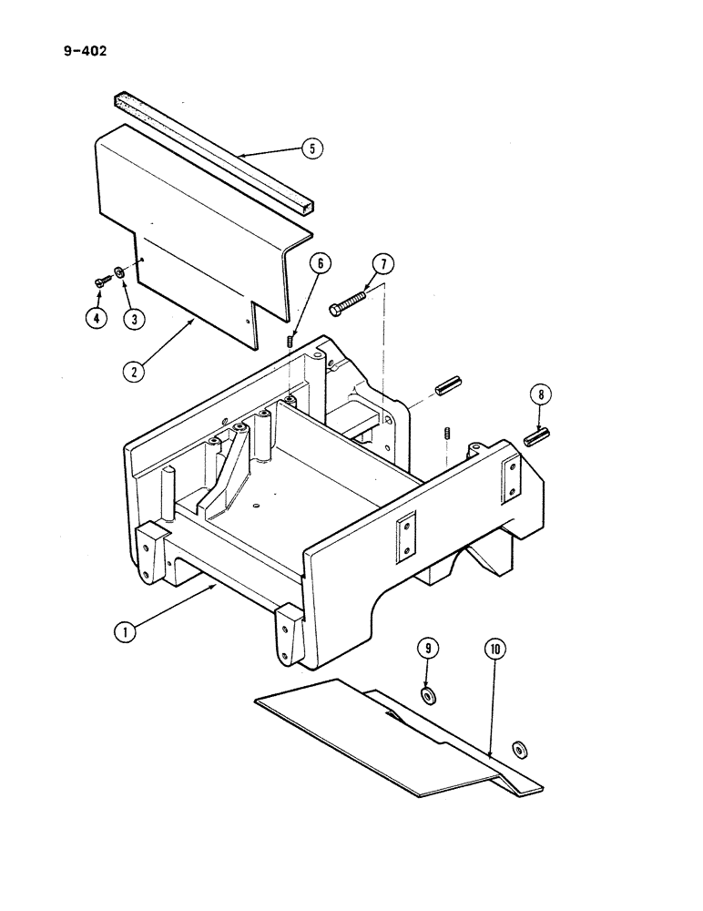
1
7
5
3
6
9
4
10
2
8
FIT
1:1
100%

Артикул

Название

Примечание

Количество

1

94179C1

SUPPORT

BOLSTER cast, front, high clearance

1шт.

1

1333113C1

BOLSTER

cast, front, Orchard version

1шт.

2

94334C1

COVER

bolster, front

1шт.

2

1333121C1

COVER

bolster, front, Orchard version

1шт.

3

80681

LOCK WASHER,5/16"

WASHER, LOCK, 5/16"

2шт.

4

3118624R1

SCREW

- hex washer head, 5/16 inch NC

2шт.

5

NSS

NOT SOLD SEPARAT

SEAL front cover, 20.5 inch, cut from 73212C1

1шт.

73212C1

GASKET

SEAL foam, bulk length, 4 foot roll

1шт.

6

180124

BOLT,Hex, 3/8" - 16 x 1 1/4", Gr 5

hex, 3/8 NC x 1-1/4 inch, grade 5, ZND

2шт.

120382

LOCK WASHER,Helical Spring, 3/8"

WASHER, LOCK, 3/8"

2шт.

7

24878R1

BOLT,Hex, 5/8" - 11 x 2 3/4", Gr 8

8шт.

8

99499C1

PIN

spring

2шт.

9

82744C1

WASHER

hardened

2шт.

10

99512C2

PROTECTION PLATE

BAFFLE bolster, air

1шт.

10

534811R1

PROTECTION PLATE

BAFFLE bolster, air, swept back axle

1шт.

Выбрано товаров: 15