Запчасти Case IH 485 (0H09-2) - HOOD AND PANEL (05) - SUPERSTRUCTURE

Схема запчастей Case IH 485 - (0H09-2) - HOOD AND PANEL (05) - SUPERSTRUCTURE
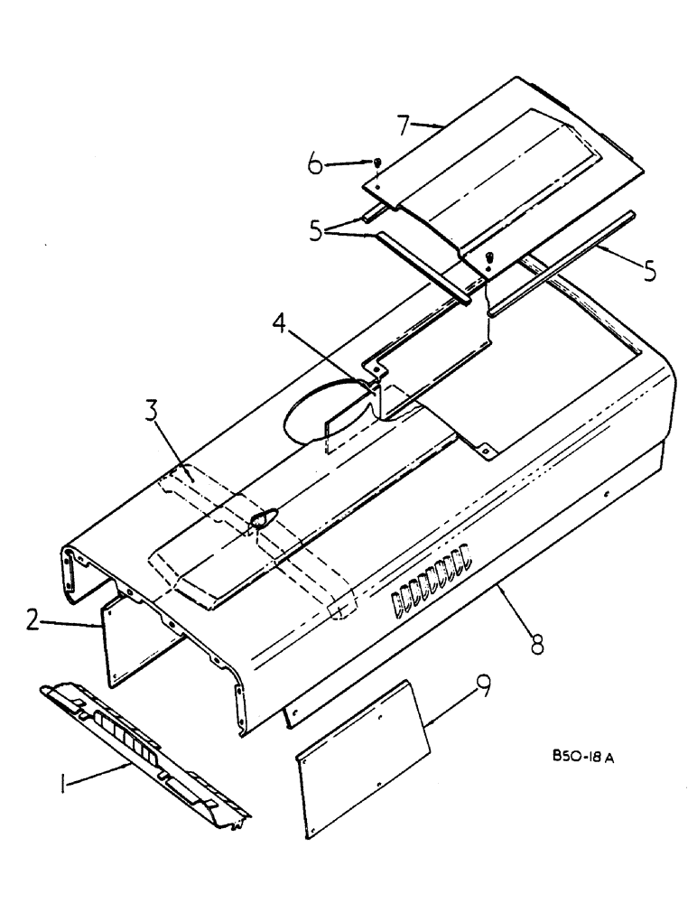
1
6
9
7
4
5
2
3
5
8
FIT
1:1
100%

Артикул

Название

Примечание

Количество

1

3121397R2

BAFFLE

UPPER

1шт.

95-11028

WASHER,1/4"

.281 X .625 X .051

4шт.

92-4

LOCK WASHER,1/4"

4шт.

7770

NUT,Hex, 1/4 - 20, Cl 5

4шт.

2

3121396R1

PANEL

SIDE RH

1шт.

381052R1

BOLT,Sl Hex Wshr Hd, 5/16" - 18 x 5/8"

5/16-18 CZ HEX HD WASHER HD

4шт.

3

3125487R1

GASKET

FOAM - BULK LENGTH 4FT

1шт.

4

3121377R1

SHIELD

HEAT

2шт.

5

SEAL, REAR HOOD COVER -16 FT

1шт.

5

SEAL, REAR HOOD COVER - 50FT

1шт.

6

73211C2

GASKET

REAR HOOD COVER - BULK LENGTH 25 FT

1шт.

7

389872R1

THUMB SCREW,Knurled Head, 5/16"-18 x 3/4"

2шт.

7

389872R1

THUMB SCREW,Knurled Head, 5/16"-18 x 3/4"

OPTIONAL

2шт.

61-104

RETAINER

X

2шт.

8

1536764C1

COVER

REAR HOOD

1шт.

9

3121374R92

HOOD ASSY.

TRACTOR W/VERTICAL EXHAUST - DE-LUXE CAB

1шт.

9

3123922R92

HOOD

SWEDEN

1шт.

9

3121379R91

HOOD ASSY.

TRACTOR W/UNDERSLUNG EXHAUST

1шт.

131-883

SPRING NUT,Rtnr, 5/16" - 18

5/16-18 CAGE

2шт.

9635082

NUT,5/16" - 18, Gr 5

2шт.

80681

LOCK WASHER,5/16"

2шт.

381052R1

BOLT,Sl Hex Wshr Hd, 5/16" - 18 x 5/8"

5/16-18 HEX WASHER HD

4шт.

10

3121395R1

PANEL

SIDE LH

1шт.

381052R1

BOLT,Sl Hex Wshr Hd, 5/16" - 18 x 5/8"

5/16-18 CZ HEX HD WASHER HD

4шт.

537024R1

CLIP

RAD GUARD LH

1шт.

Выбрано товаров: 25