Запчасти Case IH 485 (A01-3) - SEAT SUSPENSION - GRAMMER (05) - SUPERSTRUCTURE

Схема запчастей Case IH 485 - (A01-3) - SEAT SUSPENSION - GRAMMER (05) - SUPERSTRUCTURE
33
4
2
26
13
32
25
16
23
28
9
14
29
22
37
34
36
12
18
30
27
3
8
39
19
41
5
7
24
40
1
20
38
17
11
15
6
10
21
FIT
1:1
100%

Артикул

Название

Примечание

Количество

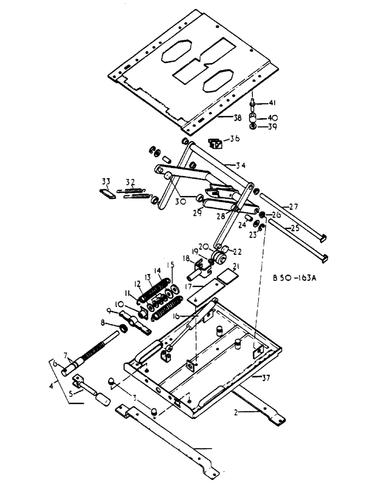
1

3125783R1

BRACKET

1шт.

934679R1

BOLT,Hex, M8 x 1.25 x 20mm, Cl 4.6

M8 X 20

2шт.

934899R1

LOCK WASHER,8.2mm ID x 14mm OD

2шт.

2

3125782R1

BRACKET

SPARE PART

1шт.

931860R1

HEX SOC SCREW,Flat Hd, CSK, M8 x 20mm, Cl 8.8

M8 X 20

2шт.

905451R1

WASHER

2шт.

3

1-34-751-101

BUMPER

RUBBER

2шт.

4

3225295R91

SPINDLE

CPTE ADJUSTABLE

1шт.

3222481R1

KNOB

1шт.

5

3223482R1

FORK

1шт.

934903R1

GROOVED PIN,M5 x 28

1шт.

6

3225294R1

PIN

SPINDLE

1шт.

7

3225323R1

O-RING

RUBBER - RED

1шт.

7

3225323R1

O-RING

RUBBER - BLACK

1шт.

8

3225297R1

BUSHING

1шт.

9

1-34-751-062

SPRING SHACKLE

SPRING

1шт.

10

3225317R1

NUT,Weld, M12

W/PLATE

1шт.

11

3125779R1

SPRING

2шт.

12

934673R1

WASHER,M8.4 x 25 x 2

1шт.

13

3225318R1

BEARING, BALL

1шт.

14

3225319R1

WASHER

1шт.

15

3225298R1

RUBBER WASHER

RUBBER

1шт.

16

3225300R1

SHOCK ABSORBER

DAMPER

1шт.

1-34-751-098

PIN

2шт.

800-435

CIRCLIP,M5

Ext Retaining

2шт.

17

3225316R1

SUPPORT

1шт.

3225327R1

RIVET

2шт.

18

3225302R1

FORK

1шт.

19

800-435

CIRCLIP,M5

Ext Retaining

1шт.

20

1-34-751-065

BEARING

TREBLE

1шт.

21

3225314R1

PLATE

RUBBER

1шт.

22

3225314R1

PLATE

RUBBER

1шт.

23

934901R1

E-RING,M10

2шт.

905174R1

WASHER,M13

2шт.

24

60-1609T1

ROLLER

4шт.

25

1-34-751-556

LARGE PIN

PIN, LARGE

1шт.

26

3225373R1

BUSHING

4шт.

27

60-1600T1

LARGE PIN

PIN, LARGE

1шт.

28

3225365R1

WASHER

2шт.

29

3125781R1

FRAME

INSIDE SCISSORS

1шт.

1-34-751-080

PIN

1шт.

30

60-1609T1

ROLLER

4шт.

31

NOT APPLICABLE

1шт.

32

60-1603T1

SPRING

2шт.

33

1-34-751-070

PLATE

SPRING

1шт.

34

K262108

FRAME

OUTSIDE SCISSORS

1шт.

35

NOT APPLICABLE

1шт.

36

1-34-751-067

PANEL

HEIGHT ADJUSTMENT

2шт.

37

3125994R91

BASE

PLATE, SUSPENSION - LOWER

1шт.

38

B502962

LARGE PLATE

PLATE, LARGE PLATE, SUSPENSION - UPPER

1шт.

934676R1

LOCK WASHER,M8

SPRING

4шт.

43362

NUT,M8 x 1.25, Cl 10

4шт.

39

3129000R1

WASHER

2шт.

40

824337C1

BUMPER

RUBBER

2шт.

41

3225993R1

PLUG

2шт.

Выбрано товаров: 55