Запчасти Case IH 485 (00H22) - REGISTRATION NUMBER PLATE AND LIGHT (06) - ELECTRICAL

Схема запчастей Case IH 485 - (00H22) - REGISTRATION NUMBER PLATE AND LIGHT (06) - ELECTRICAL
5
2
3
1
4
FIT
1:1
100%

Артикул

Название

Примечание

Количество

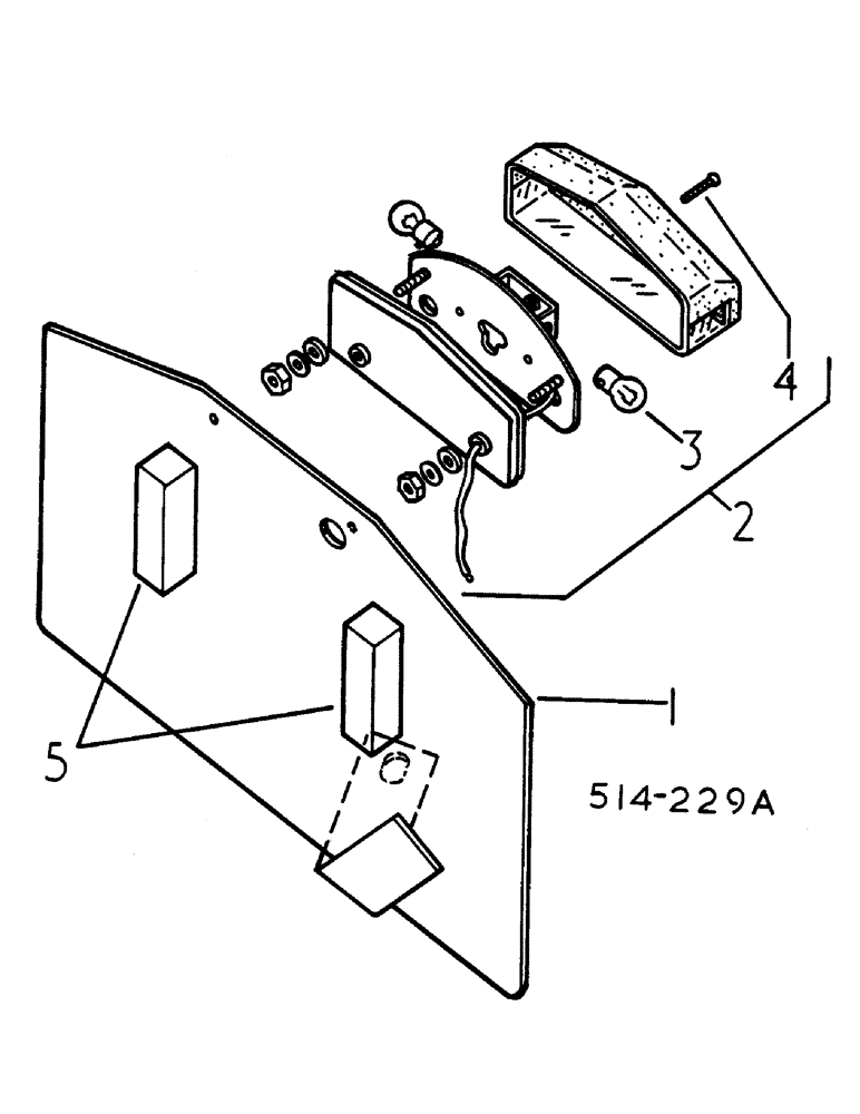
1

3113438R93

TYPE PLATE

REGISTRATION NUMBER

1шт.

619856R1

WASHER

.406 X 1 X .058

1шт.

2

3113443R91

LIGHT ASSY.

REGISTRATION NUMBER PLATE - CONSISTS OF ITEMS 3 AND 4

1шт.

3

1094370R1

BULB

12V 5W, MCC

2шт.

4

3115524R1

SCREW

SPARE PART COVER RETAINING

1шт.

5

3113442R1

BUMPER

REGISTRATION NUMBER PLATE

2шт.

Выбрано товаров: 6