Запчасти Case IH 485 (0D14-2) - FUEL TANK AND BRACKETS - DE-LUXE CAB Power

Схема запчастей Case IH 485 - (0D14-2) - FUEL TANK AND BRACKETS - DE-LUXE CAB Power
28
13
19
3
24
24
26
41
9
45
23
18
37
37
33
40
4
38
11
2
12
43
15
8
8
27
15
15
35
5
6
17
34
29
36
25
10
30
21
42
20
15
32
7
16
14
22
39
31
44
FIT
1:1
100%

Артикул

Название

Примечание

Количество

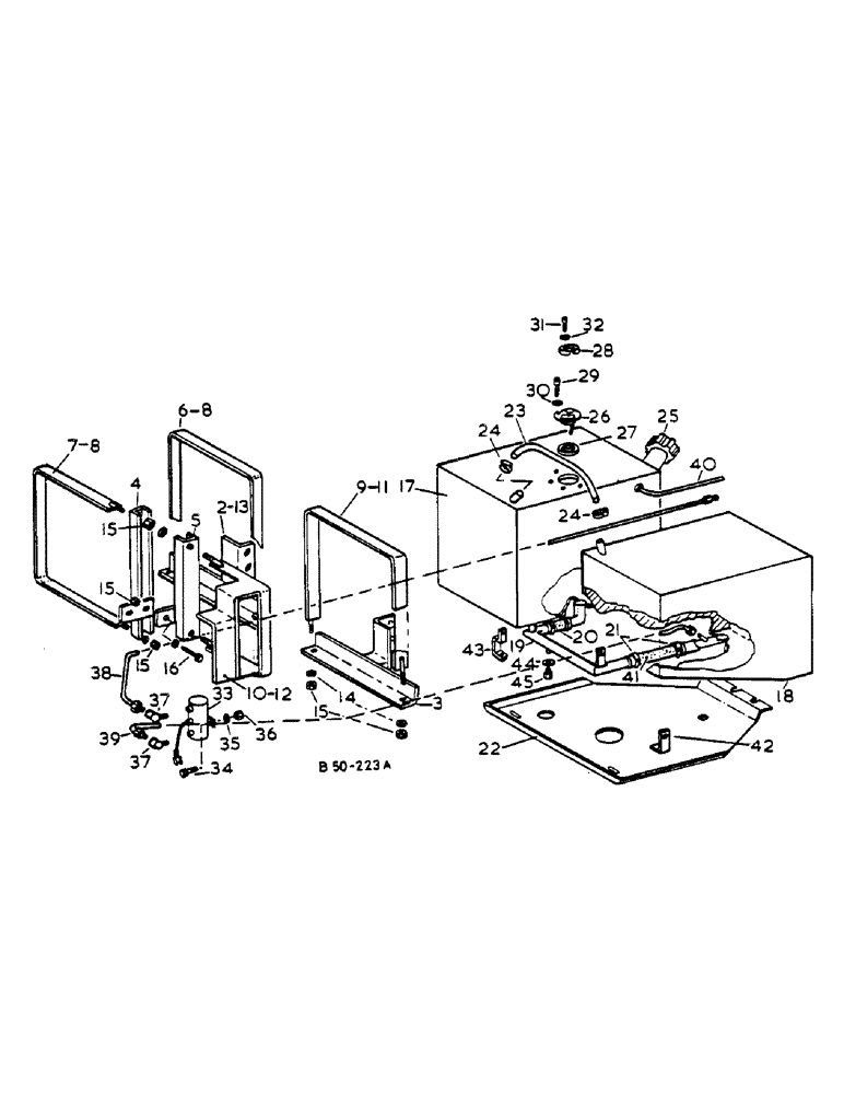
1

NOT APPLICABLE

1шт.

2

3125636R1

BRACKET

FUEL TANK FRONT LH

1шт.

3

3125637R1

BRACKET

SPARE PART FUEL TANK FRONT RH

1шт.

4

3125638R1

BRACKET

SPARE PART FUEL TANK REAR LH

1шт.

5

3125639R1

BRACKET

SPARE PART FUEL TANK REAR RH

1шт.

6

3125640R1

CLAMP

SPARE PART FRONT LH

1шт.

7

3125641R1

CLAMP

SPARE PART REAR LH

1шт.

8

3125642R1

PLATE

SPARE PART RUBBER FILLER

2шт.

9

3125643R1

CLAMP

FRONT RH

1шт.

10

3125644R1

CLAMP

SPARE PART REAR RH

1шт.

11

3125642R1

PLATE

SPARE PART RUBBER FILLER

1шт.

12

3125645R1

PLATE

RUBBER FILLER

1шт.

13

3125646R1

PLATE

RUBBER FILLER

2шт.

14

AP00165310

WASHER

5/16

8шт.

15

829-1308

NUT,M8, Cl 10

8шт.

16

930244R1

BOLT,Hex, M8 x 1.25 x 25mm, Cl 8.8, Full Thd

M8 X 25

1шт.

17

3125647R1

TANK

SPARE PART FUEL LH

1шт.

18

3125648R1

TANK

SPARE PART FUEL RH

1шт.

19

3125649R1

PIPE

SPARE PART CONNECTING

1шт.

20

3125650R1

HOSE

SPARE PART RUBBER

2шт.

21

3125651R1

CLAMP

HOSE

4шт.

22

3125652R1

PLATE

FUEL PIPE COVER

1шт.

23

3125653R1

PIPE

SPARE PART BREATHER

1шт.

24

274085R91

HOSE CLAMP,#10, 0.56/1.06 Type F Worm

2шт.

25

538063R1

PLUG

CAP, FILLER

1шт.

26

529790R1

SENDER UNIT

FUEL GAUGE - A C DELCO

1шт.

26

3129841R1

TRANSMITTER, FUEL GAUGE - ICKNIELD - OPTIONAL

1шт.

27

528359R4

GASKET,3.05mm Thk

SENDING UNIT

1шт.

28

528360R1

CAP

SENDING UNIT

1шт.

29

463-1108

SCREW,Hex Hd, #10-24 x 1/2"

10-24 X 1/2 CZ HEX HD MACH

5шт.

30

533199R1

SEALING WASHER

SENDING UNIT COVER SEALING

5шт.

31

440-1106

SCREW,Cross Pan Hd, #10-24 x 3/8"

10-24 X 3/8 CZ CR REC PAN HD MACH

1шт.

32

796002R1

COPPER WASHER

SENDING UNIT COVER SEALING

1шт.

33

3125654R1

PUMP

FUEL

1шт.

34

930242R1

BOLT,Hex, M6 x 1 x 12mm, Cl 8.8, Full Thd

Set

2шт.

35

493-81002

LOCK WASHER,Ext-Int Tooth, 1/4"

2шт.

36

829-1306

NUT,M6, Cl 10

2шт.

37

UNION

1шт.

38

3125655R1

PIPE

PRESSURE - PUMP TO FILTER

1шт.

39

3125656R1

PIPE

SUCTION - TANK TO PUMP

1шт.

40

3125657R1

PIPE

RETURN - PUMP TO NOZZLE

1шт.

41

3125658R1

HOSE

SPARE PART RH RUBBER

1шт.

42

3125660R1

BRACKET

SPARE PART LH COVER PLATE

1шт.

43

3125659R1

BRACKET

SPARE PART LH COVER PLATE

1шт.

44

3125661R1

WASHER

FIBRE

1шт.

45

3125662R1

PLUG

SPARE PART

1шт.

3125672R1

PLATE, FILLER (NOT ILLUSTRATED)

1шт.

3125673R1

PLATE

SPARE PART FILLER RUBBER (NOT ILLUSTRATED)

1шт.

3125674R1

BRACKET

SPARE PART COVER PLATE - FRONT (NOT ILLUSTRATED)

1шт.

3125675R1

CABLE

SPARE PART FUEL METER (NOT ILLUSTRATED)

1шт.

Выбрано товаров: 50