Запчасти Case IH 485 (0F20-2) - CYLINDER HEAD, VALVES AND STUDS Power

Схема запчастей Case IH 485 - (0F20-2) - CYLINDER HEAD, VALVES AND STUDS Power
9
11
14
12
23
8
18
24
25
22
15
2
20
19
6
13
5
1
17
16
4
3
21
10
7
FIT
1:1
100%

Артикул

Название

Примечание

Количество

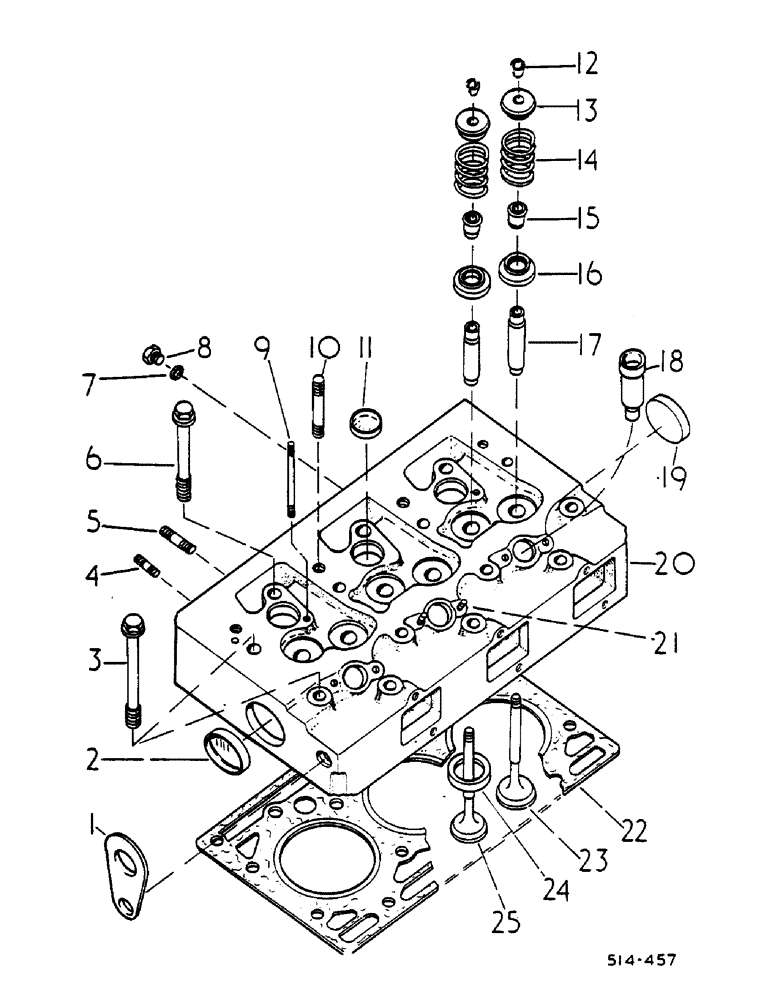
1

3055370R1

STIRRUP

ENGINE MOUNTING FRONT

1шт.

13-1218

BOLT,Hex, 3/4" - 10 x 1-1/8", Gr 5

3/4-10 X 1-1/8 HEX HD CAP

1шт.

2

934003R1

PLUG,M52, Conical

EXPANSION

1шт.

3

3138748R1

BOLT,Flng, 9/16" - 12 x 5-3/4"

CYLINDER HEAD

8шт.

4

3055221R1

STUD

WATER COLLECTING PIPE

6шт.

5

3228189R1

STUD

EXHAUST MANIFOLD

6шт.

6

3138747R1

BOLT,Cyl Hd, 9/16" - 12 x 123mm

CYLINDER HEAD

8шт.

7

718743R1

SEALING RING,M10 x 16 x 1

Packing

1шт.

8

934259R1

PLUG,Hex, M10 x 1

1шт.

9

3055223R1

STUD

CYLINDER HEAD COVER

2шт.

425-115

NUT,5/16"-24, G5

2шт.

10

3055220R1

STUD,1/2" - 20 x 3.18"

ROCKER SHAFT BRACKET

4шт.

11

933573R1

PLUG,M32, Tapered

EXPANSION

3шт.

12

3055057R1

KEY

SPARE PART SPRING LOCK VALVE

6шт.

13

3055058R2

SPRING CUP

VALVE SPRING RETAINER

6шт.

14

3055060R1

SPRING

VALVE

6шт.

15

3218399R91

GASKET KIT

VALVE SERVICE

1шт.

16

3055059R91

CAP

6шт.

17

129322A1

GUIDE

VALVE STEM

6шт.

18

3055344R1

SLEEVE

INSERT, NOZZLE HOLDER

3шт.

19

934003R1

PLUG,M52, Conical

EXPANSION

1шт.

20

3055366R96

HEAD (CYLINDER)

GUIDES AND STUDS

1шт.

21

- NOT APPLICABLE -

1шт.

22

3228361R2

CYLINDER HEAD GASKET

CYLINDER HEAD - NON-TORQUE

1шт.

23

3055055R2

OVERSIZE INLET VALVE

3шт.

24

3132361R1

INSERT

INSERT, EXHAUST VALVE SEAT 016 O/S

3шт.

24

3132362R1

VALVE SEAT

EXHAUST VALVE SEAT 004 O/S

3шт.

25

3055056R2

STD EXHAUST VALVE

STD ENGINE EXHAUST VALVE

3шт.

Выбрано товаров: 28