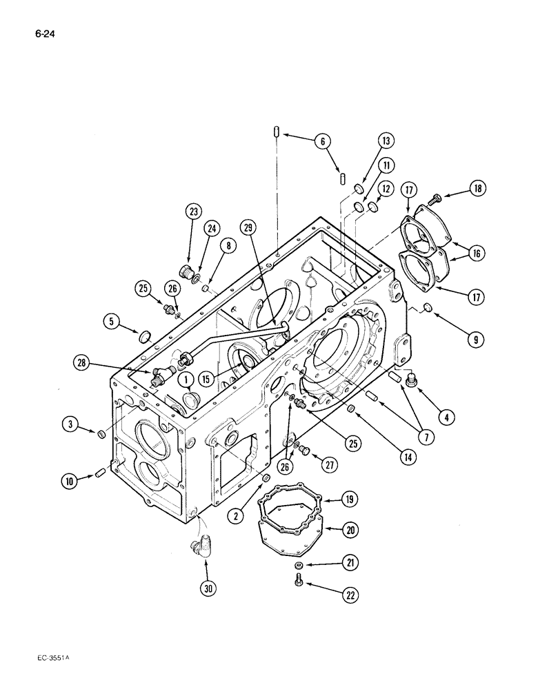
Запчасти Case IH 495 (6-024) - REAR FRAME (06) - POWER TRAIN

Схема запчастей Case IH 495 - (6-024) - REAR FRAME (06) - POWER TRAIN
9
19
14
3
23
18
26
21
11
25
25
17
1
2
16
22
28
24
29
30
12
7
26
6
27
10
4
15
13
5
20
17
8
FIT
1:1
100%

Артикул

Название

Примечание

Количество

1537332C1

FRAME ASSY

FRAME ASSEMBLY - rear, Includes: Ref. 1 - 15

1шт.

1

527748R2

PLUG

- oil reservoir

1шт.

2

318300R1

PLUG,Cup, 1"

- cup, 1 inch (With forward and reverse)

1шт.

3

327412R1

PLUG,Cup, 13/16"

- cup, 13/16 inch

1шт.

4

3113103R1

PLUG

- hex, 3/4 inch PT

1шт.

4

444836

PLUG,Hex Hd, 3/4"-14

- hex, 3/4 inch PT (Optional to 3113103R1)

1шт.

5

349373R1

PLUG

- cup, 1-1/4 inch

1шт.

6

19904R1

DOWEL,1/2" x 1"

PIN - dowel, 1/2 x 1 inch

2шт.

7

19875R1

DOWEL,5/8" x 1 1/2"

PIN - dowel, 5/8 x 1-1/2 inch

4шт.

8

386194R1

PLUG,Cup, 3/4"

- cup, 3/4 inch (Without diffrential lock)

1шт.

9

512870R1

PLUG,Cup, 2 1/4"

- cup, 2-1/4 inch (Without IPTO)

1шт.

10

19846R1

DOWEL,1/2" x 1 1/4"

PIN - dowel, 1/2 x 1-1/4 inch

1шт.

11

23828R1

PLUG,Cup, 2 1/2"

- cup, 2-1/2 inch (Without IPTO)

1шт.

12

151162R1

PLUG,Cup, 1 3/8"

- cup, 1-3/8 inch (Without IPTO)

1шт.

13

3142063R1

PLUG

- cup, 52 mm (Without IPTO)

1шт.

14

151162R1

PLUG,Cup, 1 3/8"

- cup, 1-3/8 inch

1шт.

15

28673R1

PLUG,Cup, 2 1/8"

- cup, 2-1/8 inch

1шт.

16

399842R1

COVER

- rear frame (Without IPTO)

2шт.

17

1970891C1

GASKET

- rear frame IPTO flange

2шт.

18

13-612

BOLT,Hex, 3/8" - 16 x 3/4", Gr 5, Full Thd

6шт.

19

1970896C1

GASKET

- transfer gear box

1шт.

20

94293C1

COVER

- MFD drop box opening

1шт.

21

396-21053

WASHER,17/32" x 1 1/16" x .134"

9шт.

22

326-820

BOLT,Hex, 1/2" - 13 x 1-1/4", Gr 8

9шт.

23

9410363

PLUG

- O-ring, 1-5/16 inch thread (Auxiliary hydraulic tube)

1шт.

24

237-6016

O-RING,0.116" Thk x 1.171" ID, -916, Cl 6, 90 Duro

16-1, 90 Duro, 1.171" ID x .118" Thk

1шт.

25

3129671R1

FITTING

ADAPTER - brake pipe

2шт.

26

237-6004

O-RING,0.072" Thk x 0.351" ID, -904, Cl 6, 90 Duro

4-1, 90 Duro, .351" ID x .072" Thk, Serial Range: -JJE0007800

3шт.

26

237-6010

O-RING,0.097" Thk x 0.755" ID, -910, Cl 6, 90 Duro

- 5/8, Class 6, Start Serial: JJE0007800

3шт.

27

9410356

PLUG

- O-ring boss, 1/4 inch tube (Without IPTO)

1шт.

28

9411131

TEE,3/4"-16, 37 Degree x 3/4"-18, O-Ring Run

- adjustable

1шт.

29

86337C2

PIPE

TUBE - return, transfer oil pump

1шт.

30

218-5105

ELBOW,90 Degree Elbow, 9/16" - 18 Male JIC x 9/16" - 18 Male ORB

- 90 degree, 9/16-18 inch flare x adj O-ring boss (See Figure 6-026)

1шт.

Выбрано товаров: 33