Запчасти Case IH 495 (8-010) - REGULATOR VALVE MOUNTING PLATE, TWO SPEED POWER SHIFT (08) - HYDRAULICS

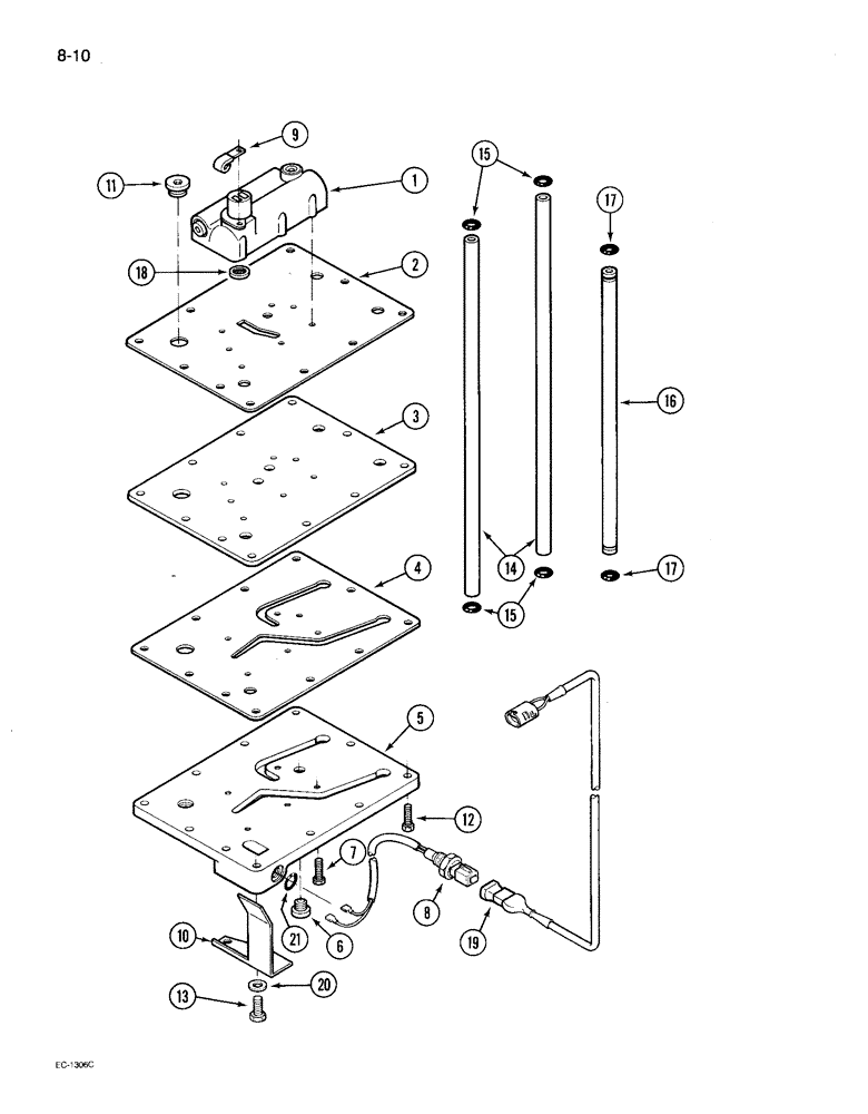
Схема запчастей Case IH 495 - (8-010) - REGULATOR VALVE MOUNTING PLATE, TWO SPEED POWER SHIFT (08) - HYDRAULICS
18
13
3
12
2
10
21
7
11
9
20
17
6
8
1
5
4
16
14
19
17
15
15
FIT
1:1
100%

Артикул

Название

Примечание

Количество

1

83006C94

VALVE

ASSEMBLY - pressure regulator (See Figure 8-018)

1шт.

2

83009C2

GASKET

- separator plate

1шт.

3

83010C2

PLATE

- separator

1шт.

4

83011C2

GASKET,0.79mm Thk

- core plate

1шт.

5

83013C2

LARGE PLATE

PLATE - core

1шт.

6

86258C1

PLUG,M12 x 1.5

- 12 mm - 1.75, with packing ring

1шт.

7

615-8030

BOLT,Hex, M8 x 1.25 x 30mm, Cl 8.8, Full Thd

- hex, 8 mm - 1.25 x 30 mm

5шт.

8

99990C1

HARNESS

CABLE ASSEMBLY - solenoid

1шт.

9

92071C1

CLAMP

CLIP - solenoid cable

1шт.

10

99952C2

SHIELD

ASSEMBLY - solenoid cable

1шт.

11

87953C1

PLUG

- 22 mm - 2.50, with packing ring

1шт.

12

413-620

BOLT,Hex, 3/8" - 16 x 1-1/4", Gr 5

- hex, 3/8 NC x 1-1/4 inch

9шт.

13

413-632

BOLT,Hex, 3/8" - 16 x 2", Gr 5

- hex, 3/8 NC x 2 inch

2шт.

14

402545R1

PRESSURE PIPE

TUBE - pump pressure

2шт.

15

238-5112

O-RING,0.103" Thk x 0.487" ID, -112, Cl 5, 75 Duro

4шт.

16

83401C1

PIPE

TUBE - oil inlet

1шт.

17

238-6014

O-RING,0.07" Thk x 0.489" ID, -14, Cl 6, 90 Duro

2шт.

18

386073R91

SCREEN

ASSEMBLY - pilot relief

1шт.

19

99992C2

CABLE

ASSEMBLY - two speed power shift

1шт.

20

28422R1

WASHER,13/32" x 13/16" x .134", HDN

- flat, 13/32 x 13/16 x 1/8 inch, hardened

2шт.

21

237-6005

O-RING,0.072" Thk x 0.414" ID, -905, Cl 6, 90 Duro

5-1, 90 Duro, .414" ID x .072" Thk

1шт.

Выбрано товаров: 21