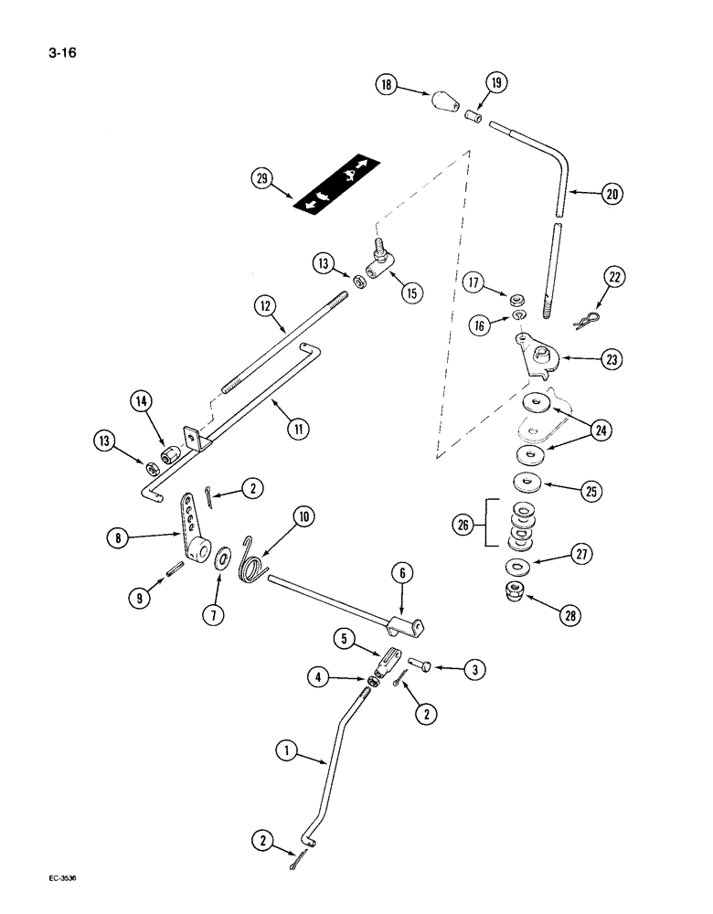
Запчасти Case IH 495 (3-016) - GOVERNOR CONTROL (03) - FUEL SYSTEM

Схема запчастей Case IH 495 - (3-016) - GOVERNOR CONTROL (03) - FUEL SYSTEM
9
8
19
25
15
14
1
27
2
3
5
2
12
22
6
2
13
4
23
28
26
20
29
7
11
16
18
13
10
1
24
FIT
1:1
100%

Артикул

Название

Примечание

Количество

1

1332914C2

ROD

- front, governor control

1шт.

2

32-48

COTTER PIN,1/16" x 1/2"

PIN, SPLIT (COTTER), 1/16" x 1/2"

3шт.

3

103494

ADJUSTABLE CLEVIS,1/4" x .770"

PIN - clevis, 1/4 x 0.770 inch

1шт.

4

25-154

JAM NUT,Jam, 1/4"-28, G5

Hex Jam, 1/4"-28, G5

1шт.

5

213-124

ADJUSTABLE CLEVIS,1/4"-28

CLEVIS - adjustable, 1/4 NF x 1-11/16 inch

1шт.

5

1500842C1

YOKE

CLEVIS - adjustable, Serial Range: (Optional-116534)

1шт.

6

528325R2

ARM

ASSEMBLY - idler, governor control

1шт.

7

95-51041

WASHER,3/8" x 7/8" x .083"

- flat, 13/32 x 3/4 x 3/64 inch

1шт.

7

95-81080

WASHER,13/32" x 3/4" x .120"

- flat, 13/32 x 3/4 x 3/32 inch

1шт.

8

539572R3

LEVER ASSY.

LEVER ASSEMBLY - idler arm

1шт.

9

19313R1

PIN,5/32" x 7/8", Coiled

1шт.

10

539012R1

SPRING

- torsion

1шт.

11

528767R1

ROD ASSY.

ROD - pull, bellcrank

1шт.

12

528775R1

ROD

- pick-up, foot accelerator

1шт.

12

1333041C1

ROD

- pick-up, foot accelerator (Orchard tractor)

1шт.

13

425-154

JAM NUT,Jam, 1/4"-28, G5

- hex jam, 1/4 inch NF

2шт.

14

528776R1

NUT

- swivel, foot accelerator pick-up rod

1шт.

15

191474

BALL JOINT

JOINT - ball, 1/4 inch NF, type C, for optional ball-joints See Figure 3-014

1шт.

16

492-11025

LOCK WASHER,1/4"

WASHER, LOCK, 1/4"

1шт.

17

425-114

NUT,1/4"-28, G5

1шт.

1536683C1

HANDLE GRIP

KNOB ASSEMBLY - control handle, Includes: Ref. 18 and 19

1шт.

18

NSS

NOT SOLD SEPARAT

KNOB - control handle

1шт.

19

1536684C1

SPACER

RING - star, tolerence

1шт.

20

3121391R6

ROD

- governor control handle

1шт.

20

1333062C2

ROD

- governor control handle (Orchard tractor)

1шт.

22

720631R1

LINCH PIN

PIN - cotter, quick attachable

1шт.

23

528291R3

ARM ASSY.

ARM ASSEMBLY - governor control rod

1шт.

24

3123275R1

FRICTION WASHER

DISC - friction, governor control

2шт.

25

1332789C1

PLATE

- friction, backing

1шт.

26

1500778C1

DISC

- spring, 24.4 x 12.9 x 0.90 mm

4шт.

27

495-81022

WASHER,17/32" x 1 1/8" x .060"

- flat, 17/32 x 1-1/4 x 3/64 inch

1шт.

28

894980H1

LOCK NUT

- hex, self-locking, 1/2 inch NF

1шт.

29

533592R1

PRODUCT GRAPHIC

DECAL - governor control

1шт.

Выбрано товаров: 0