Запчасти Case IH 504 (061) - FUEL SYSTEM, FUEL FILTER, DIESEL ENGINE TRACTORS (02) - FUEL SYSTEM

Схема запчастей Case IH 504 - (061) - FUEL SYSTEM, FUEL FILTER, DIESEL ENGINE TRACTORS (02) - FUEL SYSTEM
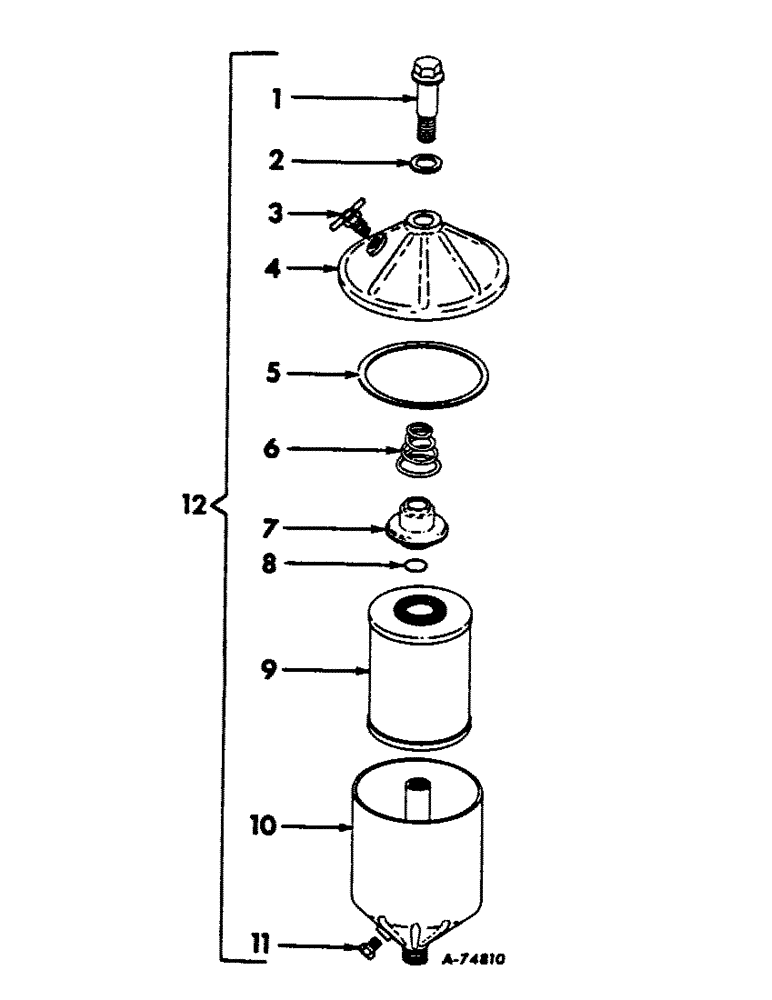
8
1
5
3
11
7
4
9
12
10
2
6
FIT
1:1
100%

Артикул

Название

Примечание

Количество

1

321727R1

CAPSCREW,3/8" - 24 x 1 11/16"

SCREW, cover retaining

1шт.

2

368334R1

GASKET

screw retaining

1шт.

3

39677DA

VALVE

BLEEDER, filter

1шт.

4

321720R91

END ASSY.

COVER ASSY, filter

1шт.

5

304102R91

GASKET, element

1шт.

6

321721R1

VALVE SPRING

SPRING, retaining

1шт.

7

321722R91

RETAINER

ASSY, gasket

1шт.

8

355966R1

O-RING,0.424" ID x 0.103" Width

7/16 x 5/8 x 3/32, gasket retainer

1шт.

9

304101R91

FILTER, ELEMENT

ELEMENT ASSY, filter

1шт.

10

NSS

NOT SOLD SEPARAT

(Not serviced separately)

1шт.

11

258995R1

PLUG

filter drain

1шт.

12

347066R91

HOSE ASSY.

FILTER ASSY, fuel

1шт.

304104R91

HOLDER

BRACKET ASSY, filter

1шт.

Выбрано товаров: 13