Запчасти Case IH 530 (180) - CASE-O-MATIC, OIL FILTER AND COOLING TUBES, PRIOR TO S/N 8262800 (06) - POWER TRAIN

Схема запчастей Case IH 530 - (180) - CASE-O-MATIC, OIL FILTER AND COOLING TUBES, PRIOR TO S/N 8262800 (06) - POWER TRAIN
17
2
14
3
23
19
2
6
16
30
10
14
28
12
7
25
29
8
13
27
5
22
26
24
20
15
3
18
8
9
4
6
21
1
5
11
15
4
30
FIT
1:1
100%

Артикул

Название

Примечание

Количество

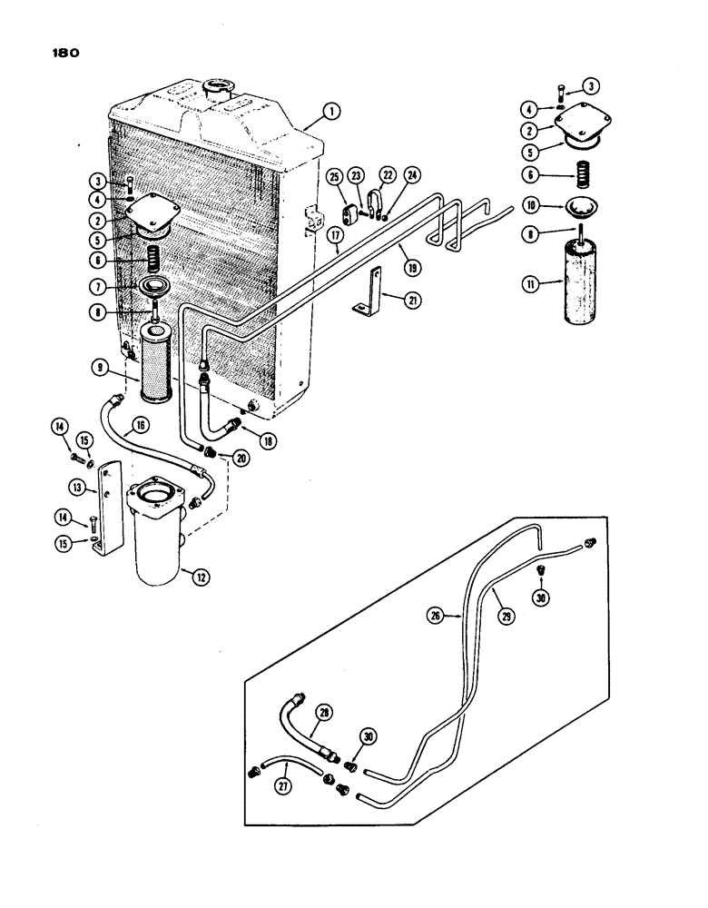
1

G45479

RADIATOR (includes cooler tank)

1шт.

2

G1248

COVER

CAP - filter

1шт.

3

13-616

BOLT,Hex, 3/8" - 16 x 1", Gr 5, Full Thd

4шт.

4

92-6

LOCK WASHER,3/8"

4шт.

5

V20352

SCREW

"O" RING - filter cap

1шт.

6

VT2864

SPRING

- retainer, filter element

1шт.

7

A36523

CAP

- retainer (Use w/metal covered element)

1шт.

8

13-428

BOLT,Hex, 1/4" - 20 x 1-3/4", Gr 5

1шт.

9

A36524

FILTER, ELEMENT

ELEMENT - filter (metal covered)

1шт.

10

VT3138

X

CAP - retainer (Use with paper element)

1шт.

11

G13113

ELEMENT,2.25" OD x 6" L

ELEMENT - filter (paper) Order ref. 7 and 9

1шт.

12

G1295

HOUSING

- filter element

1шт.

13

G15650

BRACKET - filter housing

1шт.

14

13-614

BOLT,Hex, 3/8" - 16 x 7/8", Gr 5, Full Thd

4шт.

15

92-5

LOCK WASHER,5/16"

LOCKWASHER - 3/8" std.

4шт.

16

G45123

TUBE ASSY.

HOSE - filter-radiator tank

1шт.

17

G46362

TUBE - filter input (SN6170169 and after) 0.5" OD x 45.125" L

1шт.

18

G45133

HYDRAULIC HOSE,0.50" ID x 16.00"

HOSE - return (SN6170169 and after)

1шт.

19

G45414

TUBE - return (SN6170169 and after) 0.5" OD x 45.5" L

1шт.

20

222-506

TUBE NUT,11/16"-16

NUT - tube and hose (81LB-1/2" O.D.)

5шт.

21

G15935

BRACKET - tube support

1шт.

22

G46194

CLAMP

- tube

3шт.

23

174-100

SCREW,Sl Rnd Hd, #10 - 32 x 3/4"

- #10-32 x 3/4" rd. hd.

3шт.

24

129-24

NUT

- #10-32 hex

3шт.

25

G46835

GROMMET

- rubber, Serial Range: tube-clamp

3шт.

26

G46274

TUBE - input, (Diesel engine tractor before SN6170169)

1шт.

26

G46286

TUBE - input, (gas engine before SN6170169) 0.5" OD x 15.812, 12.125" L

1шт.

27

G46275

TUBE - input to filter (Before SN6170169) 0.5" OD

1шт.

28

G46273

HOSE - return (Before SN6170169)

1шт.

29

G46272

TUBE - return (diesel eng. tractor before SN6170169)

1шт.

29

G46285

TUBE - return (gas eng. tractor before SN6170169) 0.5" OD x 17.937, 12.125" L

1шт.

30

222-506

TUBE NUT,11/16"-16

NUT - hose & tube (81LB-1/2' O.D.)

6шт.

Выбрано товаров: 32