Запчасти Case IH 530 (042) - ENGINE GASKET KITS, 530 SERIES, 159 SPARK IGNITION ENGINE (02) - ENGINE

Схема запчастей Case IH 530 - (042) - ENGINE GASKET KITS, 530 SERIES, 159 SPARK IGNITION ENGINE (02) - ENGINE
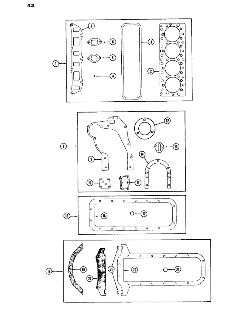
18
4
1
11
15
13
9
19
23
16
21
2
12
14
22
10
7
3
20
6
17
8
5
FIT
1:1
100%

Артикул

Название

Примечание

Количество

1

G11963

GASKET

VALVE GRIND KIT, Includes: Ref. 2 - 7

1шт.

For complete engine overhaul order 1-G11963, 1-G11916 & 1-A40710 or 1-A40711 kits

1шт.

2

G46870

CYLINDER HEAD GASKET

-, Serial Range: head-block

1шт.

3

A30009

GASKET

- valve cover

1шт.

4

G46851

SEAL

- valve stem

4шт.

5

G46826

GASKET

- carburetor

1шт.

6

A30003

GASKET

- water outlet elbow

1шт.

7

A30030

GASKET

- manifold

1шт.

8

G11916

X

CYLINDER BLOCK KIT, Includes: Ref. 9 - 14

1шт.

For complete engine overhaul order 1-G11963, 1-G11916 & 1-A40710 or 1-A40711 kits

1шт.

9

A30010

GASKET

- timing gear cover, order A38226

1шт.

10

G46854

GASKET

- oil filter bracket

1шт.

11

G46852

GASKET

- oil pump cover

1шт.

12

G46875

GASKET

- water pump, order A38083

1шт.

13

G46902

GASKET

- fuel pump opening

1шт.

14

G46802

GASKET

- rear oil seal retainer

1шт.

15

D128322

RELAY

OIL PAN KIT - (Std. Clutch), Includes: Ref. 16 and 17

1шт.

For complete engine overhaul order 1-G11963, 1-G11916 & 1-A40710 or 1-A40711 kits

1шт.

16

NSS

NOT SOLD SEPARAT

GASKET -, Serial Range: pan-block

1шт.

17

A27927

OIL PAN GASKET SET

- drain plug (1" O.D. x 3/4" I.D.)

1шт.

18

A40711

GASKET KIT

OIL PAN KIT - (CASE-O-MATIC), Includes: Ref. 19 - 23

1шт.

For complete engine overhaul order 1-G11963, 1-G11916 & 1-A40710 or 1-A40711 kits

1шт.

19

G46913

GASKET

- block to torque tube

1шт.

20

A36653

GASKET

- support radius rod

1шт.

21

A11604

OIL PAN GASKET SET

- rear, oil, Serial Range: pan-engine

2шт.

22

NSS

NOT SOLD SEPARAT

GASKET -, Serial Range: pan-block

1шт.

23

A27927

OIL PAN GASKET SET

- drain plug (1" O.D. x 3/4" I.D.)

1шт.

Выбрано товаров: 27