Запчасти Case IH 530 (096) - FUEL SYSTEM, 530 SERIES, 188 DIESEL ENGINE (03) - FUEL SYSTEM

Схема запчастей Case IH 530 - (096) - FUEL SYSTEM, 530 SERIES, 188 DIESEL ENGINE (03) - FUEL SYSTEM
15
54
53
50
2
10
40
17
20
34
39
25
47
5
38
35
4
12
1
48
42
45
36
51
31
37
41
23
13
6
19
24
29
8
49
33
16
14
30
9
8
46
11
32
43
44
22
21
55
18
7
3
26
27
28
52
FIT
1:1
100%

Артикул

Название

Примечание

Количество

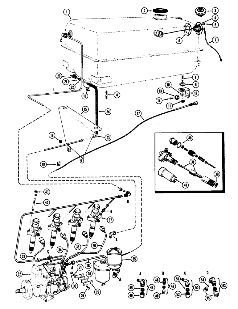
1

A36561

TANK

- fuel

1шт.

2

A32119

CAP

- fuel tank (See ref. 3)

1шт.

3

A32120

CAP

- fuel tank (locking type) including keys. Keys not furnished for repairs

1шт.

4

A23480

SENDER UNIT

SENDER - fuel gauge

1шт.

5

193-501

SCREW -, Serial Range: sender-tank

5шт.

6

A11822

GASKET

-, Serial Range: sender-tank

1шт.

7

A11783

ELECTRICAL WIRE

CABLE -, Serial Range: sender-gauge

1шт.

8

A8373

STUD

- tank mounting (3/8" x 2-7/16")

3шт.

9

A7336

CUSHION

- tank stud

3шт.

10

B18261

WASHER

- tank stud

3шт.

11

131-5

LOCK NUT,3/8"-16, GB

NUT - lock, tank stud (3/8" N.F.)

3шт.

12

A36177

SUPPORT - rear, fuel tank

1шт.

13

A7336

CUSHION

- support

2шт.

14

13-420

BOLT,Hex, 1/4" - 20 x 1-1/4", Gr 5

- 5/16" x 1-1/4" N.C. hex. hd.

2шт.

15

A35629

SUPPORT - front, fuel tank

1шт.

16

217-107

VALVE

- drain, tank

1шт.

17

A36573

CONTROL

WIRE - fuel shut-off

1шт.

18

A26673

CLIP

- shut-off wire

1шт.

19

G49665

BUSHING - fuel line

1шт.

20

A7313

VALVE

- needle, Includes: Ref. 21 and 22

1шт.

21

222-104

SLEEVE,3/8" Tube

- 3/8" Tube

1шт.

22

222-114

NUT,5/8"-24

NUT - 3/8" tube

1шт.

23

A35630

TUBE

LINE -, Serial Range: valve-filter

1шт.

24

A27241

LOOM

- fuel line

1шт.

25

A35735

FILTER

ASSY. - (For repairs see Figure 98)

1шт.

26

A36566

TUBE

LINE - fuel, Serial Range: filter-pump

1шт.

27

A27978

CLAMP

- injection tube

2шт.

28

A27980

CUSHION

- tube clamp

2шт.

29

173-102

SCREW,Sl Rnd Hd, #10 - 24 x 1"

- clamp, #10-24 x 1" rd. hd.

2шт.

30

129-7

NUT,Hex, #10 - 24

- hex. #10-24

2шт.

31

92-3

LOCK WASHER,#10

WASHER, LOCK, #10

2шт.

32

A35773

PUMP, FUEL INJECTION

PUMP - injection (w/std. clutch) (See Figure 98)

1шт.

32

A35774

PUMP

- injection (w/Case-O-Matic) (See Figure 98)

1шт.

33

A35058

TUBE

- pump to #1 injector

1шт.

34

A35059

TUBE

- pump to #2 injector

1шт.

35

A35060

TUBE

- pump to #3 injector

1шт.

36

A35061

TUBE

- pump to #4 injector

1шт.

37

A49056

NOZZLE CAP

INJECTOR - fuel, Includes: Ref. 38 - 40

4шт.

38

A35085

NOZZLE CAP

NOZZLE - injector

1шт.

39

G49068

GASKET

- seat, injector

1шт.

40

G46885

GASKET

- adjusting cap

1шт.

41

G11724

LINER

-, Serial Range: injector-head

4шт.

42

A29431

STUD

- injector to head (3/8" x 1-3/4")

8шт.

43

25-106

NUT,3/8"-16, G5

- 3/8" N.C. hex

8шт.

44

222-47

ELBOW,90 Degree, 5/8"-24 Fem x 1/4"-27 NPTF

- 3/8" O.D. x 1/4" P.T., Includes: Ref. 45 and 46

3шт.

45

222-104

SLEEVE,3/8" Tube

- 3/8" Tube

1шт.

46

222-114

NUT,5/8"-24

NUT - 3/8" tube

1шт.

47

222-21

FITTING,7/16"-24 x 1/8" NPTF

Leak-off, Includes Ref. 48 and 49 7/16"-24 x 1/8" NPTF

4шт.

48

222-101

SLEEVE,3/16" Tube

- 3/16" Tube

1шт.

49

222-111

TUBE NUT,7/16" - 24

NUT - 3/16" tube

1шт.

50

222-44

ELBOW,90 Degree, 9/16"-24 Fem x 1/8"-27 NPTF

- 5/16" O.D. x 1/8" P.T., Includes: Ref. 51 and 52

2шт.

51

222-103

SLEEVE,5/16" Tube

1шт.

52

222-113

TUBE NUT,9/16"-24

NUT - 5/16" tube

1шт.

53

222-133

ELBOW,90 Degree, 9/16"-24

- 5/16" O.D., Includes: Ref. 54 and 55

1шт.

54

222-103

SLEEVE,5/16" Tube

2шт.

55

222-113

TUBE NUT,9/16"-24

NUT - 5/16" tube

2шт.

Выбрано товаров: 56