Запчасти Case IH 570 (194) - POWER STEERING, WITH DUAL FRONT WHEEL (05) - STEERING

Схема запчастей Case IH 570 - (194) - POWER STEERING, WITH DUAL FRONT WHEEL (05) - STEERING
22
16
28
3
52
49
20
55
51
45
46
48
14
35
1
47
25
2
53
10
19
18
27
35
23
39
5
6
36
10
13
41
24
21
43
44
7
29
26
17
46
15
4
42
12
37
40
11
54
30
50
38
FIT
1:1
100%

Артикул

Название

Примечание

Количество

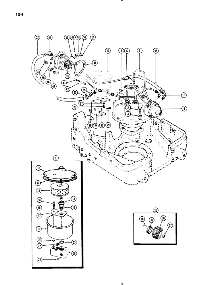
1

A36571

STEERING GEAR ASSY. - (For Repairs See Page 197)

1шт.

2

13-1028

BOLT,Hex, 5/8" - 11 x 1-3/4", Gr 5, Full Thd

Gear to support Hex, 5/8"-11 x 1 3/4", G5, Full Thd

6шт.

3

193-34

LOCK WASHER,Int Tooth, 5/8"

WASHER, LOCK, Int Tooth, 5/8"

6шт.

4

126-24

WOODRUFF KEY,#15, 1/4" x 1"

Steering gear #15, 1/4" x 1"

1шт.

5

A36553

TUBE - return and bleeder

1шт.

6

222-604

FITTING,1/2"-24 x 1/8" NPT, Comp

CONNECTOR - bleeder tube

1шт.

7

222-1027

ELBOW,90 Degree, 5/8"-18 Inv Fl x 3/8" NPT

- return tube (90 deg.)

1шт.

10

G45293

RESERVOIR

ASSY. - oil (includes ref. 11 - 24)

1шт.

11

G45308

COVER

ASSY. - reservoir (includes ref. 12)

1шт.

12

A24138

GASKET

- cover

1шт.

13

A42242

FILTER, ELEMENT

ELEMENT - filter (Replaces A30834)

1шт.

14

G46317

CUP - sealing

1шт.

15

G46316

STUD - filter base

1шт.

16

G46314

RESERVOIR - oil

1шт.

17

G46315

PLATE - reservoir reinforcement

1шт.

18

13-512

BOLT,Hex, 5/16" - 18 x 3/4", Gr 5

Plate Hex, 5/16"-18 x 3/4", G5, Full Thd

1шт.

19

92-5

LOCK WASHER,5/16"

1шт.

20

G46313

MANIFOLD - reservoir block

1шт.

21

A29197

O-RING,0.424" ID x 0.63" OD x 0.103"

"O" RING - manifold (7/16 x 5/8 x 3/32")

2шт.

22

A30097

O-RING,0.549" ID x 0.755" OD x 0.103"

"O" RING - manifold (9/16 x 3/4 x 3/32")

1шт.

23

F62075

O-RING,0.139" Thk x 0.734" ID, -210, Cl 5, 75 Duro

"O" RING - manifold (3/4 x 1 x 1/8")

1шт.

24

G49668

SEAT - oil lines

2шт.

25

G15961

BRACKET - reservoir

1шт.

26

13-512

BOLT,Hex, 5/16" - 18 x 3/4", Gr 5

Reservoir Hex, 5/16"-18 x 3/4", G5, Full Thd

2шт.

27

92-5

LOCK WASHER,5/16"

2шт.

28

A30679

SPACER - bracket (9/16 x 13/16 x 1/2")

1шт.

29

13-824

BOLT,Hex, 1/2" - 13 x 1-1/2", Gr 5, Full Thd

Bracket Hex, 1/2"-13 x 1 1/2", G5, Full Thd

1шт.

30

92-8

LOCK WASHER,1/2"

1шт.

35

G45467

PUMP, HYDRAULIC

PUMP ASSY. - steering (includes ref. 36 - 40)

1шт.

36

F18389

GEAR

- pump drive

1шт.

37

F18390

NUT

- gear retaining

1шт.

38

F18392

KEY - drive gear

1шт.

39

F18400

SPACER - drive gear

1шт.

40

A15233

SEAT

- oil lines

2шт.

41

A30042

GASKET

- pump

1шт.

42

13-652

BOLT,Hex, 3/8" - 16 x 3-1/4", Gr 5

- pump (3/8 x 3-1/4" N.C. hex hd.)

3шт.

43

192-21

LOCK WASHER,3/8"

WASHER, LOCK, 3/8"

3шт.

44

G45481

TUBE - by-pass 0.375" OD x 15.062, 3.875" L

1шт.

45

G45480

TUBE ASSY.,0.375" OD x 12" L

TUBE - pressure

1шт.

46

222-1027

ELBOW,90 Degree, 5/8"-18 Inv Fl x 3/8" NPT

- tubes (90 deg.)

2шт.

47

G46392

CLAMP - tubes

1шт.

48

G15959

STRAP - tube clamp

1шт.

49

75-48

SCREW,Rd, 1/4" - 20 x 1/2"

- clamp (1/4 x 1/2" N.C., rd. hd.)

1шт.

50

92-4

LOCK WASHER,1/4"

WASHER, LOCK, 1/4"

1шт.

51

25-104

NUT,1/4"-20, G5

1шт.

52

A35837

HOSE - return

1шт.

53

214-7

X

CLAMP - return hose

2шт.

54

217-134

ELBOW,90 Degree Elbow, 5/8" Hose Barb x 1/2" Male NPTF

- hose (at pump) (90 deg.)

1шт.

55

217-144

45 ELBOW,45 Degree Elbow, 5/8" Hose Barb x 1/2" Male NPTF

Hose (at reservoir) 45º, 5/8" Hose x 1/2" NPTF Beaded

1шт.

Выбрано товаров: 49