Запчасти Case IH 584 (10-040) - MULTIPLE CONTROL VALVE (07) - HYDRAULICS

Схема запчастей Case IH 584 - (10-040) - MULTIPLE CONTROL VALVE (07) - HYDRAULICS
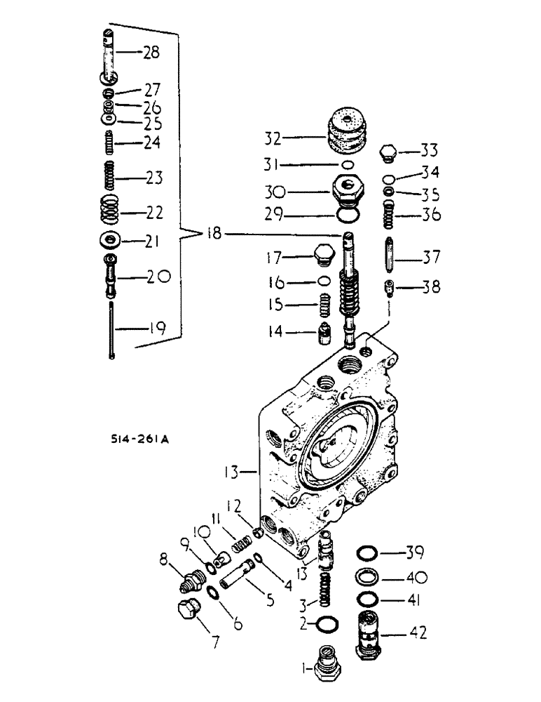
23
10
36
20
37
5
4
21
38
18
40
41
14
42
1
3
27
22
11
29
8
13
35
9
16
26
15
34
28
32
12
33
6
7
39
25
24
19
30
31
2
17
FIT
1:1
100%

Артикул

Название

Примечание

Количество

57714C94

VALVE

ASSY, MULTIPLE CONTROL

1шт.

1

405447R1

PLUG

ASSY, FLOW DIVIDER

1шт.

2

368269R1

O-RING,0.116" Thk x 0.924" ID, -912, Cl 6, 90 Duro

5/8 OD TUBE

1шт.

3

405448R1

SPRING

FLOW DIVIDER VALVE

1шт.

4

702788R1

O-RING,0.103" Thk x 0.362" ID, -110, Cl 6, 90 Duro

3/8 X 9/16 X 3/32

1шт.

5

55356C1

VALVE, CUSHION

ASSY, SAFET, 1500 PSI

1шт.

6

570828R1

O-RING,0.087" Thk x 0.644" ID, -908, Cl 6, 90 Duro

1/2 OD TUBE

1шт.

7

536855R1

PLUG

STR THD O-RING BOSS

1шт.

8

587639R1

HYD CONNECTOR,9/16"-18, 37 Degree x 3/4"-18, O-Ring

CONNECTOR, 9/16-18 ZND 37 DEG FLARED TUBE

1шт.

9

570828R1

O-RING,0.087" Thk x 0.644" ID, -908, Cl 6, 90 Duro

1/2 TUBE

1шт.

10

399870R2

RETAINER

CHECK VALVE SPRING

1шт.

11

399869R1

SPRING

CHECK VALVE

1шт.

12

382304R1

CHECK VALVE

1шт.

13

NSS

NOT SOLD SEPARAT

BODY ASSY, MULTIPLE CONTROL VALVE, FURNISH MULTIPLE CONTROL VALVE ASSY

1шт.

14

527482R1

VALVE,By-Pass

1шт.

15

1502544C1

SPRING

BY-PASS VALVE

1шт.

16

570828R1

O-RING,0.087" Thk x 0.644" ID, -908, Cl 6, 90 Duro

1/2 OD TUBE

1шт.

17

529492R2

PLUG

COOLER BY-PASS

1шт.

18

530775R93

VALVE

ASSY, CONTROL, CONSISTS OF ITEMS 19 - 28 INCL

1шт.

19

405454R2

PIN

CONTROL VALVE GUIDE

1шт.

20

405452R1

CONTROL VALVE

1шт.

21

405453R1

RETAINER

IPTO VALVE

1шт.

22

530776R1

SPRING

CONTROL VALVE

1шт.

23

381760R1

SPRING

CONTROL VALVE LIGHT

1шт.

24

399878R1

SPRING

CONTROL VALVE HV

1шт.

25

556980R1

WASHER

SPRING, RETAINER

1шт.

26

369107R1

SNAP RING,#21, Ext

SHIM, CONTROL, 3 OFF OR AS REQUIRED

1шт.

27

530778R1

RETAINER

PIN

1шт.

28

530777R2

STEM

STEM, CONTROL VALVE, INCLUDES PIN

1шт.

405456R1

PIN

CONTROL VALVE DOWEL

1шт.

29

297459R1

O-RING,0.116" Thk x 1.048" ID, -914, Cl 6, 90 Duro

7/8 OD TUBE

1шт.

30

530781R2

GUIDE

CONTROL VALVE STEM

1шт.

31

352221R1

O-RING,0.103" Thk x 0.549" ID, -113, Cl 5, 75 Duro

9/16 X 3/4 X 3/32

1шт.

32

530780R1

BOOT

IPTO CONTROL DUST

1шт.

33

573983R1

PLUG

REGULATOR VALVE

1шт.

34

364839R1

O-RING,0.078" Thk x 0.468" ID, -906, Cl 6, 90 Duro

3/8 OD tube

1шт.

35

363454R1

WASHER,8.33mm ID x 12.3mm OD x 0.81mm Thk

SPRING, RETAINER

1шт.

36

549850C1

SPRING

PRESSURE REGUALTOR VALVE

1шт.

37

399881R1

PIN

PRESSURE REGULATOR VALVE

1шт.

38

399882R1

POPPET

PRESSURE REGULATOR POPPET

1шт.

39

383219R1

O-RING,0.924" ID x 0.103" Width

15/16 X 1-1/8 X 3/32

1шт.

40

378985R2

BACK-UP RING

BACK-UP

1шт.

41

364879R1

O-RING,0.103" Thk x 0.862" ID, -118, Cl 5, 75 Duro

7/8 X 1-1/16 X 3/32

1шт.

42

399858R92

VALVE

ASSY, PILOT RELIEF, 2500 PSI

1шт.

Выбрано товаров: 44