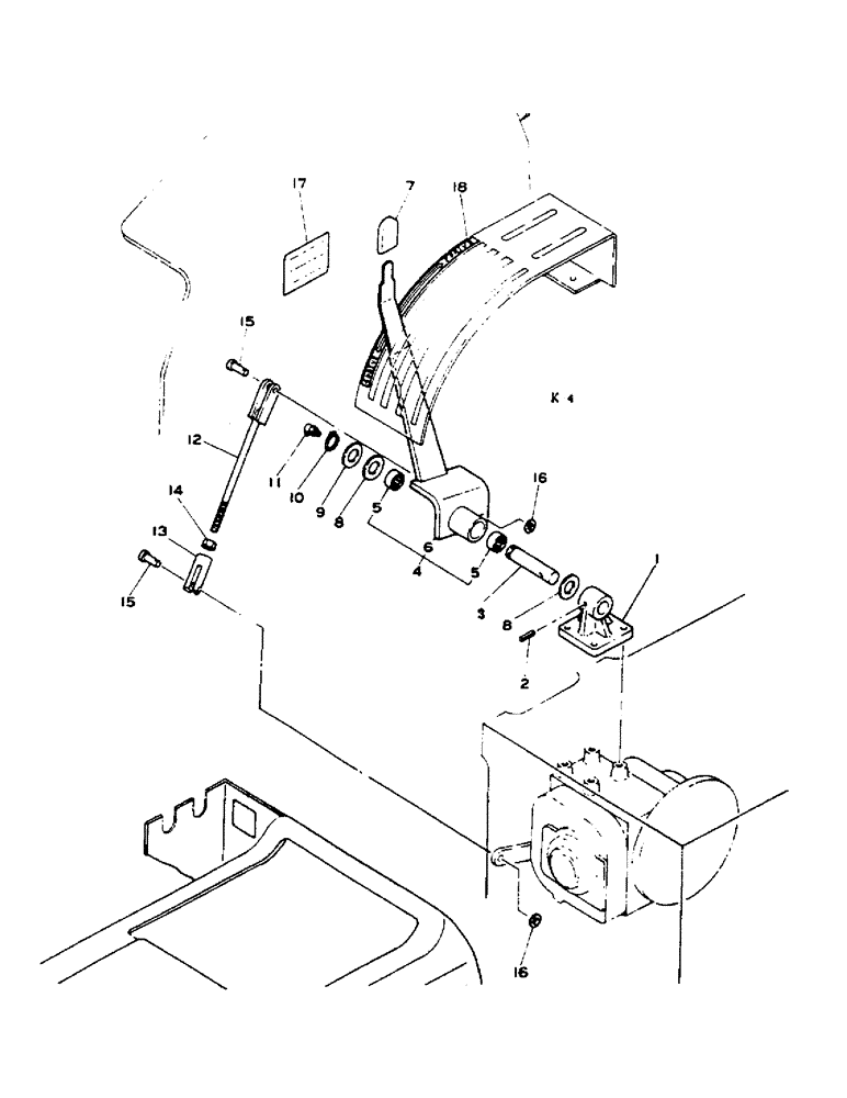
Запчасти Case IH 584 (07-52) - LEVER CONTROL, ALL WHEEL DRIVE, KIMCO AXLE (04) - Drive Train

Схема запчастей Case IH 584 - (07-52) - LEVER CONTROL, ALL WHEEL DRIVE, KIMCO AXLE (04) - Drive Train
5
6
16
8
17
15
12
8
18
7
2
1
9
11
10
13
15
18
4
5
14
3
FIT
1:1
100%

Артикул

Название

Примечание

Количество

1

1002614C1

BRACKET

lever

1шт.

24840R1

BOLT,Hex, 3/8" - 16 x 1", Gr 8

4шт.

2

617940R1

PIN,5/16" x 1 3/4", Coiled

1шт.

3

1002564C3

PIN

lever

1шт.

4

1002626C13

LEVER

ASSY

1шт.

5

1002602C1

NEEDLE BEARING,22mm ID x 28mm OD x 12mm

BEARING, needle

2шт.

6

1002624C3

LEVER

1шт.

7

1003199C1

GRIP

1шт.

8

1003842C1

SHIM

1шт.

9

21868V

WASHER

1шт.

10

933105R1

SNAP RING,M22, Ext

RING, snap

1шт.

11

1014683C1

FITTING

grease

1шт.

12

1002625C3

ROD

1шт.

13

1014677C1

YOKE

1шт.

14

933238R1

JAM NUT

1шт.

15

1014366C1

PIN

2шт.

1014976C1

PIN

cotter

2шт.

16

1002527C1

WASHER

2шт.

17

1093130R1

PRODUCT GRAPHIC

caution

1шт.

18

1093124R1

PRODUCT GRAPHIC

1шт.

Выбрано товаров: 20