Запчасти Case IH 584 (07-68) - CONTROL LEVER, ALL WHEEL DRIVE, ZF AXLE (04) - Drive Train

Схема запчастей Case IH 584 - (07-68) - CONTROL LEVER, ALL WHEEL DRIVE, ZF AXLE (04) - Drive Train
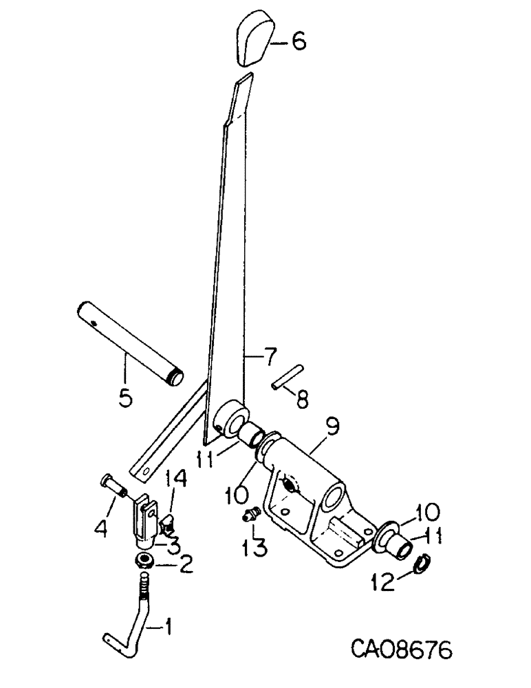
10
4
7
3
8
10
14
11
12
9
2
11
1
13
5
6
FIT
1:1
100%

Артикул

Название

Примечание

Количество

1

1500011C1

ROD

1шт.

30282R1

WASHER,M10 x 20 x 2

10.8 x 21 x 2mm

2шт.

937792R1

PIN, SPLIT (COTTER)

PIN, 3.2 x 20mm pln cot

2шт.

2

30168R1

NUT,M10, Cl 10

M10 PHC class 10

1шт.

3

3129369R1

CLEVIS

1шт.

4

1281764C1

PIN

clevis

1шт.

5

1500008C1

SHAFT

1шт.

6

3129746R1

BUTTON

KNOB

1шт.

7

1500000C1

LEVER

ASSY

1шт.

8

Q2935

LOCK PIN,M8 x 45, Slotted

PIN, 8 x 45mm cld spr

1шт.

9

1500004C91

BRACKET

ASSY W/TWO BUSHINGS 405574R1

1шт.

30284R1

NUT,M10, Cl 10

M10 class 10

2шт.

11106231

BOLT,Hex, M10 x 1.5 x 25mm, Cl 10.9

M10 x 25 class 8.8

2шт.

933965R1

LOCK WASHER,M10

2шт.

1500763C1

STUD

M10 x 42

2шт.

10

1500009C1

SPACER

2шт.

11

405574R1

BUSHING

2шт.

12

454417R1

SNAP RING,#100, Ext

RING, .925 ext ret

1шт.

13

109461

LUBE NIPPLE,1/8"-27 x .66 lg

NIPPLE, LUBE, , PTF 1/8"-27 x .66 lg

1шт.

14

1281765C1

CLIP

safety

1шт.

1093130R1

PRODUCT GRAPHIC

PRODUCT-GRAPHIC, caution

1шт.

1093124R1

PRODUCT GRAPHIC

PRODUCT-GRAPHIC, control

1шт.

1093136R1

PRODUCT GRAPHIC

PRODUCT-GRAPHIC, lubrication

1шт.

Выбрано товаров: 23