Запчасти Case IH 584 (12-32) - VALVE HOUSING COVER, TRACTORS WITH VALVE COVER BREATHER Power

Схема запчастей Case IH 584 - (12-32) - VALVE HOUSING COVER, TRACTORS WITH VALVE COVER BREATHER Power
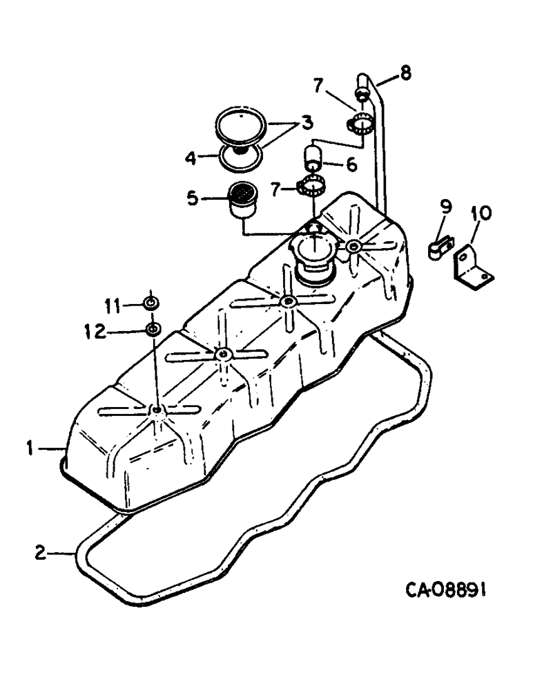
1
2
11
3
10
6
8
4
12
5
7
7
9
FIT
1:1
100%

Артикул

Название

Примечание

Количество

1

1806831C1

VALVE COVER

COVER ASSY, valve housing

1шт.

187953

BOLT,Hex, 5/16" - 18 x 4 1/2", Gr 5

4шт.

2

3138642R1

GASKET

valve housing cover

1шт.

3

3136337R91

COVER

CAP, breather, includes gasket

1шт.

4

3136338R1

GASKET,45mm ID x 68mm OD x 2.3mm Thk

breather cap

1шт.

5

3136336R1

FILTER

ELEMENT, breather

1шт.

6

1806928C1

HOSE

connecting

1шт.

7

333710R91

HOSE CLAMP,#16, 0.81/1.50 Type F Worm

SWITCH MOUNTING, no. 16 type F hose

2шт.

8

1806992C1

TUBE,18 mm OD

breather

1шт.

9

3144023R1

CLAMP

1шт.

181088

BOLT (SPREADER),Hex, 5/16" - 18 x 1", Gr 5

BOLT, 5/16"-18 x 1" PHC type 5

1шт.

27326R1

WASHER,.344" x 11/16" x .089", HDN

.344 x .688 x .089 PHC hdn

2шт.

10

1806993C1

SUPPORT

BRACKET, tube clamp

1шт.

11

3138637R1

CUP WASHER

WASHER, valve cover

4шт.

12

3138638R1

RING,7.5mm ID x 15mm OD x 4mm Thk

valve cover

4шт.

9635082

NUT,5/16" - 18, Gr 5

1шт.

Выбрано товаров: 16