Запчасти Case IH 584 (14-12) - TIE ROD ASSY, ADJUSTABLE FRONT AXLE, STRAIGHT, IH Suspension

Схема запчастей Case IH 584 - (14-12) - TIE ROD ASSY, ADJUSTABLE FRONT AXLE, STRAIGHT, IH Suspension
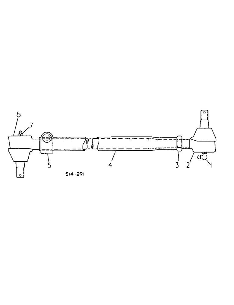
4
7
5
6
2
3
1
FIT
1:1
100%

Артикул

Название

Примечание

Количество

NSS

NOT SOLD SEPARAT

ROD ASSY, adj tie, order components, IH

2шт.

1

87415

LUBE NIPPLE,90 Degree, 1/4" NPT x 3/4" L, Drive

NIPPLE, LUBE, 90°, 1/4" NPT x .75" lg, Drive

1шт.

2

527658R91

BALL JOINT

END ASSY, RH

1шт.

2

527658R91GV

TIE-ROD

Value, Tie Rod End

1шт.

102648

SLOTTED NUT,9/16"-18, G5

1шт.

103385

COTTER PIN,1/8" x 1"

PIN, SPLIT (COTTER), 1/8" x 1"

1шт.

358900R1

SEAL

COVER, dust

1шт.

3

390686R1

JAM NUT

11/16-18 hex jam

1шт.

4

67529C1

TUBE,0.766" ID, 1.005" OD, 16.21" Length

1шт.

5

43747D

CLAMP

1шт.

537165R1

BOLT,Hex, 7/16" - 20 x 1-7/8", Gr 5

7/16-20 x 1-3/4 cap

1шт.

9421096

LOCK WASHER,7/16"

1шт.

271505

BODY

7/16-NF pln type 5

1шт.

6

65079C91

END

ASSY, LH

1шт.

102648

SLOTTED NUT,9/16"-18, G5

1шт.

103385

COTTER PIN,1/8" x 1"

PIN, SPLIT (COTTER), 1/8" x 1"

1шт.

7

219-8

LUBE NIPPLE,1/4" - 28 NPTF

NIPPLE, LUBE, 1/4"-28 NPT x .54" lg

1шт.

Выбрано товаров: 17