Запчасти Case IH 585 (6-378) - POWER TAKE OFF CONTROL, WITH CAB (06) - POWER TRAIN

Схема запчастей Case IH 585 - (6-378) - POWER TAKE OFF CONTROL, WITH CAB (06) - POWER TRAIN
13
9
6
26
17
4
10
32
15
15
5
18
30
25
1
14
21
19
28
27
13
2
29
21
23
7
3
22
16
31
12
24
11
20
16
8
FIT
1:1
100%

Артикул

Название

Примечание

Количество

1

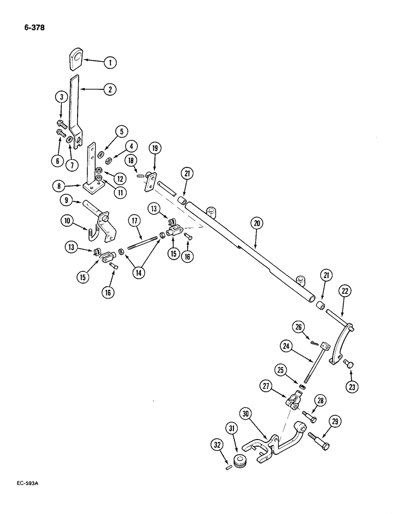
99859C1

BUTTON

KNOB control, yellow

1шт.

2

80341C1

LEVER

upper IPTO

1шт.

3

180173

BOLT,Hex, 1/2" - 13 x 1", Gr 5

1шт.

4

120378

NUT,Hex, 1/2" - 13, Gr 5

NUT, 1/2"-13, G5

1шт.

5

NLS

NO LONGER SERVICED

flat, 0.531 x 1.063 x 0.074 inch

1шт.

6

814-8016

BOLT,Hex, M8 x 1.25 x 16mm, Cl 8.8, Full Thd

1шт.

7

934675R1

WASHER,M8 x 16 x 1.6

Flat, ZND M8 x 16 x 1.6

1шт.

8

80340C1

LEVER

lower IPTO

1шт.

9

1287367C1

ARM ASSY.

ARM

1шт.

10

3129349R1

U-BOLT,M8 x 1.25 x 36.25mm

BOLT U-type, M8

1шт.

11

934675R1

WASHER,M8 x 16 x 1.6

Flat, ZND M8 x 16 x 1.6

2шт.

12

30167R1

NUT,M8, Cl 10

hex, M8, class 10

2шт.

13

3129997R1

CLIP

2шт.

14

30281R1

NUT,M6, Cl 10

- hex, M6, class 10

2шт.

15

3234763R1

ADJUSTABLE CLEVIS,M6

CLEVIS M6 x 24 mm

2шт.

16

3129996R1

CLEVIS PIN

PIN

2шт.

17

1287368C1

ROD

control

1шт.

18

30404R1

LOCK PIN,M6 x 20, Slotted

PIN slotted spring, 6 x 20 mm

1шт.

19

3129986R1

ARM ASSY.

ARM crossover

1шт.

20

1282949C91

SUPPORT ASSY.

SUPPORT IPTO control shaft, Includes: Ref. 21

1шт.

21

528839R1

BUSHING

2шт.

22

1283446C1

SHAFT ASSY.

SHAFT crossover

1шт.

23

535453R1

PIN

IPTO rod

1шт.

24

535450R1

ROD ASSY.

ROD IPTO control

1шт.

25

114493

JAM NUT,Jam, 5/16"-24, G5

1шт.

26

103375

COTTER PIN,3/32" x 1 1/4"

Pin, Split (Cotter), 3/32" x 1 1/4"

1шт.

27

528837R1

CLEVIS,5/16" - 24

IPTO control

1шт.

28

530809R1

BOLT,Shoulder, Hex, 1/4" - 28 x 1.06"

shoulder

1шт.

29

401754R1

BOLT,3/8" - 16 x 2.20"

control arm pivot shaft

1шт.

30

94344C1

LEVER

IPTO controls

1шт.

31

530813R2

GUIDE BUSHING

COLLAR IPTO control

1шт.

32

25215R1

PIN,3/16" x 7/8", Coiled

1шт.

Выбрано товаров: 32