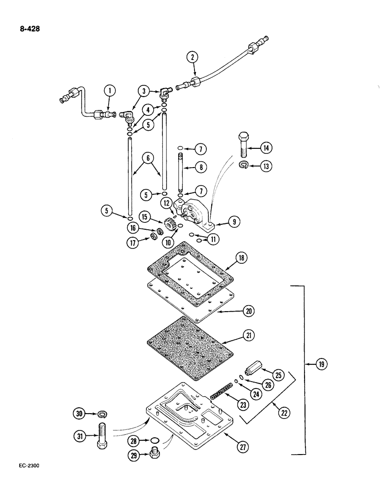
Запчасти Case IH 585 (8-428) - HYDRAULIC PUMP AND CONNECTIONS, PRIOR TO P.I.N. 18001, TRACTOR WITH FORWARD AND REVERSE (08) - HYDRAULICS

Схема запчастей Case IH 585 - (8-428) - HYDRAULIC PUMP AND CONNECTIONS, PRIOR TO P.I.N. 18001, TRACTOR WITH FORWARD AND REVERSE (08) - HYDRAULICS
8
5
18
13
16
19
23
21
14
1
12
9
6
20
17
15
7
7
30
3
5
31
26
5
2
28
25
4
22
10
11
24
29
27
FIT
1:1
100%

Артикул

Название

Примечание

Количество

1

66117C1

TUBE ASSY.

TUBE oil cooler return rear

1шт.

2

66116C2

TUBE ASSY.,0.5" OD, 13.04, 2.26" Length

TUBE return, forward and reverse

1шт.

3

9410977

ELBOW,90 Degree, 3/4"-16, 37 Degree x 3/4"-16, O-Ring

90 degree adjustable, 1/2 inch OD tube

2шт.

4

570828R1

O-RING,0.087" Thk x 0.644" ID, -908, Cl 6, 90 Duro

1/2 inch OD tube, class 6

2шт.

5

252739R1

O-RING,0.103" Thk x 0.487" ID, -112, Cl 5, 75 Duro

1/2 x 11/16 inch, class 5

4шт.

6

402545R1

PRESSURE PIPE

TUBE pump pressure

2шт.

7

382997R1

O-RING,0.07" Thk x 0.489" ID, -14, Cl 6, 90 Duro

1/2 x 5/8 inch, class 6

2шт.

8

402544R1

SUCTION PIPE

TUBE oil inlet

1шт.

9

527757R92

PUMP

hydraulic, Includes: Ref. 10-12

1шт.

10

574069R1

O-RING,0.750" ID x .062"

3/4 x 7/8 inch, class 5

1шт.

11

128359

O-RING,0.07" Thk x 0.614" ID, -16, Cl 5, 75 Duro

5/8 x 3/4 inch, class 5

2шт.

12

427261

KEY

woodruff, 1/8 x 3/8 inch

1шт.

13

103321

LOCK WASHER,3/8"

WASHER, LOCK, 3/8"

2шт.

14

179841

BOLT,Hex, 3/8" - 16 x 1 1/4", Gr 5

- hex, 3/8"-16 NC x 1-1/4", G5

2шт.

15

528076R1

GEAR

pump driven, 14 teeth

1шт.

16

115548

LOCK WASHER,Int Tooth, 5/16"

WASHER, LOCK, Int Tooth, 5/16"

1шт.

17

114493

JAM NUT,Jam, 5/16"-24, G5

1шт.

18

402556R2

GASKET

clutch housing bottom rear cover

1шт.

19

402547R97

VALVE

pressure regulator, Includes: Ref. 20-29

1шт.

20

402554R1

PLATE

pump

1шт.

21

402555R3

GASKET

pump plate

1шт.

22

1502344C93

PACKAGE

KIT service, regulator valve, Includes: Ref. 23-25

1шт.

23

NSS

NOT SOLD SEPARAT

SPRING

1шт.

24

NSS

NOT SOLD SEPARAT

SHIM

4шт.

25

NSS

NOT SOLD SEPARAT

PLUG

1шт.

26

570828R1

O-RING,0.087" Thk x 0.644" ID, -908, Cl 6, 90 Duro

1/2 inch OD tube, class 6

1шт.

27

NSS

NOT SOLD SEPARAT

BODY pressure regulator

1шт.

28

369751R1

O-RING,0.072" Thk x 0.351" ID, -904, Cl 6, 90 Duro

4-1, 90 Duro, .351" ID x .072" Thk, 1/4 OD tube, class 6

1шт.

29

9410356

PLUG

O-ring boss, 7/16 inch NF

1шт.

30

103321

LOCK WASHER,3/8"

WASHER, LOCK, 3/8"

11шт.

31

179842

SPACER

BOLT hex, 3/8 NC x 1-3/8 inch, grade 5

11шт.

Выбрано товаров: 31