Запчасти Case IH 585 (9-516) - REAR FENDERS, CROWN TYPE, WITHOUT CAB (09) - CHASSIS/ATTACHMENTS

Схема запчастей Case IH 585 - (9-516) - REAR FENDERS, CROWN TYPE, WITHOUT CAB (09) - CHASSIS/ATTACHMENTS
7
9
10
11
1
8
14
5
10
3
4
4
2
15
6
13
5
12
5
FIT
1:1
100%

Артикул

Название

Примечание

Количество

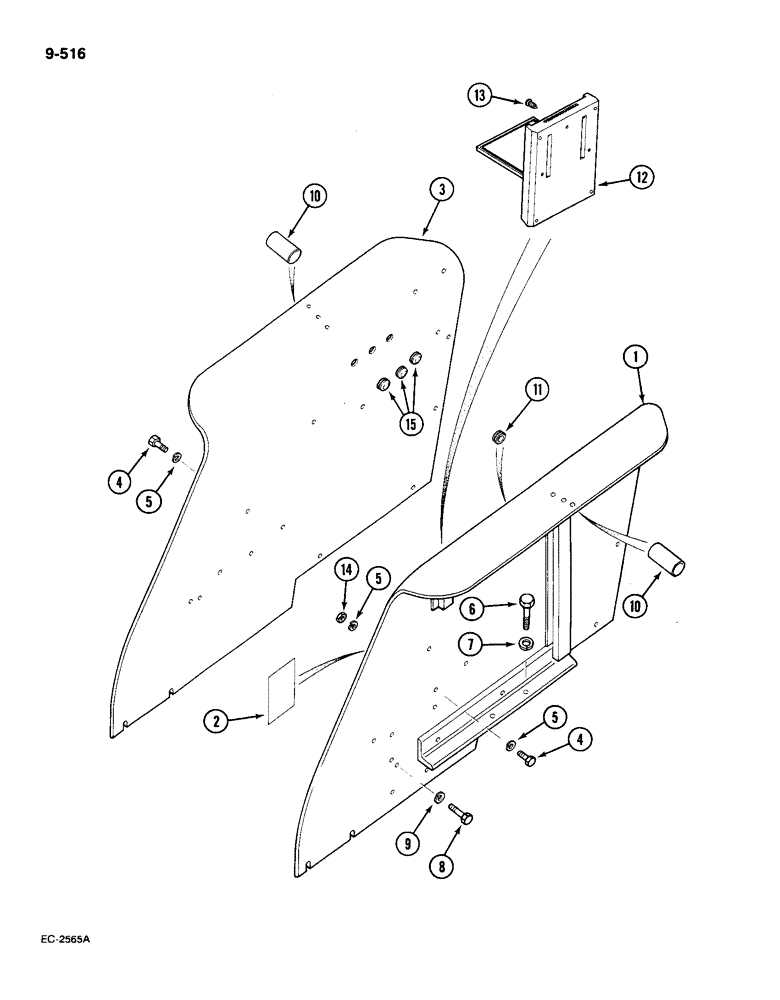
1

1332979C1

FENDER

left (orchard tractor)

1шт.

1

538639R3

FENDER ASSY.

FENDER left, with decal, lo-crown

1шт.

1

538641R4

FENDER ASSY.

FENDER left, with decal, hi-crown, Includes: Ref. 2

1шт.

2

321-6771

DECAL

warning instructions

1шт.

3

1332980C1

FENDER ASSY.

FENDER right (orchard tractor)

1шт.

3

530002R6

FENDER ASSY.

FENDER right, lo-crown

1шт.

3

530015R8

FENDER ASSY.

FENDER right, hi-crown

1шт.

4

88574

BOLT,Hex, 5/16" - 18 x 1/2", Gr 5, Full Thd

rear top and hitch control covers Hex, 5/16"-18 x 1/2", G5, Full Thd

8шт.

5

80681

LOCK WASHER,5/16"

WASHER, LOCK, , Rear top and Hitch control covers 5/16"

8шт.

6

180175

BOLT,Hex, 1/2" - 13 x 1 1/4", Gr 5

SCREW hex hd cap, axle carrier, 1/2 x 1-1/4

4шт.

7

120384

WASHER,1/2"

LOCK, , Axle carrier 1/2"

4шт.

8

180118

BOLT,Hex, 3/8" - 16 x 5/8", Gr 5

hex, park brake bracket, 3/8 NC x 5/8 inch, type 5

2шт.

8

180122

BOLT,Hex, 3/8" - 16 x 1", Gr 5

hex, park brake bracket, 3/8 NC x 1 inch, grade 5

1шт.

9

120382

LOCK WASHER,Helical Spring, 3/8"

WASHER, LOCK, 3/8"

3шт.

10

3125820R1

SLEEVE

PVC, lo-crown

3шт.

10

3125820R1

SLEEVE

PVC, hi-crown

1шт.

11

531625R1

GROMMET

2шт.

12

A177376

BOX

operators manual

1шт.

13

A162364

FASTENER

panel

3шт.

14

120376

NUT,5/16"-18, G5

Hitch control cover 5/16"-18, G5

2шт.

15

99964C1

PLUG

blanking

6шт.

Выбрано товаров: 21