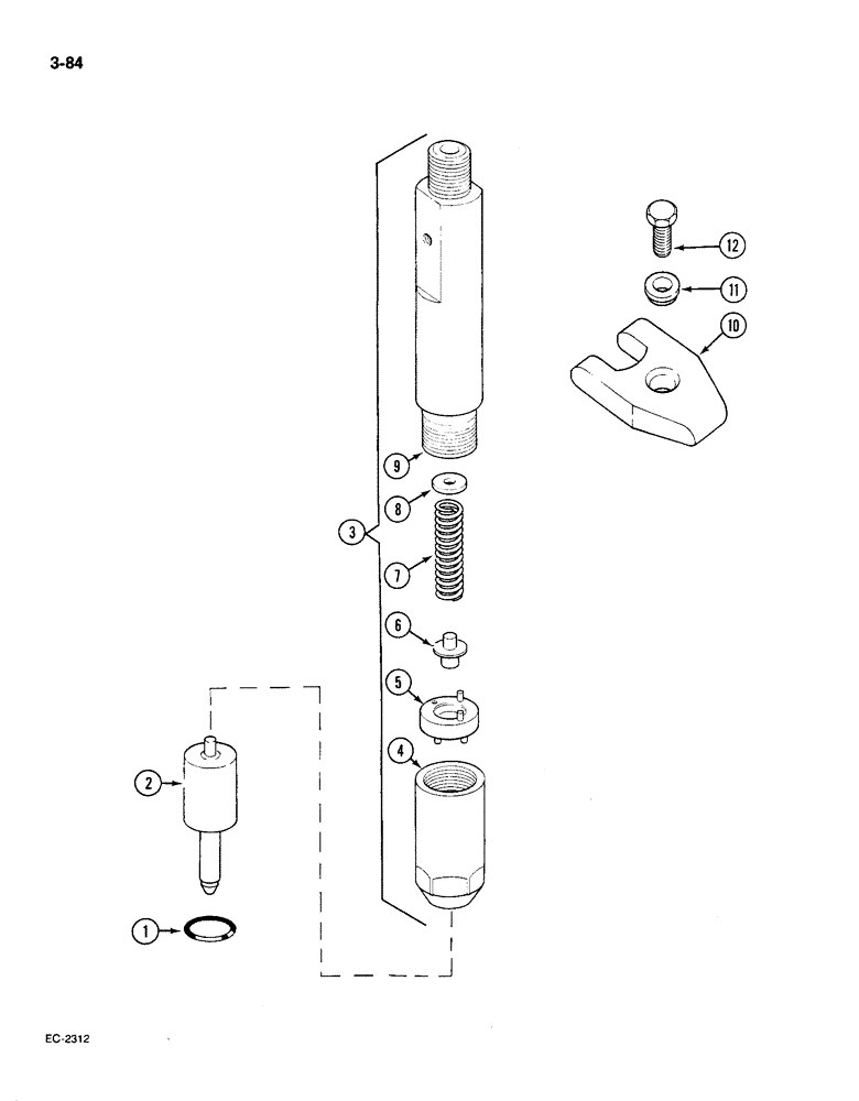
Запчасти Case IH 585 (3-084) - FUEL INJECTION NOZZLE HOLDER (03) - FUEL SYSTEM

Схема запчастей Case IH 585 - (3-084) - FUEL INJECTION NOZZLE HOLDER (03) - FUEL SYSTEM
11
9
1
2
8
6
10
7
12
5
3
4
FIT
1:1
100%

Артикул

Название

Примечание

Количество

1

717203R1

O-RING,4mm Thk x 17mm ID, 72 Duro

4шт.

2

3218248R2

NOZZLE CAP

NOZZLE injection

4шт.

3

3218247R92

HOLDER

injection nozzle, Includes: Ref. 4-9

4шт.

4

3218388R1

NUT

nozzle cap

1шт.

5

3218387R1

SPACER

1шт.

6

3218386R2

SPACER

PIN pressure

1шт.

7

3218385R2

SPRING

compression

1шт.

8

3218657R1

SHIM

0.500 mm

1шт.

8

3218658R1

SHIM

0.525 mm

1шт.

8

3218659R1

SHIM

0.550 mm

1шт.

8

3218660R1

SHIM

0.575 mm

1шт.

8

3218661R1

SHIM

0.600 mm

1шт.

8

3218662R1

SHIM

0.700 mm

1шт.

8

3218663R1

SHIM

0.800 mm

1шт.

8

3218664R1

SHIM

0.900 mm

1шт.

9

3218389R1

BODY

1шт.

10

3218128R1

RETAINER

fuel injection nozzle

4шт.

11

3218129R1

WASHER

4шт.

12

24477R1

BOLT,Hex, 5/16" - 18 x 1", Gr 8

4шт.

Выбрано товаров: 19