Запчасти Case IH 585 (4-148) - BATTERY TRAY, WITHOUT CAB (04) - ELECTRICAL SYSTEMS

Схема запчастей Case IH 585 - (4-148) - BATTERY TRAY, WITHOUT CAB (04) - ELECTRICAL SYSTEMS
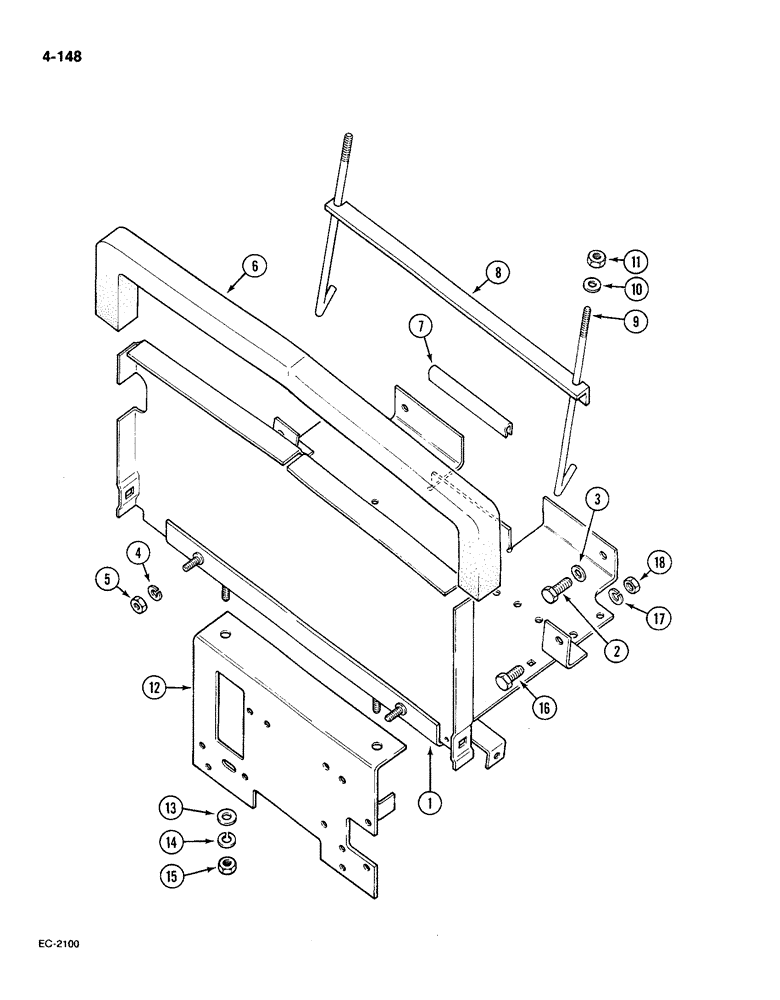
11
3
17
7
1
12
5
2
14
9
18
10
16
6
15
8
4
13
FIT
1:1
100%

Артикул

Название

Примечание

Количество

1

3121626R1

TRAY ASSY.

TRAY battery

1шт.

1

1333063C1

TRAY

battery (orchard version)

1шт.

2

113-206

BOLT,Hex, 3/8" - 16 x 3/4", Gr 5, Full Thd

hex, 3/8 NC x 3/4 inch, grade 5

2шт.

3

120394

WASHER,3/8", SAE

WASHER flat, 13/32 x 13/16 x 3/64 inch

2шт.

4

103319

LOCK WASHER,1/4"

WASHER, LOCK, 1/4"

1шт.

5

109084

NUT,1/4"-20, G5

1шт.

6

NSS

NOT SOLD SEPARAT

GASKET (Cut from 73217C2)

1шт.

6

73217C2

FILLING STRIP

SEAL foam, bulk length, 4 foot roll

1шт.

7

3113841R1

MOLDING

MOULDING edge

1шт.

8

3121178R1

BRACKET

battery hold down

1шт.

9

527605R3

ROD

battery hold down

2шт.

10

120393

BEARING WASHER,5/16", SAE

WASHER flat, 0.344 x 0.688 x 0.051 inch

2шт.

11

120376

NUT,5/16"-18, G5

2шт.

12

3123057R2

SUPPORT ASSY.

SUPPORT battery tray

1шт.

12

1333073C1

SUPPORT

battery tray (orchard version)

1шт.

13

20893R1

WASHER

plain, 0.344 x 1.00 x 0.105 inch

2шт.

14

80681

LOCK WASHER,5/16"

WASHER, LOCK, 5/16"

2шт.

15

120376

NUT,5/16"-18, G5

2шт.

16

13-510

BOLT,Hex, 5/16" - 18 x 5/8", Gr 5, Full Thd

- hex, 5/16 NC x 5/8 inch, grade 5

2шт.

17

103320

LOCK WASHER,5/16"

WASHER, LOCK, 5/16"

2шт.

18

9635082

NUT,5/16" - 18, Gr 5

hex, 5/16 inch NC, grade 5

2шт.

Выбрано товаров: 21