Запчасти Case IH 595 (8-12) - HYDRAULIC POWER SUPPLY, MULTIPLE CONTROL VALVE (08) - HYDRAULICS

Схема запчастей Case IH 595 - (8-12) - HYDRAULIC POWER SUPPLY, MULTIPLE CONTROL VALVE (08) - HYDRAULICS
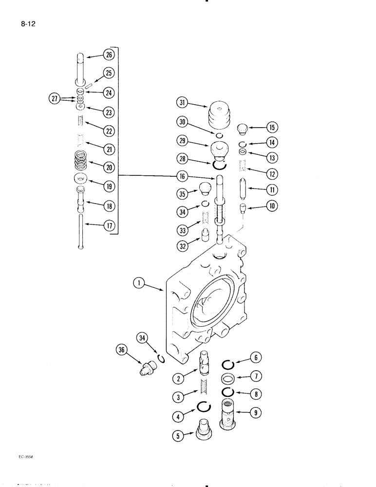
33
20
23
15
30
12
4
10
3
11
26
2
22
17
31
8
35
16
18
28
19
1
29
25
34
21
6
7
27
14
13
36
9
5
32
34
24
FIT
1:1
100%

Артикул

Название

Примечание

Количество

94281C92

VALVE

ASSEMBLY - multiple control, Includes: Ref. 1 - 36

1шт.

1

NSS

NOT SOLD SEPARAT

BODY - multiple control valve (Order valve assembly 94281C92), Includes: Ref. 2

1шт.

2

1543121C1

SPOOL

- flow divider

1шт.

3

1345986C1

SPRING

- flow divider valve

1шт.

4

237-6012

O-RING,0.116" Thk x 0.924" ID, -912, Cl 6, 90 Duro

12-1, 90 Duro, .924 ID x .116" Thk

1шт.

5

9841223

PLUG,1-1/16" - 12 ORB

Flow divider Hex Soc, 1 1/16"-12 ORB

1шт.

6

238-6119

O-RING,0.103" Thk x 0.924" ID, -119, Cl 6, 90 Duro

1шт.

7

378985R2

BACK-UP RING

- backup

1шт.

8

238-5118

O-RING,0.103" Thk x 0.862" ID, -118, Cl 5, 75 Duro

1шт.

9

399858R92

VALVE

ASSEMBLY - pilot relief (2500 psi)

1шт.

10

399882R1

POPPET

- poppet, pressure regulator

1шт.

11

399881R2

PIN

- pressure regulator valve

1шт.

12

549850R1

SPRING

- pressure regulator valve

1шт.

13

363454R1

WASHER,8.33mm ID x 12.3mm OD x 0.81mm Thk

- spring retainer

1шт.

15

573983R1

PLUG

- regulator valve

1шт.

16

530775R93

VALVE

ASSEMBLY - control, Includes: Ref. 17 - 26

1шт.

17

405454R2

PIN

- control valve guide

1шт.

18

405452R2

VALVE

- control (Order valve assembly 530775R93)

1шт.

19

405453R1

RETAINER

- IPTO valve

1шт.

20

530776R1

SPRING

- control valve return

1шт.

21

381760R1

SPRING

- control valve (Light)

1шт.

22

399878R2

SPRING

- control valve (Heavy)

1шт.

23

95-61020

WASHER,13/64" x 3/4" x .060"

- flat, 13/64 x 3/4 x 3/64 inch

1шт.

24

530778R1

RETAINER

- pin

1шт.

25

405456R1

PIN

- dowel, control valve

1шт.

26

530777R2

STEM

- control valve

1шт.

27

25408R1

SNAP RING,#X21, .185" Dia, E-Type

Ring, Retaining, #X21, .185" Dia, E-Type

1шт.

28

237-6014

O-RING,0.116" Thk x 1.048" ID, -914, Cl 6, 90 Duro

- 1-3/64 ID x 1/64 inch wide, class 6

1шт.

29

530781R2

GUIDE

- control valve stem

1шт.

30

238-5113

O-RING,0.103" Thk x 0.549" ID, -113, Cl 5, 75 Duro

1шт.

31

530780R1

BOOT

- dust, IPTO control

1шт.

32

527482R1

VALVE,By-Pass

VALVE - by-pass

1шт.

33

1502544C1

SPRING

- by-pass valve

1шт.

34

237-6008

O-RING,0.087" Thk x 0.644" ID, -908, Cl 6, 90 Duro

8-1, 90 Duro, .644" ID x .087" Thk

2шт.

35

529492R2

PLUG

- cooler by-pass

1шт.

36

218-5059

HYD CONNECTOR,3/4"-16, 37 Degree x 3/4"-16, O-Ring

ADAPTER - straight, 3/4 inch NF flare x O-ring boss

1шт.

14

237-6006

O-RING,0.078" Thk x 0.468" ID, -906, Cl 6, 90 Duro

6-1, 90 Duro, .468" ID x .078" Thk

1шт.

Выбрано товаров: 37