Запчасти Case IH 633 (07-35) - DIFFERENTIAL LOCK - E-633 - FOR U.K. ONLY - (04) - Drive Train

Схема запчастей Case IH 633 - (07-35) - DIFFERENTIAL LOCK - E-633 - FOR U.K. ONLY - (04) - Drive Train
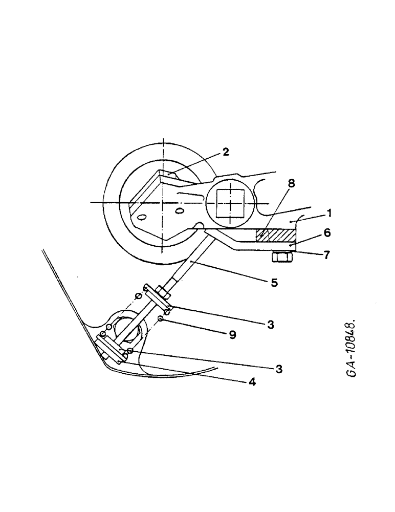
7
5
2
1
9
3
6
4
3
8
FIT
1:1
100%

Артикул

Название

Примечание

Количество

1

3404423R1

PEDAL

SPARE PART FOOT, WITH SLIDING PLATE AND LUBRICATOR

1шт.

933190R91

LUBE NIPPLE,1/8"-28 BSP x 20mm lg

FITTING

1шт.

2

786429R1

PLATE

SLIDING

1шт.

104168

RIVET,Csk, 1/4" x 7/8"

1/4" X 11 MM

2шт.

3

3404425R1

WASHER

SPARE PART

2шт.

4

3404426R1

ANGLE

SPARE PART

1шт.

5

3404427R1

ROD

SPARE PART

1шт.

86500688

NUT,Hex, M6 x 1.0, Cl 10.9

1шт.

6

3404428R1

SUPPORT

SPARE PART BRACKET

1шт.

24477R1

BOLT,Hex, 5/16" - 18 x 1", Gr 8

1шт.

7

120393

BEARING WASHER,5/16", SAE

1шт.

8

3404429R1

BAR

SPARE PART PLATE SPACER

1шт.

9

3056787R1

SPRING

1шт.

Выбрано товаров: 13