Качественные детали и логистика
Оригинальные и аналоговые запчасти с доставкой по России, Казахстану и Беларуси
©2022 PartSell ООО "Система" ИНН 2463123282 ОГРН 1212400004838
Центральный офис: г. Красноярск, Академика Киренского, д.87, пом.4
Телефон: 8 (800) 777-65-74 Email: zakaz@partsell.ru
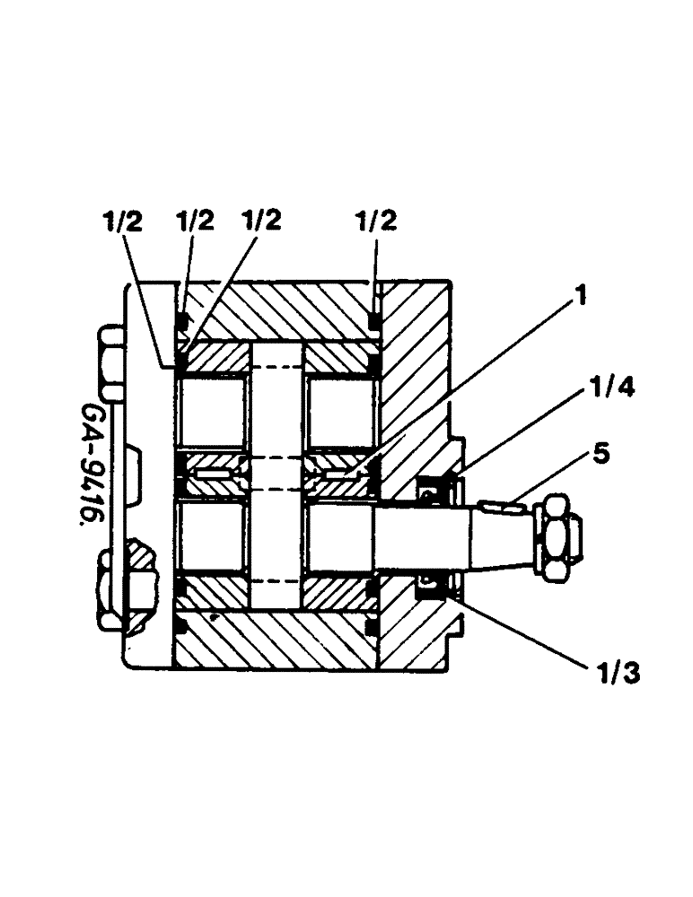
(2H10A) - HYDRAULIC PUMP "BOSCH"
№
Артикул
Название
Примечание
Количество
3145248R93
HYDRAULIC PUMP,8 CC
Includes: 1 - 5
1шт.
892-10012
LOCK WASHER,M12
934945R1
NUT,Thin, M12 x 1.5, Cl 04
1
3216609R91
SEAL
PACKAGE,(-"Bosch" FD 630)
3223963R91
SEAL KIT
PACKAGE, ("Bosch" FD 631-821)
2
K261708
PACKAGE, ("Bosch" FD 822-)
3
3131177R1
SEALING RING
oil
4
933031R1
SNAP RING,M30, Int
5
155700750718
WOODRUFF KEY
Выбрано товаров: 0