Запчасти Case IH 644 (2J03) - ELECTRICAL INSTRUMENTS Instruments

Схема запчастей Case IH 644 - (2J03) - ELECTRICAL INSTRUMENTS Instruments
13
14
4
25
7
3
22
23
18
8
29
24
19
11
10
2
21
5
17
26
9
6
27
28
12
15
1
20
16
FIT
1:1
100%

Артикул

Название

Примечание

Количество

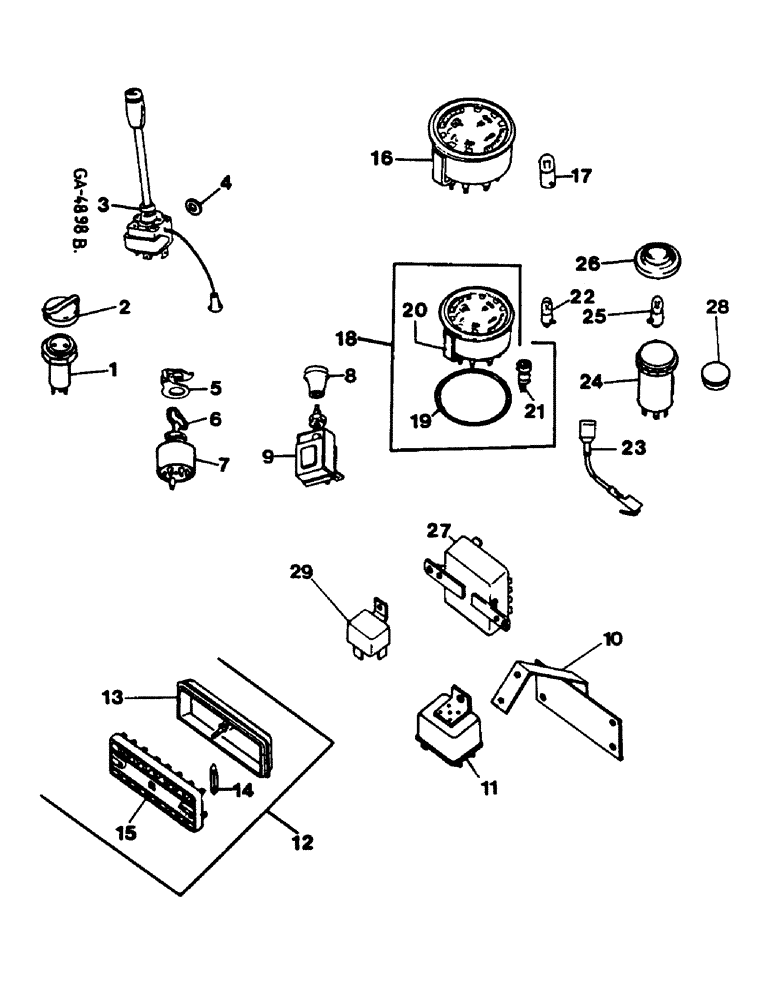
1

3142921R91

SOCKET/RECEPTACLE

plug "Bosch"

1шт.

1

3142921R91

SOCKET/RECEPTACLE

plug "Merit"

1шт.

2

3221243R1

COVER

for "Bosch"

1шт.

2

3221245R1

COVER

for "Merit"

1шт.

3

3141485R91

FLASHER SWITCH

indicator, with horn push button

1шт.

931606R1

SCREW,Pan Slotted, M4 x 8mm, Cl 4.8

2шт.

4

495-31017

WASHER,#8

2шт.

5

1983228C1

COVER

key switch

1шт.

6

3136851R1

KEY, IGNITION

switch

1шт.

7

3136852R1

LIGHT SWITCH

ignition-light

1шт.

8

3056308R1

PUSH BUTTON

KNOB starting switch "Bosch"

1шт.

8

3221357R1

BUTTON

KNOB starting switch "Bosch" (Finland-Version)

1шт.

8

3056308R1

PUSH BUTTON

KNOB starting switch "Gabriel"

1шт.

9

3057998R93

IGNITION SWITCH

starting "Bosch"

1шт.

9

3057998R93

IGNITION SWITCH

starting "Gabriel"

1шт.

10

3146244R92

BRACKET

relay

1шт.

22704R1

SCREW

BOLT, 1/4" x 10 mm

1шт.

492-11025

LOCK WASHER,1/4"

1шт.

425-104

NUT,1/4"-20, Cl 5

1шт.

11

3057558R92

RELAY

1шт.

12

3141117R95

BOX, FUSE

with fuses and cover

1шт.

470-11016

SCREW,Pan HD, #10 - 24 x 1"

1шт.

440-11010

SCREW,Phillips Drive, Pan HD, #10 - 24 x 5/8"

1шт.

492-11010

LOCK WASHER,#10

2шт.

225-14110

NUT,#10-24

2шт.

13

3057514R92

COVER

with screw

1шт.

14

3021478R2

FUSE

8A

5шт.

14

926644C1

FUSE,A16, Red

16A

3шт.

15

3136616R1

BASE

BOX fuse

1шт.

16

3141553R92

CLUSTER, INSTR.

CLUSTER, INSTRUMENT "Jager"

1шт.

3223497R1

SOCKET/RECEPTACLE

1-pole

1шт.

3131468R1

SOCKET

2-polig

1шт.

17

8420/03003

BULB

12V / 2W

1шт.

18

3140059R92

CLUSTER, INSTR.

CLUSTER, INSTRUMENT with bracket and O-ring VDO

1шт.

3131814R1

NUT

knurled

2шт.

19

3230832R1

O-RING

"VDO"

1шт.

20

3131813R1

BRACKET

(angle) "VDO"

1шт.

21

3131182R1

CONNECTOR,ELECTRIC

SOCKET bulb "VDO"

1шт.

22

1094378R1

BULB,J, 12V, 2W

BULB 12V / 2W

1шт.

23

3058560R92

CABLE

scale lights connecting "VDO"

1шт.

24

3141217R91

LIGHT SWITCH

flasher warning "Bosch"

1шт.

24

3141217R91

LIGHT SWITCH

flasher warning "Kirsten"

1шт.

25

8102/02280

BULB

12V / 1.2W

1шт.

26

3141106R1

CAP

1шт.

27

3141102R92

FLASHER UNIT

warning "Bosch"

1шт.

27

3141102R92

FLASHER UNIT

warning "Wehrle"

2шт.

413-48

BOLT,Hex, 1/4" - 20 x 1/2", Gr 5

2шт.

22704R1

SCREW

BOLT, 1/4" x 10 mm

1шт.

492-11025

LOCK WASHER,1/4"

2шт.

425-104

NUT,1/4"-20, Cl 5

2шт.

28

3216102R1

PLUG

1шт.

29

1983420C2

RELAY

start safety switch

1шт.

70-1108

SCREW,Pan HD, #10 - 24 x 1/2"

1шт.

492-11010

LOCK WASHER,#10

1шт.

225-14110

NUT,#10-24

1шт.

Выбрано товаров: 55