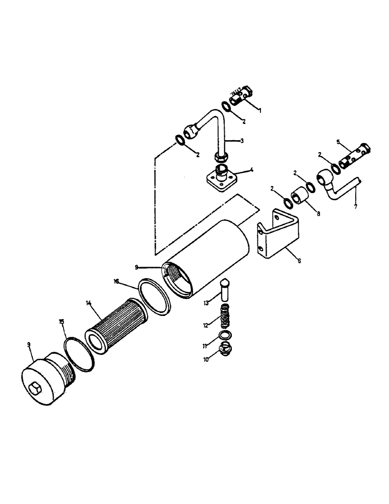
Запчасти Case IH 654 (287) - PRESSURE OIL FILTER (08) - HYDRAULICS

Схема запчастей Case IH 654 - (287) - PRESSURE OIL FILTER (08) - HYDRAULICS
10
13
5
3
2
14
16
4
7
6
2
8
2
9
2
11
9
12
1
15
FIT
1:1
100%

Артикул

Название

Примечание

Количество

3137561R93

FILTER ASSY

oil

1шт.

1

930259R1

BANJO BOLT,M18 x 1 x 42mm

hollow

1шт.

2

717598R1

GASKET

RING, packing

5шт.

3

3137546R1

PIPE FITTING

pressure, pump-oil filter

1шт.

4

3137545R1

FLANGE

connecting, pressure pipe

1шт.

931118R1

HEX SOC SCREW,M6 x 1 x 20mm, Cl 8.8

2шт.

5

786958R1

SCREW,M18 x 1.5 x 1.5mm

hollow

1шт.

6

3142504R91

SUPPORT

oil filter

1шт.

179816

BOLT,Hex, 5/16" - 18 x 3/4", Gr 5

S 5/16" x 29 mm

2шт.

186270

BOLT,Hex, 5/16" - 18 x 3 1/2", Gr 5

2шт.

103320

LOCK WASHER,5/16"

2шт.

7

3137548R1

LINE

PIPE, pressure oil filter, mounting block, 553

1шт.

7

3137550R1

TUBE,1780, 72 mm Length

PIPE, pressure oil filter, mounting block, 654/724/824

1шт.

7

3137547R1

LINE

PIPE, pressure oil filter-draft control valve, 553

1шт.

7

3137549R1

PIPE

pressure oil filter - draft control valve, 654/724/824

1шт.

8

786959R1

SPACER

BUSHING distance

1шт.

9

3139075R92

SPARE PART HOUSING, filter with cover and o-ring

1шт.

10

716954R1

PLUG,Hex, M22 x 1.5

1шт.

11

717183R1

O-RING,2mm Thk x 19mm ID, 70 Duro

1шт.

12

3137557R1

SPRING

1шт.

13

3137556R1

VALVE

POPPET

1шт.

14

3139076R92

FILTER

INSERT, with o-ring and spacer, Includes: 14 - 16

1шт.

15

3137555R1

O-RING

1шт.

16

3139311R1

SPACER

RING, distance

1шт.

Выбрано товаров: 24