Качественные детали и логистика
Оригинальные и аналоговые запчасти с доставкой по России, Казахстану и Беларуси
©2022 PartSell ООО "Система" ИНН 2463123282 ОГРН 1212400004838
Центральный офис: г. Красноярск, Академика Киренского, д.87, пом.4
Телефон: 8 (800) 777-65-74 Email: zakaz@partsell.ru
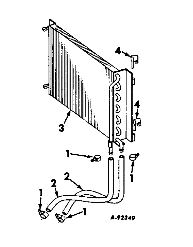
(06-04) - COOLING, OIL COOLER AND CONNECTIONS
№
Артикул
Название
Примечание
Количество
1
261498R91
COLLAR CLAMP,nasp
CLAMP, No. 30 hose
4шт.
2
402866R1
HOSE, oil cooler outlet
2шт.
3
396306R1
COOLER ASSY, oil
1шт.
4
388420R91
PIVOT
ASSY, oil cooler
399567R1
NUT, spring
179833
BOLT,Hex, 3/8" - 16 x 1/2", Gr 5, Full Thd
Выбрано товаров: 0