Запчасти Case IH 674 (08-16) - FENDER WIRING AND LIGHTS, TRACTORS WITH CROWN FENDERS (06) - ELECTRICAL

Схема запчастей Case IH 674 - (08-16) - FENDER WIRING AND LIGHTS, TRACTORS WITH CROWN FENDERS (06) - ELECTRICAL
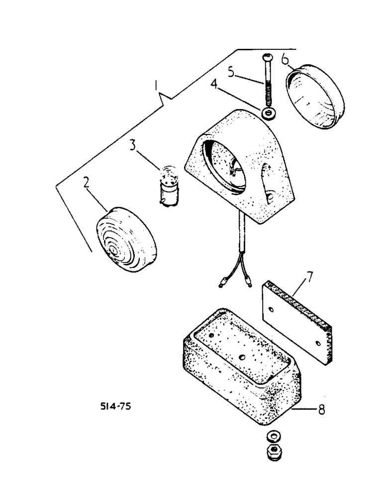
8
1
7
6
5
4
3
2
FIT
1:1
100%

Артикул

Название

Примечание

Количество

533572R91

NO LONGER SERVICED

LIGHT ASSY, side and tail fender, consists of ref. nos. 1 to 8 -

2шт.

1

530039R92

LIGHT

side and tail, E regulation

2шт.

1

530039R91

NO LONGER SERVICED

LIGHT, side and tail, consists of refs. nos. 2 to 6 -

2шт.

2

3112638R1

LENS

clear, E regulation

2шт.

2

3074001R1

LENS

clear

2шт.

3

894879H1

BULB

LAMP, 12V 5W sbc

2шт.

4

446152

HYD CONNECTOR

plain

4шт.

5

251131R1

SCREW, NO. 10-24 X 2-1/4 pan hd

4шт.

3062835R1

NUT

lock NO. 10

4шт.

6

3112860R1

LENS

red, E regulation

2шт.

6

3074003R1

LENS

red

2шт.

7

530041R1

REFLECTOR

fender

2шт.

8

530040R1

NO LONGER SERVICED

BASE, fender side and tail

2шт.

3112371R1

GROMMET

fender harness large, not illustrated

2шт.

3113660R91

HARNESS

L.H. and R.H. fender, not illustrated

2шт.

705897R1

CONNECTOR, ELEC

CONNECTOR L.H. and R.H. fender 1 way, not illustrated

4шт.

705896R1

CONNECTOR, ELEC

CONNECTOR R.H. fender 2 way, not illustrated

1шт.

Выбрано товаров: 17