Запчасти Case IH 674 (10-18) - SINGLE ACTING AUXILIARY HYDRAULIC VALVE ASSEMBLY, UP TO S/N 101375 (07) - HYDRAULICS

Схема запчастей Case IH 674 - (10-18) - SINGLE ACTING AUXILIARY HYDRAULIC VALVE ASSEMBLY, UP TO S/N 101375 (07) - HYDRAULICS
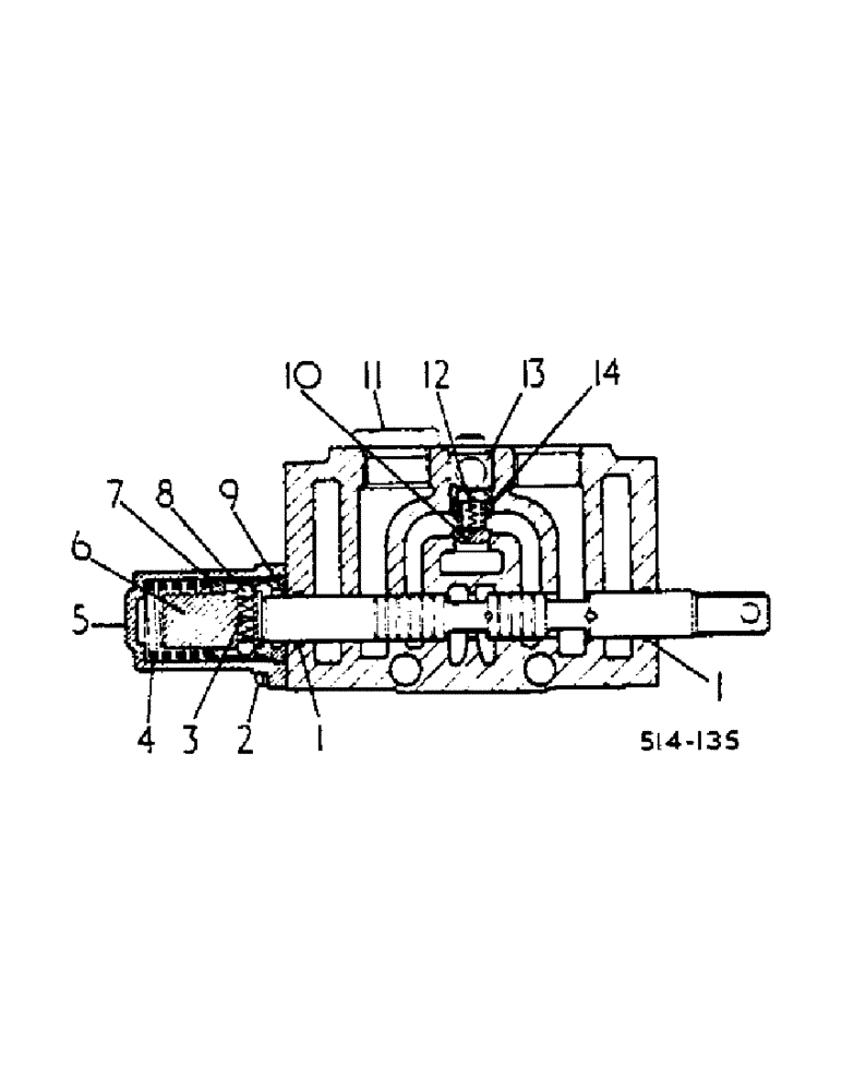
9
8
1
5
14
4
10
13
2
12
6
11
1
7
3
FIT
1:1
100%

Артикул

Название

Примечание

Количество

529695R91

HYDRAULIC VALVE

ASSY, single acting aux. hyd.

1шт.

1

128359

O-RING,0.07" Thk x 0.614" ID, -16, Cl 5, 75 Duro

2шт.

2

3113064R1

SCREW

2шт.

3

3113065R1

SPRING

detent

1шт.

4

3113060R1

SPRING

1шт.

5

3113058R1

CYLINDER END CAP

extended

1шт.

6

3113063R1

CARRIER

detent

1шт.

7

3113061R1

SEAT

spring

1шт.

8

17008C1

BALL

2шт.

9

3113067R1

CAGE

SPARE PART detent

1шт.

10

3113068R1

VALVE POPPET

1шт.

11

3113071R1

PLUG

SPARE PART ASSY, 7/8 unf

1шт.

12

3113069R1

SPRING

check valve

1шт.

13

3113070R1

GUIDE

check valve

1шт.

14

391914R1

O-RING,0.07" Thk x 0.426" ID, -13, Cl 6, 90 Duro

1шт.

Выбрано товаров: 0