Запчасти Case IH 674 (09-11) - AUTOMATIC HITCH (12) - FRAME

Схема запчастей Case IH 674 - (09-11) - AUTOMATIC HITCH (12) - FRAME
19
17
21
4
12
16
8
9
2
10
15
20
19
3
6
11
1
5
22
18
13
14
7
FIT
1:1
100%

Артикул

Название

Примечание

Количество

529504R91

ATTACHMENT, automatic hitch, for tractors equipped with hyd. draft control att and automatic hitch with three position drawbar, consists of all unmarked parts and those marked Unit A

1шт.

ATTACHMENT, automatic hitch, for tractors equipped with hyd. draft control att and automatic hitch without three position drawbar, consists of all unmarked parts and those marked Unit B

1шт.

538400R91

PACKAGE, automatic hitch completing, for tractors fittied with hyd. draft control, three point and three position drawbar, consists of all unmarked parts and those marked Unit C

1шт.

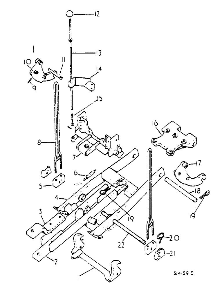
1

535220R2

LATCH

ASSY, automatic hitch, UNIT A, B, AND C -

1шт.

2

533915R1

SPARE PART

HITCH, drawbar assy, Serial Range: -102131

1шт.

Order hook assy 3116495R1 with hitch assy 3116498R1 and 1 cotter pin 700387R1.

1шт.

2

3116498R1

BAR

HITCH, drawbar assy - UNIT A

1шт.

674/102132 up including 101711.

1шт.

3

3064333R1

DRAWBAR CLAMP

CLEVIS - UNIT A -

1шт.

102639

NUT,5/8"-11, G5

2шт.

413-1044

BOLT,Hex, 5/8" - 11 x 2-3/4", Gr 5

5/8 X 2-3/4 unc hex hd

2шт.

674/102132 up including 101711.

1шт.

3

3064333R1

DRAWBAR CLAMP

CLEVIS - UNIT A -

1шт.

102639

NUT,5/8"-11, G5

2шт.

413-1060

BOLT,Hex, 5/8" - 11 x 3-3/4", Gr 5

SCREW, hex hd 5/8 X 3-3/4, Course Threads, Serial Range: -102131

2шт.

4

533884R2

SPARE PART

HOOK ASSY, trailer, Serial Range: -102131

1шт.

Order hook assy 3116495R1 with hitch assy 3116498R1 and 1 cotter pin 700387R1.

1шт.

4

3116495R1

HOOK

ASSY, trailer - UNIT A AND B -

1шт.

674/102132 up including 101711.

1шт.

5

533907R1

BLOCK

lift rod adjustment - UNIT A, B AND C -

2шт.

6

399743R1

SPRING

latch return - UNIT A, B AND C -

1шт.

7

533881R2

SUPPORT

ASSY, drawbar - UNIT A AND B -

1шт.

413-1024

BOLT,Hex, 5/8" - 11 x 1-1/2", Gr 5

hex hd cap 5/8 X 1-1/2

6шт.

8

533904R1

ROD

ASSY, lift

2шт.

NLS

NO LONGER SERVICED

hex 7/16

8шт.

103322

LOCK WASHER,7/16"

Unit A, B and C

4шт.

9

720631R1

LINCH PIN

Q.A. cotter - UNIT A, B AND C -

4шт.

PO12898

WASHER

29/32 X 1-1/2 X 11 GA

2шт.

10

533898R1

ARM

ASSY, extension L.H. - UNIT A, B AND C -

1шт.

179881

BOLT,1/2" - 13 x 1", Gr 5

1шт.

103323

LOCK WASHER,1/2"

1шт.

11

3116500R1

PIN

rockshaft arm - UNIT A. B AND C -

2шт.

12

264055R2

KNOB

hand latch control rod - UNIT A, B AND C -

1шт.

13

533909R1

ROD

ASSY, hand latch control

1шт.

103385

COTTER PIN,1/8" x 1"

1шт.

16038R1

WASHER

17/32 X 1 X 11 GA - UNIT A, B AND C -

1шт.

14

533912R1

BRACKET

ASSY, lever support

1шт.

179889

BOLT,Hex, 1/2" - 13 x 2", Gr 5

hex hd cap 1/2 X 2

2шт.

103323

LOCK WASHER,1/2"

Unit A, B and C

2шт.

15

3061075R1

SPRING

control rod return - UNIT A, B AND C -

1шт.

16

533865R1

SUPPORT

SPARE PART ASSY, drawbar pivot - UNIT A AND B -

1шт.

179886

BOLT,Hex, 1/2" - 13 x 1 5/8", Gr 5

hex hd cap 1/2 X 1-5/8

2шт.

413-840

BOLT,Hex, 1/2" - 13 x 2-1/2", Gr 5

hex hd cap 1/2 X 2-1/2

2шт.

103323

LOCK WASHER,1/2"

4шт.

17

533899R1

ARM

SPARE PART ASSY, extension R.H. - UNIT A, B AND C -

1шт.

179881

BOLT,1/2" - 13 x 1", Gr 5

1шт.

103323

LOCK WASHER,1/2"

1шт.

18

529541R1

SHAFT

SHAFT, drawbar pivot support cross - UNIT A A ND B -

1шт.

19

700387R1

CLIP, SPRING

PIN, cotter, as required - - UNIT A - 3 OFF - - UNIT B - 2 OFF -

1шт.

20

704212R91

COTTER PIN

ASSY, inplement - UNIT A AND B -

2шт.

21

404787R1

SHIELD

lynch pin - UNIT A AND B -

2шт.

22

533908R1

SHAFT

lift rod cross - UNIT A AND B -

1шт.

Q123

WASHER

1-1/32 X 2-1/2 X 16 GA

2шт.

267805R1

RING

rockshaft arm pin retaining, not illustrated, Serial Range: -101748

2шт.

3064334R1

ARM

SPARE PART drawbar clevis - UNIT A , not illustrated, Serial Range: -102131

1шт.

Выбрано товаров: 55