Запчасти Case IH 674 (12-20) - CONNECTING RODS, PISTONS AND SLEEVES Power

Схема запчастей Case IH 674 - (12-20) - CONNECTING RODS, PISTONS AND SLEEVES Power
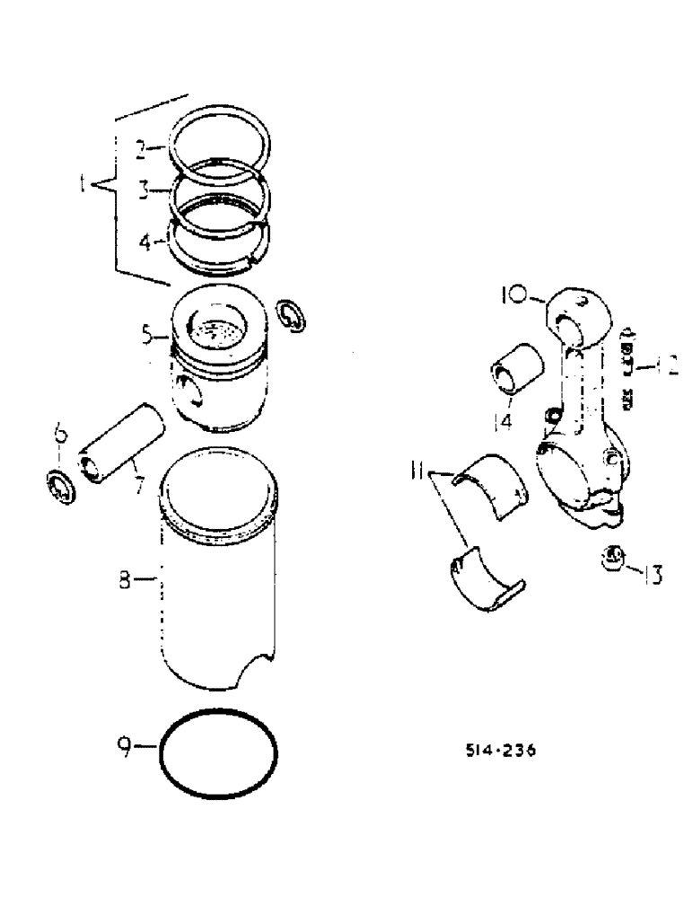
3
1
7
9
4
13
6
8
11
2
14
10
12
5
FIT
1:1
100%

Артикул

Название

Примечание

Количество

1

3139594R91

PISTON RING

1шт.

1

671510R91

SET OF RINGS

piston, optional, used with 3 ring pistons

1шт.

1

3059262R92

PISTON RING SET

used with 4 ring pistons

1шт.

2

3055600R2

RING

compression, first, used with 4 ring pistons

4шт.

2

RING, compression first, used with 3 ring pistons, order set 3139549R91 or 671510R91 -

4шт.

3

3055332R1

RING

SPARE PART compression, second, used with 4 ring pistons

4шт.

3

RING, compression, second, used with 3 ring pistons, order set 3139549R91 or 671510R91 -

4шт.

4

3055334R91

RING, compression, fourth, used with 4 ring pistons

4шт.

4

RING, compression, third, used with 3 ring pistons, order set 3139549R91 or 671510R91 -

4шт.

5

3139591R92

PISTON ASSY

with sleeve, 3 piston ring

4шт.

5

3138882R92

PISTON

ASSY, with sleeve, 4 piston ring, order piston 3139591R92 -

4шт.

6

933327R1

SNAP RING,M36, Int

piston pin retainer

8шт.

7

3055217R2

PISTON PIN

piston

4шт.

8

SLEEVE, cyl., not serviced separately

4шт.

9

3055021R2

O-RING

packing

4шт.

10

3055030R24

ROD, CONNECTING

connecting with two bolts and bearing

4шт.

11

3055351R91

BEARING ASSY

connecting rod, std

4шт.

11

3056834R91

BEARING, connecting rod .010 -U/S- as required

1шт.

11

3056879R11

BEARING ASSY

.020 - U/S- as required

1шт.

11

3056781R11

CRANKSHAFT BEARING

connecting rod .030 - U/S - as required

1шт.

12

3055033R11

BOLT

Connecting rod w/nut

8шт.

13

L

OIL SEAL

NUT, connecting rod bolt

8шт.

14

3132018R1

BUSHING

piston pin

4шт.

3055333R1

RING

compression, third, used with 4 ring pistons, not illustrated

4шт.

Выбрано товаров: 24