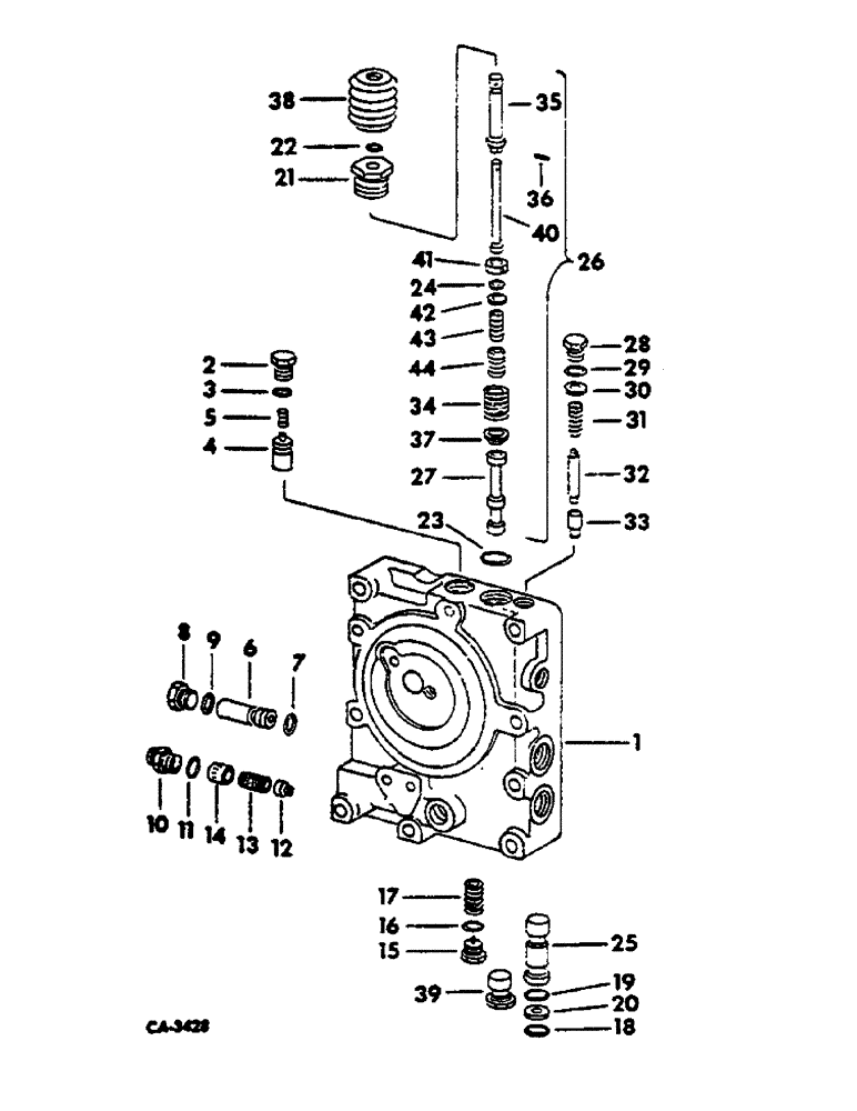
Запчасти Case IH 674 (10-18) - HYDRAULICS, MULTIPLE CONTROL VALVE (07) - HYDRAULICS

Схема запчастей Case IH 674 - (10-18) - HYDRAULICS, MULTIPLE CONTROL VALVE (07) - HYDRAULICS
31
44
3
7
30
39
28
37
15
1
41
12
14
42
27
13
24
34
17
40
25
6
8
18
22
38
26
23
2
32
43
9
21
33
19
36
29
10
20
16
35
4
11
5
FIT
1:1
100%

Артикул

Название

Примечание

Количество

57713C92

VALVE

ASSY, multiple control, tractors w/out draft control

1шт.

57714C93

VALVE

ASSY, multiple control, tractors w/draft control

1шт.

1

BODY ASSY, multiple control valve, not serviced separately, furnish multiple control valve assy, consists of (1) body 405445R1 (NSS), (1) spool 405443R2 (NSS), (1) seat 399867R1 (NSS) (2) pin 19879R1 (NSS), (2) pin 20020R1 (NSS)

1шт.

2

529492R1

PLUG

cooler by-pass

1шт.

3

570828R1

O-RING,0.087" Thk x 0.644" ID, -908, Cl 6, 90 Duro

1/2 OD tube

1шт.

4

527482R1

VALVE,By-Pass

VALVE, by-pass

1шт.

5

382299R1

SPRING

by-pass valve

1шт.

6

55356C1

VALVE, CUSHION

VALVE ASSY, safety, 1500 PSI 48A

1шт.

7

702788R1

O-RING,0.103" Thk x 0.362" ID, -110, Cl 6, 90 Duro

3/8 x 9/16 x 3/32

1шт.

8

536855R1

PLUG

3/4-16 str thd-o-ring boss

1шт.

9

570828R1

O-RING,0.087" Thk x 0.644" ID, -908, Cl 6, 90 Duro

1/2 OD tube

1шт.

10

587639R1

HYD CONNECTOR,9/16"-18, 37 Degree x 3/4"-18, O-Ring

CONNECTOR, 9/16-18 znd 37 deg flared tube short reducer

1шт.

1

570828R1

O-RING,0.087" Thk x 0.644" ID, -908, Cl 6, 90 Duro

1/2 OD tube

1шт.

12

382304R1

CHECK VALVE

VALVE, check

1шт.

13

399869R1

SPRING

check valve

1шт.

14

399870R1

RETAINER

check valve spring

1шт.

15

405446R1

PLUG

ASSY, flow divider, replaces 405447R1

1шт.

16

368269R1

O-RING,0.116" Thk x 0.924" ID, -912, Cl 6, 90 Duro

5/8 OD tube

1шт.

17

405448R1

SPRING

flow divider valve

1шт.

18

364879R1

O-RING,0.103" Thk x 0.862" ID, -118, Cl 5, 75 Duro

7/8 x 1-1/16 x 3/32

1шт.

19

383219R1

O-RING,0.924" ID x 0.103" Width

15/16 x 1-1/8 x 3/32

1шт.

20

378985R2

BACK-UP RING

back-up

1шт.

21

530781R2

GUIDE

control valve stem

1шт.

22

352221R1

O-RING,0.103" Thk x 0.549" ID, -113, Cl 5, 75 Duro

9/16 x 3/4 x 3/32

1шт.

23

297459R1

O-RING,0.116" Thk x 1.048" ID, -914, Cl 6, 90 Duro

7/8 OD tube

1шт.

24

369107R1

SNAP RING,#21, Ext

SHIM, control valve, will work for 530779R1

3шт.

25

399858R92

VALVE

ASSY, pilot relief, 2500 PSI, used with valve 57714C93, for components, see list of parts under details of pilot relief valve

1шт.

26

530775R93

VALVE

ASSY, control, less Ref. 24

1шт.

27

405452R2

VALVE

control

1шт.

28

573983R1

PLUG

regulator valve

1шт.

29

364839R1

O-RING,0.078" Thk x 0.468" ID, -906, Cl 6, 90 Duro

6-1, 90 Duro, .468" ID x .078" Thk, 3/8 OD tube

1шт.

30

363454R1

WASHER,8.33mm ID x 12.3mm OD x 0.81mm Thk

spring retainer

3шт.

31

549850R1

SPRING

pressure regulator valve

1шт.

32

399881R1

PIN

pressure regulator valve

1шт.

33

399882R1

POPPET

pressure regulator poppet

1шт.

34

530776R1

SPRING

control valve return

1шт.

35

530777R2

STEM

control valve

1шт.

36

405456R1

PIN

control valve dowel

1шт.

37

405453R1

RETAINER

IPTO valve

1шт.

38

530780R1

BOOT

IPTO control dust

1шт.

39

378899R1

PLUG

relief valve, used with valve 57713C92

1шт.

40

405454R2

PIN

control valve guide

1шт.

41

530778R1

RETAINER

pin

1шт.

42

556980R1

WASHER

spring retainer

1шт.

43

399878R2

SPRING

control valve heavy

1шт.

44

381760R1

SPRING

control valve light

1шт.

Выбрано товаров: 0