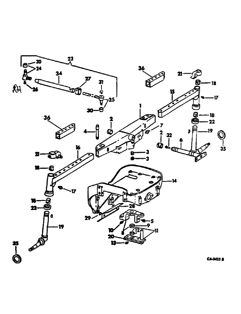
Запчасти Case IH 674 (14-01) - SUSPENSION, FRONT AXLE, STRAIGHT Suspension

Схема запчастей Case IH 674 - (14-01) - SUSPENSION, FRONT AXLE, STRAIGHT Suspension
25
36
35
19
15
22
9
11
5
6
17
2
35
2
30
17
30
24
28
21
18
14
12
32
27
16
13
18
21
36
23
26
34
18
10
3
4
18
19
22
7
20
1
29
31
3
FIT
1:1
100%

Артикул

Название

Примечание

Количество

.

SERVICE PARTS, adjustable front axle, 54 to 78 in. tread

1шт.

1

539161R92

CENTER AXLE

AXLE W/GUSSET, front, Includes: Ref. 2 and 3

1шт.

2

405570R1

BUSHING,50.95mm ID x 54.15mm OD x 47.63mm L

pivot

2шт.

3

405574R1

BUSHING

support

2шт.

4

405584R2

BOLT,Shldr, 3/4" - 16 x 4

Shoulder

4шт.

.

405576R1

NUT

front axle

4шт.

5

20605R1

LUBE NIPPLE,45 Degree, 3/16" x .62" lg, Drive

FITTING, 1/4 45 deg angle drive type

1шт.

6

539128R1

SHAFT ASSY.

SHAFT ASSY, front axle pivot

1шт.

.

179881

BOLT,1/2" - 13 x 1", Gr 5

2шт.

7

86504104

LUBE NIPPLE,1/4" x .56" lg, Drive

FITTING, 1/4 drive type str lub

1шт.

8

67499C91

ARM ASSY.

ARM ASSY, PS center

1шт.

Earlier units used P/N 405585R11. The holes for the tie rods are 2.24" apart center to center. P/N 67499C91, the tie rod attaching holes are 4" apart center to center.

1шт.

9

379748R1

BUSHING

1шт.

10

219-53

LUBE NIPPLE,65 Degree Elbow, 3/16" NPTF

FITTING, 3/16 65 deg angle drive type

1шт.

11

405580R21

BAR ASSY.

BAR ASSY, PS cyl (Replaces 405580R1, 405580R11)

1шт.

.

179885

BOLT,Hex, 1/2" - 13 x 1 1/2", Gr 5

2шт.

12

379748R1

BUSHING

1шт.

13

125617

LUBE NIPPLE,3/16" x .61 lg, Drive

FITTING, 3/16 drive type str lub

1шт.

14

405587R4

BOLSTER

front, diesel engine tractors

1шт.

.

13-1040

BOLT,Hex, 5/8" - 11 x 2-1/2", Gr 5

SCREW, 5/8-11 x 2-1/2 hex-hd cap, optional w/24970R1

6шт.

.

24970R1

BOLT

5/8-11 x 2-1/2 Twelve pt flange, Optional w/271564

6шт.

15

67501C91

EXTENSION ASSY.

EXTENSION ASSY, front axle LH

1шт.

16

67502C91

EXTENSION ASSY.

EXTENSION ASSY, front axle RH

1шт.

17

443567

LUBE NIPPLE,1/4" x .56 lg, Drive

FITTING, 1/4 drive type str lub

2шт.

18

376099R1

BUSHING

4шт.

19

67526C91

KNUCKLE

ASSY, steering, for tractors w/1-25/32 inc. diameter inner wheel hub bearing

2шт.

19

527292R92

STEERING KNUCKLE

KNUCKLE ASSY, steering, for tracators w/1-3/8 in. diameter inner wheel hub bearings

2шт.

.

108643

COTTER PIN,5/32" x 1 3/8"

Pin, Split (Cotter), 5/32" x 1 3/8"

2шт.

.

117997

WOODRUFF KEY,#25, 5/16" x 1 1/2", HT

2шт.

20

67976C1

PLATE, LOCKING

STRIP, steering center arm bolt lock

1шт.

.

179885

BOLT,Hex, 1/2" - 13 x 1 1/2", Gr 5

2шт.

21

67524C1

ARM

steering knuckle LH

1шт.

.

16081R1

BOLT,Hex, 1/2" - 13 x 3 1/8", Gr 5

1шт.

.

102637

NUT,1/2"-13, G5

1шт.

21

67525C1

ARM

steering knuckle RH

1шт.

.

16081R1

BOLT,Hex, 1/2" - 13 x 3 1/8", Gr 5

1шт.

.

102637

NUT,1/2"-13, G5

1шт.

22

405831R91

BEARING

steering knuckle thrust

2шт.

.

15943DA

SEALING WASHER,60.33mm ID x 72.23mm OD x 4.76mm Thk

Steering knuckle felt

2шт.

23

ROD ASSY, tie, order component parts

2шт.

24

527658R91

BALL JOINT

END ASSY, RH

2шт.

24

527658R91GV

TIE-ROD

Value, Tie Rod End

2шт.

.

102648

SLOTTED NUT,9/16"-18, G5

2шт.

.

103385

COTTER PIN,1/8" x 1"

PIN, SPLIT (COTTER), 1/8" x 1"

2шт.

.

390686R1

JAM NUT

11/16-18 hex. jam

1шт.

25

65079C91

END

ASSY

1шт.

.

102648

SLOTTED NUT,9/16"-18, G5

2шт.

.

103385

COTTER PIN,1/8" x 1"

PIN, SPLIT (COTTER), 1/8" x 1"

2шт.

.

390686R1

JAM NUT

11/16-18 hex. jam

1шт.

26

87415

LUBE NIPPLE,90 Degree, 1/4" NPT x 3/4" L, Drive

NIPPLE, LUBE, 90°, 1/4" NPT x .75" lg, Drive

2шт.

27

43747D

CLAMP

2шт.

.

537165R1

BOLT,Hex, 7/16" - 20 x 1-7/8", Gr 5

7/16-20 x 1-3/4 hex-hd cap

2шт.

.

9421096

LOCK WASHER,7/16"

Ext tooth 7/16"

2шт.

.

271505

BODY

7/16-20 hex.

2шт.

28

534812R1

BAFFLE

bolster air

1шт.

.

413-1044

BOLT,Hex, 5/8" - 11 x 2-3/4", Gr 5

SCREW, 5/8-11 x 2-3/4 hex-hd cap, carbureted engine tractors

2шт.

.

13-1052

BOLT,Hex, 5/8" - 11 x 3-1/4", Gr 5

SCREW, 5/8-11 x 3-1/4 hex-hd cap, diesel engine tractors

2шт.

29

534813R1

SPACER

bolster air baffle, diesel engine tractors

2шт.

.

369936R1

WASHER

bolster air baffle

2шт.

30

358900R1

SEAL

COVER, dust

1шт.

.

338409A1

HOLDER

NUT, 9/16-18 slt hex.

1шт.

.

103385

COTTER PIN,1/8" x 1"

PIN, SPLIT (COTTER), 1/8" x 1"

1шт.

31

219-8

LUBE NIPPLE,1/4" - 28 NPTF

NIPPLE, LUBE, , Taper, Straight 1/4"-28 NPT x .54" lg

4шт.

32

219-56

LUBE NIPPLE,90 Degree Elbow, 1/8" - 27 NPTF

FITTING, 1/8-27 PTF 90 deg angle lub

1шт.

33

(Not used this application)

1шт.

34

67529C1

TUBE,0.766" ID, 1.005" OD, 16.21" Length

tie rod

2шт.

34

66756C2

TUBE,19.38 mm ID, 25.46 mm OD, mm Length

tie rod, row crop or tobacco special, tractors

2шт.

35

370254R91

OIL SEAL,57.02mm ID x 82.55mm OD x 6.86mm Thk

front wheel dust, for steering knuckle, 67526C91

1шт.

35

405835R91

SEAL

front wheel dust, for steering knuckle 527292R92

1шт.

36

66755C92

EXTENSION

w/product graphic, frt axle, row crop or tobacco special, tractors

2шт.

.

18752R1

BOLT,Hex, 3/4" - 10 x 6 1/2", Gr 5

SCREW, 3/4-10 x 6-1/2 hex-hd cap

8шт.

.

425-1012

NUT,3/4"-10, G5

3/4-10 hex.

8шт.

Выбрано товаров: 72