Запчасти Case IH 684 (10-045) - DRAFT CONTROL CYLINDER AND VALVE (07) - HYDRAULICS

Схема запчастей Case IH 684 - (10-045) - DRAFT CONTROL CYLINDER AND VALVE (07) - HYDRAULICS
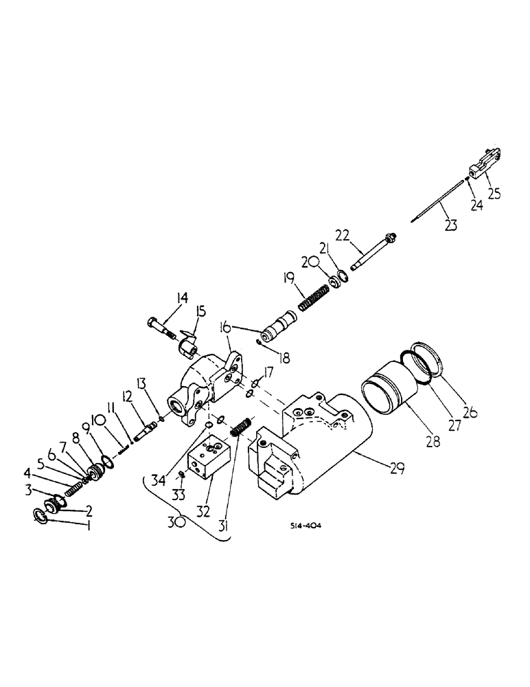
34
6
32
29
20
5
4
19
1
8
22
15
3
24
23
17
21
14
7
13
26
25
33
31
10
30
18
28
12
27
16
2
9
11
FIT
1:1
100%

Артикул

Название

Примечание

Количество

CYLINDER AND VALVE ASSY, DRAFT CONTROL

1шт.

399893R92

VALVE

ASSY, DRAFT CONTROL, CONSISTS OF ITEMS 1 THRU 13 AND ITEMS 16, 18 THRU 25 INCLUSIVE

1шт.

1

58102R1

SNAP RING,1.312", Int, #131

Drop valve

1шт.

2

376770R1

PLUG

DROP POPPET VALVE

1шт.

3

391733R1

O-RING,0.07" Thk x 1.114" ID, -24, Cl 6, 90 Duro

1-1/8 X 1-1/4 X 1/16

1шт.

4

376768R1

SPRING

DROP POPPET VALVE

1шт.

5

376767R1

BACK-UP RING,9.91mm ID x 12.5mm OD x 1.32mm Thk

DROP POPPET VALVE INNER O-RING

1шт.

6

406182R1

O-RING,1.78mm Thk x 9.25mm ID, 80 Duro

3/8 X 1/2 X 1/16 -S- TREATED

1шт.

7

376767R1

BACK-UP RING,9.91mm ID x 12.5mm OD x 1.32mm Thk

DROP POPPET VALVE INNER O-RING

1шт.

8

376766R1

VALVE POPPET

DROP

1шт.

9

406184R1

O-RING,0.139" Thk x 0.984" ID, -214, 70 Duro

1 X 1-1/4 X 1/8 -S- TREATED

1шт.

10

376765R1

SPRING

PILOT VALVE

1шт.

11

17006R1

BALL

3/16 CR-STL

1шт.

12

392041R2

VALVE

DROP VALVE ADJUSTING

1шт.

13

406183R1

O-RING,0.07" Thk x 0.301" ID, -11, 80 Duro

5/16 X 7/16 X 1/16 -S- TREATED

1шт.

14

399892R1

BOLT,Shldr, Hex, 3/8" - 16 x 2.25"

Retarding arm shoulder

1шт.

15

399889R1

ARM ASSY.

DRAFT RETARDING

1шт.

16

399894R1

BODY

ASSY, DRAFT CONTROL VALVE W/SPOOL, INCLUDES PLUG

1шт.

444697

PLUG,Hex Soc, 3/8"-18

1/2-14 AUTO HEX-SOC-HD PIPE

1шт.

17

377952R1

O-RING,0.103" Thk x 0.549" ID, -113, Cl 6, 90 Duro

SEAL, CYLINDER TO VALVE

3шт.

18

376771R1

RING, SNAP

RING SNAP MAIN VALVE TUBE RETAINING

1шт.

19

395005R2

SPRING

MAIN VALVE

1шт.

20

376759R1

RETAINER

MAIN VALVE SPRING

1шт.

21

303322R1

SNAP RING,1.00", Int, #100

Main valve

1шт.

22

376756R12

HYD CYL SLEEVE

MAIN VALVE ACTUATOR

1шт.

23

378101R1

SET SCREW,Hex Soc, #8-36 x 1/4"

DROP VALVE ADJUSTING

1шт.

24

376763R1

ROD

DROP VALVE ACTUATING

1шт.

25

527617R1

ARM ASSY.

MAIN VALVE

1шт.

26

375936R1

BACK-UP RING

WASHER, PISTON O-RING BACK-UP

1шт.

27

378827R1

O-RING,0.21" Thk x 3.1" ID, -338, Cl 6, 90 Duro

3-1/8 X 3-1/2 X 3/16

1шт.

28

399886R1

PISTON ASSY.,88.87mm Bore, 43.78mm Rod, 71.12mm W

DRAFT CONTROL

1шт.

29

399885R11

CYLINDER ASSY.

DRAFT CONTROL, INCLUDES SCREWS AND WASHERS, CONSISTS OF ITEMS 26, 27 AND 28

1шт.

186288

BOLT,Hex, 3/8" - 16 x 4 1/2", Gr 5

3/8-16 X 4-1/2 HEX HD CAP

2шт.

179841

BOLT,Hex, 3/8" - 16 x 1 1/4", Gr 5

1шт.

103321

LOCK WASHER,3/8"

3шт.

30

60651C91

VALVE

ASSY, ACTION CONTROL, INCLUDES SCREWS

1шт.

179805

BOLT,Hex, 1/4" - 20 x 2", Gr 5

2шт.

31

547499R1

SPRING

SPOOL RETURN

1шт.

32

NSS

NOT SOLD SEPARAT

BODY, ACTION CONTROL VALVE

1шт.

33

392320R1

SNAP RING,#31, Ext, E-Type

variable orifice spool #31, Ext, E-Type

1шт.

34

382997R1

O-RING,0.07" Thk x 0.489" ID, -14, Cl 6, 90 Duro

1/2 X 5/8 X 1/16

1шт.

404810R91

GASKET KIT

PACKAGE, O-RING SERVICE, CONSISTS OF

1шт.

391733R1

O-RING,0.07" Thk x 1.114" ID, -24, Cl 6, 90 Duro

1-1/8 X 1-1/4 X 1/16, DROP VALVE PLUG

1шт.

378827R1

O-RING,0.21" Thk x 3.1" ID, -338, Cl 6, 90 Duro

3-1/8 X 3-1/2 X 3/16, DRAFT CONTROL PISTON

1шт.

375936R1

BACK-UP RING

WASHER, PISTON O-RING BACK-UP

1шт.

400002R1

OLIVE

RING, CYLINDER TO VALVE

1шт.

379366R1

O-RING,0.07" Thk x 0.301" ID, -11, Cl 6, 90 Duro

5/16 X 7/16 X 1/16, PILOT VALVE SEAT

1шт.

350818R1

O-RING,0.984" ID x 0.139" Width

1 X 1-1/4 X 1/8, DROP POPPET VALVE OUTER

1шт.

379365R1

O-RING,0.07" Thk x 0.364" ID, -12, Cl 6, 90 Duro

3/8 X 1/2 X 1/16 -CLASS 6, DROP POPPET VALVE INNER

1шт.

376767R1

BACK-UP RING,9.91mm ID x 12.5mm OD x 1.32mm Thk

DROP POPPET VALVE INNER

2шт.

382997R1

O-RING,0.07" Thk x 0.489" ID, -14, Cl 6, 90 Duro

1/2 X 5/8 X 1/16, DROP CONTROL VALVE

2шт.

Выбрано товаров: 51