Запчасти Case IH 684 (10-065) - STEERING CYLINDER, 4-WHEEL DRIVE, KIMCO (07) - HYDRAULICS

Схема запчастей Case IH 684 - (10-065) - STEERING CYLINDER, 4-WHEEL DRIVE, KIMCO (07) - HYDRAULICS
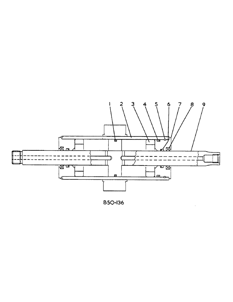
8
6
4
7
2
9
5
1
3
FIT
1:1
100%

Артикул

Название

Примечание

Количество

984785C93

CYLINDER BLOCK

STEERING, 4-WD, KIMCO

1шт.

1062000C94

CYLINDER ASSY.

STEERING, 4-WD, KIMCO

1шт.

1

1004712C3

SEAL ASSY.

P/S CYLINDER

1шт.

2

1004709C2

TUBE ASSY.

P/S CYLINDER, PART OF 984785C93

1шт.

2

1057718C1

SPARE PART ASSY, P/S CYLINDER, PART OF 1062000C94

1шт.

3

984672C2

SPACER

P/S CYLINDER, PART OF 984785C93

2шт.

4

1004715C1

O-RING,56.74mm ID x 3.53mm Width

P/S CYLINDER

1шт.

5

1004711C1

RING

P/S CYLINDER

1шт.

6

1004713C1

PACKING

ROD P/S CYLINDER

2шт.

7

1004710C1

COVER

P/S CYLINDER, PART OF 984785C93

1шт.

7

1057720C1

SPARE PART P/S CYLINDER, PART OF 1062000C94

1шт.

8

1004714C1

SEAL

DUST P/S CYLINDER

2шт.

9

1004833C1

ROD

PISTON P/S CYLINDER

1шт.

1004716C93

KIT

SEAL, ORDER AS REQUIRED, NOT ILLUSTRATED

1шт.

Выбрано товаров: 14