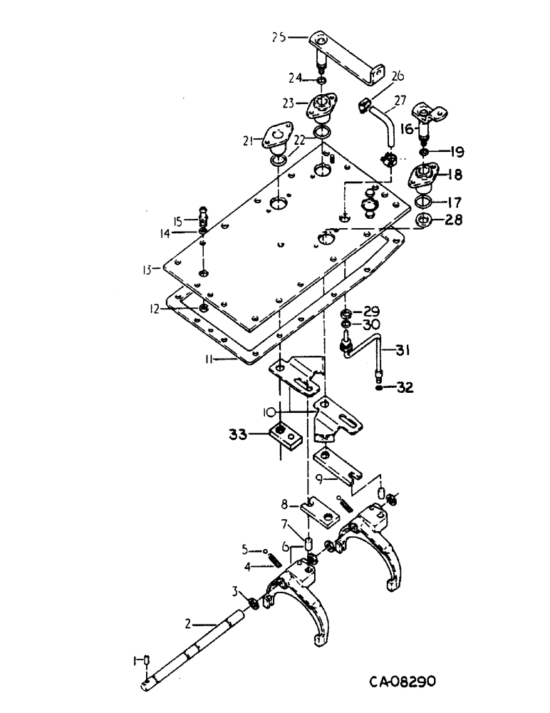
Запчасти Case IH 684 (07-42) - DRIVE TRAIN, TRANSMISSION CONTROLS, INTERNAL, SPEED TRANSMISSION, 684 TRACTOR WITH H PATTERN SHIFT (04) - Drive Train

Схема запчастей Case IH 684 - (07-42) - DRIVE TRAIN, TRANSMISSION CONTROLS, INTERNAL, SPEED TRANSMISSION, 684 TRACTOR WITH H PATTERN SHIFT (04) - Drive Train
2
4
11
6
12
3
24
31
8
14
21
5
13
10
27
15
28
17
32
1
25
30
9
7
23
26
18
16
19
29
22
33
FIT
1:1
100%

Артикул

Название

Примечание

Количество

1

25155R1

PIN,1/4" x 1 1/4", Coiled

1/4" x 1 1/4", Coiled

1шт.

2

3129154R1

RAIL

speed shift fork

1шт.

3

661652R1

SNAP RING,#75, Ext

4шт.

4

103062C1

SPRING

poppet ball

2шт.

5

17013R1

BALL,13/32" Dia

2шт.

6

1500245C91

FORK

ASSY

2шт.

7

1500656C1

DOWEL

PIN, 1/2 x 2-1/4 chamfered dowel

2шт.

8

3129171R2

ARM

speed shift 3rd/4th

1шт.

9

3129167R2

ARM

speed shift 1st/2nd

1шт.

10

1500249C2

LARGE PLATE

PLATE, interlock

2шт.

30327R1

WASHER,M10 x 21.5 x 2.5, HT

10.8 x 21 x 2.5mm

2шт.

30019R1

BOLT,Hex, M10 x 1.5 x 20mm, Cl 10.9, Full Thd

PHC Hex, M10 x 20, 10.9, Full Thd

2шт.

11

401019R3

GASKET

clutch housing top cover, tractors w/o torque amplifier

1шт.

11

401621R3

GASKET

clutch housing top cover, tractor w/torque amplifier, tractors w/forward & reverse

1шт.

12

21332R1

SNAP RING,#68, Ext

1шт.

13

3129161R91

COVER ASSY

COVER ASY, clutch housing top, tractors w/o torque amplifier

1шт.

3129159R1

STUD

top cover

1шт.

24901R1

PLUG,Cup, 3/8"

3/8 cup

1шт.

349373R1

PLUG

1-1/4 cup

1шт.

179816

BOLT,Hex, 5/16" - 18 x 3/4", Gr 5

2шт.

179838

BOLT,Hex, 3/8" - 16 x 7/8", Gr 5, Full Thd

3/8 x 7/8 pln type 5

16шт.

13

3129157R91

COVER ASSY

clutch housing top, tractors w/torque amplifier, tractors w/forward & reverse

1шт.

3129159R1

STUD

top cover

1шт.

24901R1

PLUG,Cup, 3/8"

3/8 cup

1шт.

349373R1

PLUG

1-1/4 cup

2шт.

179816

BOLT,Hex, 5/16" - 18 x 3/4", Gr 5

4шт.

179837

BOLT,Hex, 3/8" - 16 x 3/4", Gr 5

Tractors w/ forward and reverse Hex, 3/8"-16 x 3/4", G5, Full Thd

2шт.

NLS

NO LONGER SERVICED

Tractors w/Forward & Reverse Hex, 3/8"-16 x 1", G5

14шт.

14

371544R1

O-RING,0.07" Thk x 0.551" ID, -15, Cl 5, 75 Duro

9/16 x 11/16 class 5

1шт.

15

3129200R1

ADAPTER

1шт.

16

3129172R1

ARM ASSY.

ARM ASSY, speed shift actuating 3rd/4th

1шт.

19605R1

LOCK NUT,1/2"-13, GB

NUT, 1/2 pln p/t lock type 5

1шт.

17

391733R1

O-RING,0.07" Thk x 1.114" ID, -24, Cl 6, 90 Duro

1-1/8 x 1-1/4 class 6

2шт.

18

3129165R2

HOUSING

speed shift arm

1шт.

179816

BOLT,Hex, 5/16" - 18 x 3/4", Gr 5

2шт.

19

392385R1

O-RING,0.07" Thk x 0.614" ID, -16, Cl 6, 90 Duro

-016, 90 Duro, .614" ID x .070" Thk

1шт.

20

(Not used this application)

1шт.

21

1277030C1

PIVOT ASSY.

PIVOT ASSY, interlock, replaces 1500246C1

1шт.

19605R1

LOCK NUT,1/2"-13, GB

NUT, 1/2 pln p/t lock type 5

1шт.

603570R1

SNAP RING,#75, .574" Dia, E-Type

Ring, Retaining, , used w/pivot 1500246C1 #75, .574" Dia, E-Type

1шт.

22

391733R1

O-RING,0.07" Thk x 1.114" ID, -24, Cl 6, 90 Duro

1-1/8 x 1-1/4 class 6

2шт.

23

3129165R2

HOUSING

speed shift arm

1шт.

179816

BOLT,Hex, 5/16" - 18 x 3/4", Gr 5

1шт.

120376

NUT,5/16"-18, G5

1шт.

103320

LOCK WASHER,5/16"

WASHER, LOCK, 5/16"

1шт.

24

392385R1

O-RING,0.07" Thk x 0.614" ID, -16, Cl 6, 90 Duro

-016, 90 Duro, .614" ID x .070" Thk

1шт.

25

3129166R1

ARM ASSY.

ARM ASSY, speed shift actuating 1st/2nd

1шт.

19605R1

LOCK NUT,1/2"-13, GB

NUT, 1/2 pln p/t lock type 5

1шт.

26

279025R91

HOSE CLAMP,#06, .44/.78 Type F Worm

2шт.

27

1500242C1

HOSE,6.75 mm ID, 12.7 mm OD, 92 mm Length

6.75 mm ID x 92.00 mm, Lubrication Tube

1шт.

28

1500250C1

SPACER

1шт.

29

269181R1

SNAP RING,#75, Ext

Ring, Snap, #75, Ext

1шт.

30

379181R1

O-RING,0.614" ID x 0.07" Width

5/8 x 3/4 class 5

1шт.

31

3129164R1

TUBE ASSY.,0.25" OD, 190.5, 83 mm Length

TUBE ASSY, transmission lub

1шт.

32

352219R1

O-RING,0.07" Thk x 0.239" ID, -10, Cl 5, 75 Duro

1/4 x 3.8 class 5

1шт.

33

1277031C1

LARGE PLATE

BAR, interlock arm support

1шт.

3129165R2

HOUSING

1шт.

Also order when pivot, P/N 1277030C1 is furnished for service on P/N 1500246C1

1шт.

391733R1

O-RING,0.07" Thk x 1.114" ID, -24, Cl 6, 90 Duro

1-1/8 x 1-1/4 class 6

1шт.

Also order when pivot, P/N 1277030C1 is furnished for service on P/N 1500246C1

1шт.

392385R1

O-RING,0.07" Thk x 0.614" ID, -16, Cl 6, 90 Duro

-016, 90 Duro, .614" ID x .070" Thk

1шт.

Also order when pivot, P/N 1277030C1 is furnished for service on P/N 1500246C1

1шт.

19605R1

LOCK NUT,1/2"-13, GB

NUT, 1/2 pln p/t lock type 5

1шт.

Also order when pivot, P/N 1277030C1 is furnished for service on P/N 1500246C1

1шт.

Выбрано товаров: 0