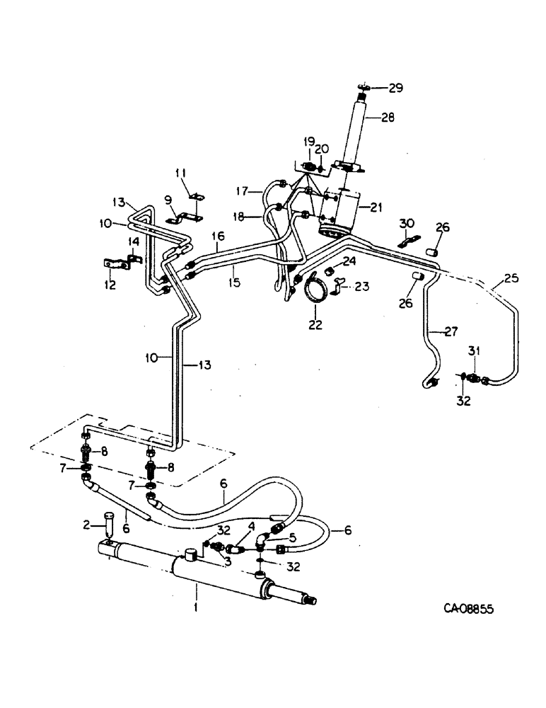
Запчасти Case IH 684 (10-05) - HYDRAULICS, POWER STEERING, UTILITY TRACTORS WITH HEAVY DUTY CAST FRONT AXLE AND FABRICATED BOLSTER (07) - HYDRAULICS

Схема запчастей Case IH 684 - (10-05) - HYDRAULICS, POWER STEERING, UTILITY TRACTORS WITH HEAVY DUTY CAST FRONT AXLE AND FABRICATED BOLSTER (07) - HYDRAULICS
32
26
10
18
13
7
21
9
32
26
2
15
19
6
8
7
10
3
30
23
8
11
28
27
6
4
22
12
24
16
25
17
29
31
1
14
32
20
6
5
13
FIT
1:1
100%

Артикул

Название

Примечание

Количество

1

3118502R92

CYLINDER

ASSY, power steering

1шт.

536314R92

SERVICE KIT

KIT, o-ring & seal service see parts catalog cyl-1 for service parts

1шт.

2

518505R1

HEADED PIN,3/4" x 3"

PIN, power steering cylinder

1шт.

95-11041

WASHER,3/8"

(.406 x .812 x .051 pln) 3/8"

1шт.

3

9410202

HYD CONNECTOR,9/16"-18, 37 Degree x 9/16"-18, O-Ring

CONNECTOR, 3/8 C-Z hyd fld short swivel

1шт.

4

9410254

ELBOW,45 Degree, 9/16"-18, 37 Degree x 9/16"-18, 37 Degree Fem Sw

3/8 C-Z hyd fld 45D swivel

1шт.

218-980 90 degree elbow

1шт.

5

9410976

ELBOW,90 Degree, 9/16"-18, 37 Degree x 9/16"-18, O-Ring

3/8 C-Z hd fld adj 90D

1шт.

6

3121235R1

HOSE

power steering cylinder

2шт.

7

9403293

LOCK NUT,Blkhd, 9/16"-18

NUT, 3/8 C-Z bulkhead union lock

2шт.

8

9403254

FITTING,Blkhd, 9/16"-18, 37 Degree x 9/16"-18, 37 Degree

UNION, 3/8 C-Z hyd fld tube bulkhead

2шт.

120898

LOCK WASHER,9/16"

WASHER, LOCK, 9/16"

2шт.

9

529646R1

BRACKET

front manifold support

1шт.

9635082

NUT,5/16" - 18, Gr 5

1шт.

10

3125265R1

PIPE,9.53 mm OD, 1051.1, 654.5 mm Length

TUBE ASSY, power steering RH forward

1шт.

11

384891R11

CLAMP

ASSY, power steering tube

1шт.

179795

TILLAGE BLADE

1/4 x 3/4 pln type 5

1шт.

103319

LOCK WASHER,1/4"

WASHER, LOCK, 1/4"

1шт.

12

529642R1

BRACKET

front manifold

1шт.

109084

NUT,1/4"-20, G5

1шт.

103319

LOCK WASHER,1/4"

WASHER, LOCK, 1/4"

1шт.

13

3125264R1

TUBE ASSY.,9.53 mm OD, 1051.1, 654.5 mm Length

TUBE ASSY, power steering LH forward

1шт.

14

529644R11

CLAMP

ASSY, power steering tube

1шт.

NLS

NO LONGER SERVICED

1/4 x 7/8 pln type 5

1шт.

103319

LOCK WASHER,1/4"

WASHER, LOCK, 1/4"

1шт.

95-11028

WASHER,1/4"

.281 x .625 x .051 pln

1шт.

15

3116268R2

TUBE ASSY.

TUBE ASSY, power steering RH rear

1шт.

16

3116267R1

TUBE ASSY.

TUBE ASSY, power steering LH rear

1шт.

17

3116272R2

TUBE ASSY.

TUBE ASSY, power steering return forward

1шт.

18

3116271R2

TUBE ASSY.,0.375" OD, 12.44, 4.28" Length

TUBE ASSY, power steering pressure forward

1шт.

19

587639R1

HYD CONNECTOR,9/16"-18, 37 Degree x 3/4"-18, O-Ring

CONNECTOR, C-Z hyd fld 1/2 to 3/8 sht

4шт.

20

570828R1

O-RING,0.087" Thk x 0.644" ID, -908, Cl 6, 90 Duro

1/2 OD tube class 6

4шт.

21

NSS

NOT SOLD SEPARAT

VALVE ASSY, integral power steering, for components see list of parts under details of integral hydrostatic steering valve

1шт.

22

306132C1

CABLE TIE,14.5" L

STRAP, rear manifold tubes

2шт.

23

529638R1

BRACKET

rear manifold, 684 tractors

1шт.

23

529639R1

BRACKET

rear manifold, H84 tractors

1шт.

24

529637R2

GUIDE

manifold tube

1шт.

25

1502293C1

TUBE

ASSY, power steering pressure rear, 684 tractors

1шт.

25

1502295C1

TUBE

ASSY, power steering pressure rear, H84 tractors

1шт.

26

536009R1

FUEL HOSE,0.31" ID x 2.50"

Spacer 0.31" ID x 2.50"

2шт.

27

3129257R1

TUBE ASSY.

TUBE ASSY, power steering return rear, 684 tractors

1шт.

27

66104C1

PIPE

TUBE ASSY, power steering return rear, H84 tractors

1шт.

28

3121187R91

SHAFT

steering w/nut

1шт.

660200R1

SPACER,10.7mm ID x 17.14mm OD x 9.5mm L

2шт.

179835

BOLT,Hex, 3/8" - 16 x 5/8", Gr 5, Full Thd

4шт.

29

F19646

LOCK NUT,13/16"-20, Thin

NUT, steering shaft hex

1шт.

30

3129261R1

BRACKET

tube retaining

1шт.

31

57577C1

CHECK VALVE

VALVE ASSY, check

1шт.

32

364839R1

O-RING,0.078" Thk x 0.468" ID, -906, Cl 6, 90 Duro

6-1, 90 Duro, .468" ID x .078" Thk, 3/8 OD tube, class 6

3шт.

Выбрано товаров: 49