Запчасти Case IH 685 (6-416) - GEAR SHIFT MECHANISM - SPEED TRANS. - (06) - POWER TRAIN

Схема запчастей Case IH 685 - (6-416) - GEAR SHIFT MECHANISM - SPEED TRANS. - (06) - POWER TRAIN
31
15
24
36
3
11
16
33
12
22
19
9
30
25
4
2
32
14
13
21
37
10
5
22
27
1
23
29
17
20
28
35
34
6
7
26
18
8
24
FIT
1:1
100%

Артикул

Название

Примечание

Количество

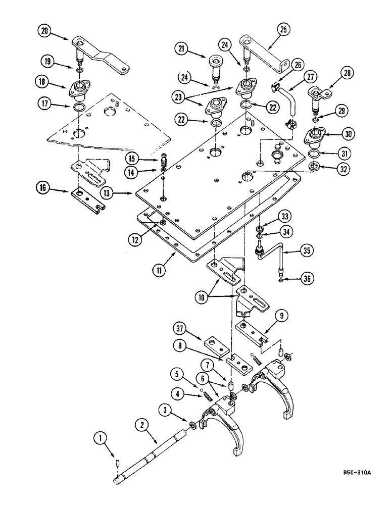
1

25155R1

PIN,1/4" x 1 1/4", Coiled

1шт.

2

3129154R1

RAIL

speed shift fork

1шт.

3

661652R1

SNAP RING,#75, Ext

4шт.

4

103062C1

SPRING

2шт.

5

17013R1

BALL,13/32" Dia

2шт.

6

1500245C91

FORK

ASSY., with: Ref. 7

2шт.

7

1500656C1

DOWEL

2шт.

8

3129171R2

ARM

3rd and 4th speed, speed train type B, E models 685 and 885 Use S/N 18001 and, Start Serial: up

1шт.

8

3129171R2

ARM

speed train type B, E model 685 to Use up to S/N 13595

1шт.

8

3129171R2

ARM

speed train type B, E model 885 to Use up to S/N 3401

1шт.

9

3129167R2

ARM

1st and 2nd speed

1шт.

10

1500249C2

LARGE PLATE

PLATE, LARGE interlock

2шт.

30019R1

BOLT,Hex, M10 x 1.5 x 20mm, Cl 10.9, Full Thd

2шт.

30327R1

WASHER,M10 x 21.5 x 2.5, HT

2шт.

11

401621R3

GASKET

1шт.

12

21332R1

SNAP RING,#68, Ext

1шт.

13

99495C91

COVER

ASSY., speed train type, B, E models 685 and 885 Use S/N 18001 and, Start Serial: up

1шт.

13

3129161R91

COVER ASSY

speed train type B, E model 685 to Use up to S/N 13595

1шт.

13

3129161R91

COVER ASSY

speed train type B, E model 885 to Use up to S/N 3401

1шт.

13

99492C91

COVER

ASSY., speed train type A, D models 685 and 885 Use S/N 18001 and, Start Serial: up

1шт.

13

3129163R91

COVER ASSY

speed train type A, D model 685 to Use up to S/N 13595

1шт.

13

3129163R91

COVER ASSY

speed train type A, D model 885 to Use up to S/N 3401

1шт.

3129159R1

STUD

1шт.

24901R1

PLUG,Cup, 3/8"

1шт.

349373R1

PLUG

1шт.

179816

BOLT,Hex, 5/16" - 18 x 3/4", Gr 5

1шт.

179838

BOLT,Hex, 3/8" - 16 x 7/8", Gr 5, Full Thd

16шт.

11002VA

WASHER

1шт.

13

1288497C91

COVER

ASSY., speed train type A, D models 685 and 885 Use S/N 18001 and, Start Serial: up

1шт.

13

1288497C91

COVER

ASSY., version with torque amplifier

1шт.

13

99497C91

COVER

ASSY., version with forward and reverse, speed train type A, D model 685 to Use up to S/N 13595

1шт.

13

99497C91

COVER

ASY., version with forward and reverse, version with torque amplifier

1шт.

13

99497C91

COVER

ASSY., version with forward and reverse, speed train type A, D model 885 to Use up to S/N 3401

1шт.

13

1288496C91

COVER

ASSY., speed train type B, E models 685 and 885 Use S/N 18001 and, Start Serial: up

1шт.

13

1288496C91

COVER

ASSY., version with torque amplifier

1шт.

13

99498C91

COVER

ASSY., speed train type B, E model 685 to Use up to S/N 13595

1шт.

13

99498C91

COVER

ASSY., speed train type B, E model 885 to Use up to S/N 3401

1шт.

13

99498C91

COVER

ASSY., version with torque amplifier

1шт.

3129159R1

STUD

1шт.

24901R1

PLUG,Cup, 3/8"

1шт.

349373R1

PLUG

2шт.

179816

BOLT,Hex, 5/16" - 18 x 3/4", Gr 5

4шт.

179837

BOLT,Hex, 3/8" - 16 x 3/4", Gr 5

2шт.

179839

BOLT,Hex, 3/8" - 16 x 1", Gr 5

14шт.

14

371544R1

O-RING,0.07" Thk x 0.551" ID, -15, Cl 5, 75 Duro

1шт.

15

3129200R1

ADAPTER

1шт.

16

3129167R2

ARM

3rd and 4th speed, speed train type A, D model 685 and 885 Use S/N 18001 and, Start Serial: up

1шт.

16

3129167R2

ARM

3rd and 4th speed, spped train type A, D model 685 to Use up to S/N 13595

1шт.

16

3129167R2

ARM

3rd and 4th speed, spped train type A, D model 885 to Use, Start Serial: up

1шт.

17

391733R1

O-RING,0.07" Thk x 1.114" ID, -24, Cl 6, 90 Duro

2шт.

18

3129165R2

HOUSING

1шт.

179816

BOLT,Hex, 5/16" - 18 x 3/4", Gr 5

2шт.

19

392385R1

O-RING,0.07" Thk x 0.614" ID, -16, Cl 6, 90 Duro

1шт.

20

3129174R1

ARM ASSY.

3rd and 4th speed, speed train type A, D model 685 and 885 Use S/N 18001 and, Start Serial: up

1шт.

20

3129174R1

ARM ASSY.

3rd and 4th speed, speed train type A, D model 685 to Use up to S/N 13595

1шт.

20

3129174R1

ARM ASSY.

3rd and 4th speed, speed train type A, D model 885 to Use, Start Serial: up

1шт.

19605R1

LOCK NUT,1/2"-13, GB

1шт.

131-208

SPECIAL NUT,1/2"-13

optional

1шт.

21

1277030C1

PIVOT ASSY.

speed train type B, E models 685 and 885 Use s/N 18001 and, Start Serial: up

1шт.

21

1277030C1

PIVOT ASSY.

speed train type B, E model 685 to Use up to S/N 13595

1шт.

21

1277030C1

PIVOT ASSY.

speed train type B, E model 885 to Use up to S/N 3401

1шт.

19605R1

LOCK NUT,1/2"-13, GB

1шт.

22

391733R1

O-RING,0.07" Thk x 1.114" ID, -24, Cl 6, 90 Duro

2шт.

23

3129165R2

HOUSING

2шт.

179816

BOLT,Hex, 5/16" - 18 x 3/4", Gr 5

3шт.

120376

NUT,5/16"-18, G5

1шт.

103320

LOCK WASHER,5/16"

1шт.

24

392385R1

O-RING,0.07" Thk x 0.614" ID, -16, Cl 6, 90 Duro

2шт.

25

3129166R1

ARM ASSY.

1st and 2nd speed

1шт.

19605R1

LOCK NUT,1/2"-13, GB

1шт.

131-208

SPECIAL NUT,1/2"-13

optional

1шт.

26

534421R1

HOSE CLAMP

2шт.

26

279025R91

HOSE CLAMP,#06, .44/.78 Type F Worm

2шт.

26

3112550R1

CLAMP

hose, optional

2шт.

27

1500242C1

HOSE,6.75 mm ID, 12.7 mm OD, 92 mm Length

1шт.

28

3129172R1

ARM ASSY.

3rd and 4th speed,speed train type B, E models 685 and 885 Use S/N 18001 and, Start Serial: up

1шт.

28

3129172R1

ARM ASSY.

speed train type B, E model 685 to Use up toS/N 13595

1шт.

28

3129172R1

ARM ASSY.

speed train type B, E model 885 to Use up to S/N 3401

1шт.

19605R1

LOCK NUT,1/2"-13, GB

1шт.

131-208

SPECIAL NUT,1/2"-13

optional

1шт.

29

392385R1

O-RING,0.07" Thk x 0.614" ID, -16, Cl 6, 90 Duro

Speed train type B, E models 685 and 885 Use S/N 18001 and, Start Serial: up

1шт.

29

392385R1

O-RING,0.07" Thk x 0.614" ID, -16, Cl 6, 90 Duro

Speed train type B, E model 685 to Use up to S/N 13595

1шт.

29

392385R1

O-RING,0.07" Thk x 0.614" ID, -16, Cl 6, 90 Duro

Speed train type B, E model 885 to Use up to S/N 3401

1шт.

30

3129165R2

HOUSING

speed train type B, E models 685 and 885 Use S/N 18001 and, Start Serial: up

1шт.

30

3129165R2

HOUSING

speed train type B, E model 685 to Use up to S/N 13595

1шт.

30

3129165R2

HOUSING

speed train type B, E model 885 to Use up to S/N 3401

1шт.

179816

BOLT,Hex, 5/16" - 18 x 3/4", Gr 5

2шт.

31

391733R1

O-RING,0.07" Thk x 1.114" ID, -24, Cl 6, 90 Duro

speed train type B, E models 685 and 885 Use S/N 18001 and, Start Serial: up

1шт.

31

391733R1

O-RING,0.07" Thk x 1.114" ID, -24, Cl 6, 90 Duro

speed train type B, E model 685 to Use up to S/N 13595

1шт.

31

391733R1

O-RING,0.07" Thk x 1.114" ID, -24, Cl 6, 90 Duro

speed train type B, E model 885 to Use up to S/N 3401

1шт.

32

1500250C1

SPACER

speed train type B, E models 685 and 885 Use S/N 18001 and, Start Serial: up

1шт.

32

1500250C1

SPACER

speed train type B, E model 685 to Use up to S/N 13595

1шт.

32

1500250C1

SPACER

speed train type B, E model 885 to Use up to S/N 3401

1шт.

33

269181R1

SNAP RING,#75, Ext

#75, Ext

1шт.

34

379181R1

O-RING,0.614" ID x 0.07" Width

1шт.

35

3129164R1

TUBE ASSY.,0.25" OD, 190.5, 83 mm Length

1шт.

36

A27358

O-RING,0.07" Thk x 0.239" ID, -10, Cl 5, 75 Duro

1шт.

37

1277031C1

LARGE PLATE

PLATE, LARGE speed train type B, E model 685 to Use up to S/N 13595

1шт.

37

1277031C1

LARGE PLATE

PLATE, LARGE speed train type B, E model 885 to Use up to S/N 3401

1шт.

37

1277031C1

LARGE PLATE

PLATE, LARGE BAR, speed train type B, E models 685 and 885 Use S/N 18001 and, Start Serial: up

1шт.

Выбрано товаров: 100