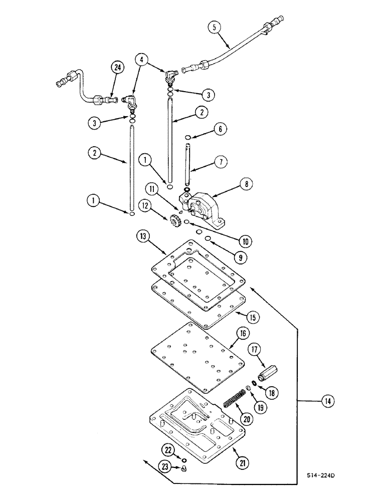
Запчасти Case IH 685 (8-608) - HYDRAULIC PUMP AND CONNECTIONS, 685 : -13595 885 : -3401 VERSION W/ TORQUE AMPLIFIER (08) - HYDRAULICS

Схема запчастей Case IH 685 - (8-608) - HYDRAULIC PUMP AND CONNECTIONS, 685 : -13595 885 : -3401 VERSION W/ TORQUE AMPLIFIER (08) - HYDRAULICS
11
3
8
22
19
18
15
24
16
21
1
4
2
17
7
23
9
6
10
12
20
14
2
3
1
5
13
FIT
1:1
100%

Артикул

Название

Примечание

Количество

1

252739R1

O-RING,0.103" Thk x 0.487" ID, -112, Cl 5, 75 Duro

4шт.

2

402545R1

PRESSURE PIPE

TUBE

2шт.

3

570828R1

O-RING,0.087" Thk x 0.644" ID, -908, Cl 6, 90 Duro

2шт.

4

9410977

ELBOW,90 Degree, 3/4"-16, 37 Degree x 3/4"-16, O-Ring

90 degree

2шт.

5

66116C2

TUBE ASSY.,0.5" OD, 13.04, 2.26" Length

torque amplifier

1шт.

6

382997R1

O-RING,0.07" Thk x 0.489" ID, -14, Cl 6, 90 Duro

2шт.

7

402544R1

SUCTION PIPE

TUBE

1шт.

8

402540R91

PUMP, HYDRAULIC

1шт.

179841

BOLT,Hex, 3/8" - 16 x 1 1/4", Gr 5

2шт.

103321

LOCK WASHER,3/8"

2шт.

9

574069R1

O-RING,0.750" ID x .062"

1шт.

10

128359

O-RING,0.07" Thk x 0.614" ID, -16, Cl 5, 75 Duro

2шт.

11

427261

KEY

1шт.

12

527758R1

GEAR

19 T

1шт.

115548

LOCK WASHER,Int Tooth, 5/16"

1шт.

114493

JAM NUT,Jam, 5/16"-24, G5

1шт.

13

402556R2

GASKET

1шт.

14

402547R96

VALVE

ASSY., consists of: Ref. 15 - 23

1шт.

15

402554R1

PLATE

1шт.

16

402555R2

GASKET

1шт.

17

NSS

NOT SOLD SEPARAT

PLUG short, order P/N 65732C91

1шт.

NSS

NOT SOLD SEPARAT

PLUG long, order P/N 1502344C93

1шт.

18

570828R1

O-RING,0.087" Thk x 0.644" ID, -908, Cl 6, 90 Duro

1шт.

19

NSS

NOT SOLD SEPARAT

SHIM, order P/N 65732C91

1шт.

20

NSS

NOT SOLD SEPARAT

SPRING, order P/N 65732C91, 1502344C93

1шт.

21

402548R1

BODY

1шт.

179842

SPACER

BOLT, 3/8 x 35 mm

11шт.

103321

LOCK WASHER,3/8"

11шт.

22

369751R2

O-RING

11шт.

23

9410356

PLUG

1шт.

24

66117C1

TUBE ASSY.

1шт.

534263R91

SEALING RING

PACKAGE seals, not illustrated

1шт.

1502344C93

PACKAGE

regulator valve service, not illustrated

1шт.

Выбрано товаров: 33